1-520/14 | 1-520/14 |
23 OKTOBER 1997
Evocatieprocedure
De commissie heeft bij haar onderzoek van dit ontwerp kennis genomen van het advies dat werd uitgebracht door de commissie voor de Financiën (Stuk Senaat, nr. 520-12) op 9 oktober 1997.
Alvorens de bespreking aan te vatten, heeft de commissie tevens een aantal hoorzittingen georganiseerd, die hebben plaatsgehad op 15 april, 11 en 25 juni en 1, 8 en 15 juli 1997.
A. Uiteenzetting door de heer Vander Steichel, directeur van het Belgisch werk tegen kanker en woordvoerder van de Nationale Coalitie tegen tabak
De heer Vander Steichel dankt de Commissie voor de uitnodiging. De Nationale Coalitie tegen tabak omvat la FARES (Fondation contre les affections respiratoires et pour l'éducation de la santé), het KKAT (Koördinatie Komitee Algemene Tabakspreventie), l'OEuvre belge du cancer, de Vereniging voor Kankerbestrijding/l'Association contre le cancer, de Vlaamse Kankerliga en de VRGT (Vlaamse Vereniging voor Respiratoire Gezondheidszorg en Tuberculosebestrijding).
Hij verklaart dat de anti-tabaksorganisaties vijf instrumenten noodzakelijk achten om te komen tot een substantiële vermindering van het roken. Deze zijn :
· een totaal verbod op tabaksreclame,
· een afradend beleid tegenover het roken,
· preventieve maatregelen tegenover jongeren,
· een gevoelige beperking van het aantal plaatsen waar gerookt mag worden, zowel in het belang van de rokers als van de niet-rokers en
· het aanbieden van hulp aan personen die van hun verslaving willen afraken.
Deze vijf actiepunten hebben geenszins tot doel een oorlog te ontketenen tegen de rokers, maar zijn erop gericht de ernstige en nadelige gevolgen van het tabaksgebruik terug te dringen, in het belang van de gezondheid van de bevolking.
De heer Vander Steichel merkt op dat de gevolgen van het roken op de gezondheid van velerlei aard zijn. Hij zal zich in zijn cijfermateriaal vooral richten op de mortaliteit ten gevolge van tabaksgebruik, die echter de spreekwoordelijke top van de ijsberg is.
Velen onderschatten nog steeds de gevolgen van het roken op de mortaliteit. Om een idee hiervan te geven, is het daarom nuttig te verwijzen naar een beeld dat enkele jaren geleden werd gebruikt door de voorzitter van de Wereldgezondheidsorganisatie. Alleen al in de geïndustrialiseerde wereld komt het aantal doden ten gevolge van het roken overeen met 19 jumbo's die dagelijks crashen zonder overlevenden. Het spreekt voor zich dat de overheid maatregelen zou nemen indien dit zich ook in werkelijkheid zou voordoen.
Daar staat evenwel tegenover dat het zeer moeilijk is de beleidsmakers ervan te overtuigen dat een verbod moet worden opgelegd op het stimuleren van tabaksgebruik via reclame. Het betreft hier derhalve niet een vraag naar een verbod op tabaksgebruik als dusdanig.
Wat de concrete cijfers betreft, staat het vast dat momenteel in de geïndustrialiseerde wereld drie miljoen mensen per jaar of zes per minuut sterven aan de gevolgen van het roken. In het Europa van de 12 bedroeg dit in 1990, 510 000 personen. Deze cijfers gaan nog met het jaar omhoog en indien er geen maatregelen worden genomen, mag men ervan uitgaan dat over 20 jaar het mortaliteitscijfer in de geïndustrialiseerde landen op 20 miljoen zal liggen.
Extrapolaties wijzen uit dat in de periode 1959-2000 in de geïndustrialiseerde landen 60 miljoen mensen zullen zijn gestorven door tabaksgebruik, waarvan 40 miljoen in de leeftijdscategorie van 35 tot 69 jaar. Dit laatste is niet alleen belangrijk vanuit economisch oogpunt. Het betekent op het individuele vlak dat de levensverwachting van rokers gevoelig lager ligt dan die van niet-rokers. Voor rokers in de vermelde leeftijdscategorie zou dit verschil 22 jaar bedragen.
Goed gedocumenteerde studies wijzen uit dat personen die op jonge leeftijd beginnen roken en hiermee doorgaan als volwassene, één kans op twee hebben om ten gevolge van tabaksgebruik te sterven. Daarnaast moet nog rekening worden gehouden met de andere gevolgen van het tabaksgebruik voor de gezondheid.
Wanneer men in de geïndustrialiseerde landen de voornaamste doodsoorzaken in de leeftijdsgroep van 35 tot 69 jaar naast elkaar zet, stelt men vast dat tabaksgebruik verantwoordelijk is voor :
· 94 % van de longkankers,
· 18 % van de andere kankers,
· 82 % van de chronische longziekten,
· 33 % van de cardio-vasculaire ziekten.
Roken is verantwoordelijk voor 35 % van alle doodsoorzaken samen in deze leeftijdsgroep en voor ongeveer de helft van alle kankergevallen.
Sommigen merken in dit verband op dat in zowat elke menselijke activiteit een risico schuilt, maar dat dit nog geen reden hoeft te zijn om deze activiteit niet langer uit te oefenen. Deze redenering is gedeeltelijk juist, maar ze houdt geen rekening met het verschil in graad tussen de gevaren van roken en van andere activiteiten.
Zo blijkt uit onderzoek van gezaghebbende instituten in de Verenigde Staten dat er per miljoen personen die de betrokken activiteit uitoefenen per jaar :
· 7 000 sterven aan de gevolgen van roken;
· 541 sterven aan de rechtstreekse (ziekte) en onrechtstreekse (ongevallen) gevolgen van alcoholgebruik;
· 187 sterven bij auto-ongevallen;
· 113 sterven bij arbeidsongevallen;
· 19 sterven ten gevolge van passief roken;
· 6 sterven ten gevolge van andere vormen van luchtvervuiling;
· 6 sterven bij het beoefenen van een sport.
In de Verenigde Staten gaat men ervan uit dat voor het geheel van de bevolking een of andere vorm van verslaving verantwoordelijk is voor 7,7 % van de doodsoorzaken. Zes procent hiervan is het gevolg van roken, 1,5 % van alcoholgebruik en 0,2 % van andere drugs.
Er is derhalve een duidelijk graadverschil tussen het risico van tabaksverslaving en dat van alcoholverslaving. Daarnaast is er tussen beide echter ook nog een ander verschil. Roken heeft negatieve gevolgen vanaf de eerste sigaret. Daar staat tegenover dat algemeen wordt aangenomen dat alcoholgebruik in beperkte hoeveelheden niet slecht is voor de gezondheid en op bepaalde vlakken zelfs positieve resultaten kan hebben.
Wanneer men de cijfers voor België vergelijkt met die in het buitenland, doet men vergelijkbare vaststellingen. In de leeftijdscategorie van 35 tot 69 jaar zijn vrijwel alle (2 800 op een totaal van 2 900) longkankers bij mannen het gevolg van tabaksgebruik. Roken ligt voor 56 % aan de basis van alle kankers samen en is voor 30 % verantwoordelijk voor de overlijdens ten gevolge van cardio-vasculaire ziekten.
De cijfers voor de vrouwen in dezelfde leeftijdsgroep zijn minder ernstig, maar, zoals uit de evolutie over de verschillende jaren blijkt, heeft dit alleen te maken met het feit dat de vrouwen bij ons pas in de jaren vijftig en zestig massaal zijn beginnen roken.
Dit betekent ook dat de zaken er de komende jaren globaal niet zullen op verbeteren.
Heeft het vanuit het oogpunt van de gezondheid zin te stoppen met roken ? Het antwoord hierop is onmiskanbaar positief. Opdat echter de gevolgen van het roken volledig zouden verdwijnen en de levensverwachting volledig op een normaal peil zou komen, moet het tabaksgebruik worden stopgezet vóór de leeftijd van 35 jaar.
De positieve gevolgen van het stoppen met roken manifesteren zich vrij snel op het cardio-vasculaire vlak. Wat het kankerrisico betreft daarentegen, evolueert de situatie veel minder snel. Tot 15 à 20 jaar na het stoppen met roken kan er een verhoogd risico op kanker blijven bestaan.
De heer Vander Steichel merkt op dat de geciteerde cijfers, die algemeen gekend zijn, door sommigen in vraag worden gesteld. Hij legt er evenwel de nadruk op dat hier eerder het gevaar van onderschatting dan van overschatting bestaat. Men stelt immers nog steeds nieuwe relaties vast tussen bepaalde ziekten en het gebruik van tabaksproducten. Zo is pas recent gebleken dat roken het risico van pancreaskanker verdubbelt en dat van prostaatkanker met de helft doet toenemen. Daarbij komt dat er vaak wel een onmiskenbaar verband wordt vastgesteld, maar dat het jaren kan duren vooraleer dit wetenschappelijk kan worden verklaard.
Zo weet men reeds sinds de jaren vijftig dat de longkankers voor een zeer groot deel het gevolg zijn van roken, maar pas recent heeft men hiervoor een chemische verklaring gevonden.
De nadelige gevolgen van roken voor anderen dan de roker zelf zijn vast te stellen van bij de geboorte van een kind. De risico's van tabaksgebruik door de moeder voor het kind zijn gekend : een verhoogde kans op miskraam, vroeggeboorten, wiegendood, longaandoeningen, enz. Uit onderzoek blijkt evenwel dat ook tabaksgebruik van de vader ernstige risico's voor het kind kan meebrengen. Zo wijst een studie van de universiteit van Birmingham uit dat de kans op kanker tijdens de kinderjaren verhoogt met 3 % wanneer de vader een lichte roker is (1 tot 9 sigaretten per dag). Dit wordt 31 % bij matige rokers (10 tot 20 sigaretten per dag) en 42 % bij zware rokers. De oorzaak hiervan ligt in de genetische afwijkingen ten gevolge van het tabaksgebruik.
Ook voor volwassenen die zelf niet roken, maar veelvuldig in het gezelschap zijn van rokers is er een verhoogd gezondheidsrisico. Zo neemt de kans op longkanker toe met 25 %. Het aantal overlijdens ten gevolge van passief roken kan in Europa jaarlijks op 1 000 à 4 000 worden geraamd.
De heer Vander Steichel wenst ten slotte de aandacht te vestigen op het gevaar van het roken op jonge leeftijd. Het is algemeen geweten, en dit blijkt ook uit wetenschappelijk onderzoek, dat roken op jeugdige leeftijd de kans verhoogt dat men ook als volwassene roker blijft. Roken op jonge leeftijd, ongeacht de hoeveelheid of de duur, verhoogt evenwel ook als dusdanig het risico op longkanker wanneer men ouder is. Louter het uistellen van het ogenblik waarop men begint te roken heeft derhalve al minder negatieve gevolgen voor de gezondheid. Dit is belangrijk in het debat over de tabaksreclame, die zich vaak tot de jongeren richt.
Een lid merkt op dat niemand nog twijfelt aan de schadelijke gevolgen van het roken voor de gezondheid en wat dit betreft kan hij het betoog van de heer Vander Steichel onderschrijven.
Wel wenst hij meer precieze gegevens over het onderzoek van de universiteit van Birmingham, waaruit een relatie zou blijken tussen het rookgedrag van de vader en de gezondheidsrisico's hiervan voor de kinderen. Waaruit bestaan de genetische afwijkingen waarover de spreker het had ?
Over de negatieve invloed van het passief roken op de gezondheid is er in wetenschappelijke kringen ook een consensus gegroeid. Toch is deze zeer moeilijk te meten en op dit vlak kunnen de resultaten van onderzoeken nogal uit elkaar lopen. Op welk soort studies zijn de hier vermelde resultaten gebaseerd ?
De heer Vander Steichel antwoordt dat het onderzoek in Birmingham een relatie vaststelt tussen het rookgedrag van de vader en de gezondheidsrisico's voor het kind. Een verklaring hiervoor is nog niet gevonden maar er is een sterk vermoeden dat het fenomeen een gevolg is van genetische deficiënties. De situatie is enigszins vergelijkbaar met die in het onderzoek naar de oorzaak van longkanker. Ook daar heeft het decennia geduurd vooraleer het duidelijke verband tussen deze ziekte en het roken kon worden verklaard. Deze verklaring lag in een afwijking van het gen P53 ten gevolge van het roken.
Wat de gevolgen van het passief roken betreft, wenst hij er evenwel de nadruk op te leggen dat er in wetenschappelijke kringen geen enkele twijfel meer is over het feit dat personen die gedurende lange periodes dus niet occasioneel met rokers in contact komen, een verhoogd risico op longkanker hebben.
Het is inderdaad zo dat de precieze impact hiervan moeilijk te meten is. Vandaar ook dat tijdens de uiteenzetting een ruime marge van 1 000 tot 4 000 overlijdens per jaar binnen de Europese Unie in acht werd genomen. Binnen een dergelijke marge is er geen discussie meer mogelijk, en de aantallen zijn voldoende belangrijk om een verbod op roken in bepaalde plaatsen te verantwoorden.
De heer Vander Steichel merkt op dat hij in dit verband bewust geen melding heeft gemaakt van de mogelijke gevolgen van het passief roken op het cardio-vasculaire vlak. Hoewel er ook hier aanwijzingen zijn van een negatieve invloed, zijn de wetenschappelijke bronnen te verdeeld om tot vaststaande besluiten te komen.
Een andere spreker vraagt of er qua gezondheidsrisico een onderscheid kan worden gemaakt tussen de soorten tabak die worden gebruikt en de wijze waarop die worden gerookt ?
De heer Vander Steichel antwoordt dat er inderdaad verschillen zijn, maar dat die alleen duidelijk meetbaar zijn bij personen die altijd dezelfde soort tabak hebben gebruikt en die altijd op dezelfde wijze hebben gerookt.
Pijprokers of sigarenrokers ademen de rook normaal niet in en ontwikkelen daardoor verhoudingsgewijs meer lokale kankers rond de mond (mond, lippen, tong,...). Bij sigarettenrokers daarentegen stelt men meer keel- en longkankers en kankers van de ingewanden vast.
Binnen deze laatste groep kan het type van longkanker verschillen naargelang de sigaretten meer nicotine en teer bevatten. Rokers van lichte sigaretten ontwikkelen meer perifere longkankers.
De situatie wordt ingewikkelder wanneer personen hun rookgedrag wijzigen. Rokers die van sigaretten overgaan naar sigaren of een pijp, zullen ten gevolge van hun verslavingsgedrag toch de rook geheel of gedeeltelijk inademen en daardoor meer inwendige kankers ontwikkelen. Wie van zware sigaretten overgaat naar lichte heeft de neiging meer te gaan roken of dieper in te ademen om toch dezelfde hoeveelheid nicotine binnen te krijgen. Vanzelfsprekend zullen ook zij meer kankers ontwikkelen die eigen zijn aan rokers van zware sigaretten.
De heer Joossens zal in zijn betoog nader ingaan op de volgende vier zaken :
1. De evolutie van het rookgedrag in ons land.
2. Tabaksreclame : een debat dat reeds 20 jaar duurt.
3. Het effect van een verbod inzake tabaksreclame op het verbruik.
4. Het effect van een verbod inzake tabaksreclame op de tewerkstelling.
Campagnes tegen roken bestaan in ons land ongeveer twintig jaar. Zij hebben ons onder meer twee zaken geleerd.
Ten eerste dat het mogelijk is een invloed te hebben op de rookgewoonten, aangezien het percentage rokers drastisch gedaald is in de periode 1982-1993, van 40 % naar 25 %.
Ten tweede dat het percentage rokers opnieuw stijgt, wanneer er onvoldoende inspanningen worden geleverd : het percentage rokers bij volwassenen is terug gestegen van 25 % in 1993 tot 30 % in 1996.
Het percentage regelmatige/dagelijkse
rokers in België
(18 jaar en ouder)
| Mannen | Vrouwen | Totaal | |
| 1982 | 53 % | 28 % | 40 % |
| 1983 | 47 % | 27 % | 37 % |
| 1984 | 47 % | 26 % | 36 % |
| 1985 | 45 % | 27 % | 35 % |
| 1986 | 46 % | 26 % | 35 % |
| 1987 | 42 % | 26 % | 32 % |
| 1988 | 42 % | 24 % | 32 % |
| 1989 | 39 % | 26 % | 32 % |
| 1990 | 38 % | 26 % | 32 % |
| 1991 | 33 % | 24 % | 29 % |
| 1992 | 31 % | 21 % | 26 % |
| 1993 | 31 % | 19 % | 25 % |
| 1994 | 33 % | 19 % | 26 % |
| 1995 | 33 % | 24 % | 28 % |
| 1996 | 34 % | 27 % | 30 % |
Bron : OIVO SOBEMAP
Het percentage regelmatige/dagelijkse
rokers in Vlaanderen en Wallonië
(18 jaar en ouder)
| Vlanderen | Wallonië | Verschil | |
| 1982 | 39 % | 42 % | + 3 % |
| 1983 | 35 % | 40 % | + 5 % |
| 1984 | 34 % | 40 % | + 6 % |
| 1985 | 35 % | 36 % | + 1 % |
| 1986 | 36 % | 36 % | |
| 1987 | 30 % | 34 % | + 4 % |
| 1988 | 31 % | 33 % | + 2 % |
| 1989 | 30 % | 34 % | + 4 % |
| 1990 | 28 % | 32 % | + 4 % |
| 1991 | 25 % | 33 % | + 8 % |
| 1992 | 23 % | 29 % | + 6 % |
| 1993 | 23 % | 26 % | + 3 % |
| 1994 | 23 % | 30 % | + 7 % |
| 1995 | 27 % | 29 % | + 2 % |
| 1996 | 30 % | 31 % | + 1 % |
Bron : OIVO SOBEMAP
Nog erger is het gesteld bij de jeugd, waar vergelijkend onderzoek bij de Vlaamse jongeren in de periode 1990-1996 heeft uitgewezen dat tieners steeds vroeger en steeds meer naar de sigaret grijpen.
Meer dan 10 000 jongeren rookten op 11-12 jarige leeftijd hun eerste sigaret. Op 13-14 jarige leeftijd was dit aantal meer dan verdubbeld (24 000). Op 15-16 en op 17-18 jarige leeftijd hadden ongeveer 38 000 jongeren hun eerste sigaret gerookt.
Het dagelijks roken is significant vanaf de leeftijd van 13-14 jaar, maar vooral op 15-16 jarige leeftijd is het dagelijks roken opmerkelijk.
Dagelijkse rokers bij 11-18 jarigen
in Vlaanderen in de periode 1990-1996 (in %)
1
| Leeftijd Âge |
Jongens Garçons |
Meisjes Filles |
||||
| 1990 | 1994 | 1996 | 1990 | 1994 | 1996 | |
| 11-12 jaar. 11-12 ans | > 1 | 1 | 1 | > 1 | > 1 | > 1 |
| 13-14 jaar. 13-14 ans | 4 | 8 | 5 | 3 | 5 | 5 |
| 15-16 jaar. 15-16 ans | 14 | 24 | 25 | 12 | 13 | 18 |
| 17-18 jaar. 17-18 ans | 26 | 33 | 35 | 14 | 18 | 28 |
Bron : Maes, L., Van de Mierop, E., Jongeren en gezondheid, Universiteit Gent en Universitaire Instelling Antwerpen, 1996, gebaseerd op steekproeven van 4 207 leerlingen in 1990, 10 414 leerlingen in 1994 en 4 437 leerlingen in 1996.
De heer Joossens geeft hierna een overzicht van de wetgevende en politieke initiatieven in verband met de vermindering van het tabaksgebruik gedurende de jongste 20 jaar.
· 24 januari 1977 : artikel 7, § 2, van de wet ter bescherming van de gezondheid van de verbuikers op het stuk van de voedingsmiddelen en andere producten bepaalt : « In het belang van de volksgezondheid kan de Koning regels stellen en algehele of gedeeltelijke verbodsmaatregelen voorschrijven in verband de reclame omtrent tabak, producten op basis van tabak en soortgelijke producten; »
· April 1979 : Eddy Merckx maakt reclame voor een teerarme sigaret en lokt grote verontwaardiging uit...
· 5 maart 1980 : eerste koninklijk besluit over tabaksreclame dat ondermeer voorziet in een verbod via affiches vanaf 1 januari 1982, wegens van de impact hiervan op de jeugd.
· 22 september 1980 : tweede koninklijk besluit dat het eerste preciseert en bepaalt dat de merknaam en het merkteken op de uitrusting van deelnemers van sportwedstrijden kan aan worden gebracht.
· 21 januari 1982 : derde koninklijk besluit dat ondermeer het verbod op tabaksreclame-affiches met één jaar uitstelt.
· 2 december 1982 : artikel 13 van het decreet van de Franse Gemeenschap bepaalt dat de koninklijke besluiten van 5 maart 1980, 22 september 1980 en 21 januari 1982 decreetwaarde hebben.
· 20 december 1982 : vierde koninklijk besluit dat de vorige koninklijke besluiten vervangt : het verbod op affichage wordt ingetrokken en een verbod op imagoreclame wordt ingevoerd. Reclame in de pers of via affiches is toegelaten, op voorwaarde dat ze enkel de volgende elementen bevat : naam en adres van de fabrikant, invoerder of verdeler, de benaming en aard van de producten, merk en merkteken, afbeeldingen van de producten en van gebruiksvoorwerpen die rechtstreeks met het tabaksverbruik te maken hebben, de gehalten aan teer en nicotine, de gegevens over prijs en hoeveelheid.
· Vanaf 1983 wordt de wetgeving massaal omzeild en overtreden door het voeren van imagoreclame, gebaseerd op thema's uit de tabaksreclame, voor lucifers, aanstekers, reisagentschappen en dergelijke. Deze indirecte reclame was onbestaande in 1982. Het budget voor indirecte tabaksreclame bedroeg 17 miljoen in 1983 en steeg tot 60 miljoen in 1990. Dit zal leiden tot diverse klachten vanwege de minister van Volksgezondheid. Het parket van Brussel heeft in de periode 1983-1989, 15 processen verbaal opgemaakt. De tabakfirma's zullen uiteindelijk pas 10 jaar later, in november 1992, tot fikse boetes veroordeeld worden.
· De Vlaamse minister bevoegd voor de Volksgezondheid heeft een voorstel van decreet klaar om tabaksreclame in Vlaanderen te verbieden. Er is discussie over wie bevoegd is voor tabaksreclame (de gemeenschappen of de federale overheid).
· 1987 : in opdracht van de minister van Volksgezondheid wordt een uitgebreid rapport (300 blz.), gepubliceerd over het effect van tabaksreclame. Het rapport besluit dat tabaksreclame vooral jongeren weet te bereiken en te beïnvloeden.
· 1987 : er is een spontane en publieke verontwaardiging naar aanleiding van de reclame voor het merk Claremont, waarbij twee jongeren op een motto worden afgebeeld. De campagne geeft aanleiding tot spuitbusacties van jongeren, een kinderarts en een Euro-parlementslid Ulburghs (SP).
· In de periode 1986-1995 worden er in het Parlement diverse voorstellen ingediend om tabaksreclame volledig te verbieden, ondermeer door Winkel (Ecolo), Blanpain (VU), Lenfant (PSC), Dielens (SP), Di Rupo (PS), Cuyvers (Agalev), enz.
· 15 september 1988 : de Raad van State, afdeling wetgeving, geeft advies aan de staatssecretaris van Volksgezondheid over een wijziging van het koninklijk besluit van 20 december 1982.
· 27 februari 1989 : in een nieuw advies van de Raad van State wordt duidelijk gesteld dat de nationale wetgever bevoegd is voor tabaksreclame.
· 23 maart 1989 : wijziging van de wet van 24 januari 1977 door de wet van 23 maart 1989. De Koning krijgt de bevoegdheid om, naast tabaksreclame, ook alcoholreclame te reglementeren.
· 14 maart 1990 : mede onder de impuls van Euro-parlementsleden Pinxten (CVP) en Di Rupo (PS) stemt het Europees Parlement voor een volledig verbod op tabaksreclame (170 voor, 111 tegen en 17 onthoudingen).
· 10 april 1990 : vijfde koninklijk besluit over tabaksreclame waarbij het de bedoeling is indirecte reclame aan banden te leggen.
· 17 mei 1991 : de Europese Commissie legt een voorstel van richtlijn neer die voorziet in een volledig verbod op tabaksreclame;
· 22 mei 1991 : in een hoorzitting van de commissies Volksgezondheid van de Kamer en de Senaat wordt vastgesteld dat de indirecte tabaksreclame niet is verdwenen. Reclame voor aanstekers en lucifers wordt vervangen door reclame voor diensten (zoals reisagentschappen) en reclame voor sportwedstrijden die door de tabaksindustrie worden gesponsord. In 1995 wordt er steeds voor 140 miljoen aan indirecte tabaksreclame uitgegeven.
· 5 februari 1992 : in een arrest van het Arbitragehof wordt het decreet van de Franstalige Gemeenschap van 2 december 1982 vernietigd. Het wordt nogmaals bevestigd dat de nationale wetgever bevoegd is voor tabaksreclame.
· 11 februari 1992 : het Europees Parlement stemt voor de tweede maal in met een verbod op tabaksreclame. Het voorstel van richtlijn zal nadien diverse malen worden besproken in de Europese Ministerraad van Volksgezondheid. Een blokkeringsminderheid, bestaande uit Duitsland, Nederland en Groot-Brittannië, slaagt erin beweilinderen dat het voorstel met het vereiste aantal stemmen wordt aangenomen.
· 25 mei 1992 : na een ontmoeting met de tabakspreventie-organisaties, kondigt de minister van Volksgezondheid, mevrouw Onkelinx (PS), aan een verbod op tabaksreclame uit te vaardigen, maar sponsoring nog toe te laten.
· 20 september 1992 : mevrouw Onkelinx heeft een voorstel van koninklijk besluit klaar om zowel reclame en sponsoring te verbieden.
· 21 november 1992 : diverse tabaksfirma's worden in Brussel veroordeeld tot fikse boetes (Philip Morris 960 000 frank en Reynolds 800 000 frank bijvoorbeeld) voor diverse illegale tabaksreclamecampagnes.
· 23 december 1992 : ingevolge een advies van de Raad van State kan de minister van Volksgezondheid niet alleen over dit dossier beslissen : ook de minister van Economische Zaken en van Middenstand hebben medebeslissingsrecht. In de Ministerraad wordt beslist om reclame te verbieden, maar niet de sponsoring. Na de wisseling van enkele ministers in 1993, zal deze regeringsbeslissing echter dode letter blijven.
· 15 mei 1996 : hoorzitting in de commissie Volksgezondheid van de Kamer naar aanleiding van de wetsvoorstellen Vanvelthoven, Vanlerberghe, Cuyt (SP) en Loozie (Agalev), Detienne (Ecolo).
· 5 juni 1996 : het wetsvoorstel dat reclame voor tabaksproducten volledig verbiedt wordt in de commissie Volksgezondheid goedgekeurd met 11 stemmen voor (CVP, PS, SP, PSC, VU, Ecolo, Agalev), 2 tegen (PRL) en 2 onthoudingen (VLD).
· 17 december 1996 : na een notificatieprocedure bij de Europese Commissie en de andere Lid-Staten, wordt het voorstel aangepast en houdt het rekening met al de bemerkingen van de Europese Commissie.
· 9 januari 1997 : het wetsvoorstel wordt in plenaire zitting van de Kamer van volksvertegenwoordigers goedgekeurd met een overweldigende meerderheid (89 voor, 21 tegen en 29 onthoudingen).
· 24 januari 1997 : meer dan 15 senatoren hebben het wetsvoorstel geëvoceerd. De bespreking ervan zal gebeuren in de commissie Economische Zaken en Financiën en in de commissie Sociale Zaken.
· Februari 1997 : 32 amendementen werden ingediend, meestal om een uitzondering te maken voor de sponsoring van culturele en sportmanifestaties. Het advies aan de Raad van State is ook gevraagd over gans het voorstel en bepaalde amendementen. Aan de Raad werd niet gevraagd om zijn advies binnen een bepaalde termijn uit te spreken.
· 11 maart 1997 : in de commissie Volksgezondheid van de Kamer, verklaart de minister van Volksgezondheid, de heer Colla (SP), dat hij hoopt dat de senatoren op dezelfde wijze manier zullen stemmen als de Kamerleden.
In opdracht van de minister van Volksgezondheid werd reeds in 1987 een uitgebreide studie over het effect van de tabaksreclame gepubliceerd (1). Dat onderzoeksrapport besloot dat tabaksreclame vooral onze jeugdige onderzoeksgroep weet te bereiken en te beïnvloeden.
Een studie, gepubliceerd in de Journal of marketing van april 1996, kwam tot dezelfde conclusie, namelijk dat tabaksreclame zich vooral op jongeren richt en dat het effect van de tabaksreclame zelfs drie maal hoger ligt bij jongeren dan bij volwassenen. Zo beschikt Marlboro over veruit het grootste reclamebudget in de VSA en bedraagt het marktaandeel van Marlboro onder minderjarigen 59 % en onder volwassenen 22 %. Ter vergelijking, in België bedroeg het marktaandeel van Marlboro in 1992 50 % bij jongeren van 15 à 17 jaar en 18 % bij volwassenen. (Bron : Centrum voor Informatie van de Media op basis van 10 000 bevragingen.) Om te overleven moet de industrie zich wel tot de jongerenmarkt richten.
In landen waar een verbod op tabaksreclame werd ingevoerd leidt dit ook tot minder verkoop. Een Brits rapport op dit vlak is het meest overtuigend. Het is geweten dat de vroegere Britse conservatieve regering tegen een reclameverbod was, maar toch heeft ze moeten toegeven dat een dergelijk reclameverbod effectief is. Na bestudering van de gegevens in vier landen met reclameverbod kwam ze in het rapport Effects of tobacco advertising on tobacco consumption (1992) tot de volgende vaststelling : een daling van het verbruik in alle vier de landen.
| Land | Datum van verbod |
Daling van verbruik |
| Noorwegen | 1975 | 9 % |
| Finland | 1977 | 6,7 % |
| Canada | Januari 1989 | 4 % |
| Nieuw-Zeeland | December 1990 | 5,5 % |
Bron : Department of Health UK (ministerie van de Gezondheid van Groot-Brittannië)
Meer recente gegevens bevestigen die tendens.
| Tabaksconsumptie in Finland (per capita) |
Sigarettenconsumptie in Noorwegen (per capita) |
|
| 1960 | 2 220 | 1 735 |
| 1970 | 2 245 | 2 076 |
| 1975 | 2 435 | 2 100 |
| 1980 | 2 090 | 2 044 |
| 1985 | 2 037 | 1 842 |
| 1990 | 2 038 | 1 851 |
| 1994 | 1 681 | 1 751 |
Bron : Statistics Finland en Directorate of Customs and Excise Norway.
In Noorwegen daalde het aantal rokers bij jongeren tussen 16 en 19 jaar van 38 % in 1975 naar 21 % in 1994. In Finland daalde het aantal rokers bij jongeren tussen 15 en 24 jaar van 30 % in 1978 naar 23 % in 1994.
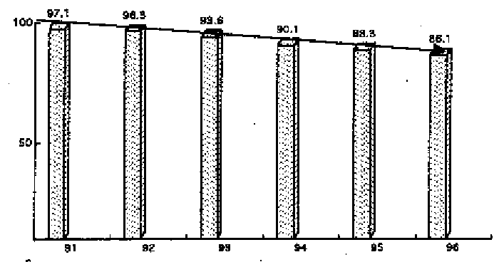
In Frankrijk zijn er ook gegevens bekend over het effect van het reclameverbod. In de periode 1992-1996 is de verkoop van sigaretten met 11 % gedaald, namelijk van 96,3 miljard sigaretten in 1992 naar 86,1 miljard stuks in 1996. Het percentage dagelijkse rokers bij jongeren tussen 12 en 18 jaar bedroeg 28 % in 1992 en 26 % in 1995. Het percentage occasionele en dagelijkse rokers was in 1992 en 1996 hetzelfde, namelijk 34 % (2).
4. Het effect van een verbod
op tabaksreclame op de werkgelegenheid
De economische gevolgen van het roken zijn veelerlei : derving van inkomen, verhoogd werkverzuim, medische kosten, verhoogde onderhouds- en schoonmaakkosten, brandweerkosten, verminderde pensioenlasten, enz. Tevens creëert de tabaksindustrie ook jobs en levert fiscale inkomsten op. Vooral de tewerkstelling wordt vaak als argument gehanteerd om roken niet te sterk te beperken, waarover hier enkele beschouwingen.
De tabakssector brengt onder meer tewerkstelling in de industriële, distributie- en landbouwsector.
Volgens een studie, die in opdracht van de tabaksindustrie werd uitgevoerd, zou de tabakssector in 1990 in België 13 559 voltijdse banen opleveren : 4 675 in de tabaksindustrie, 1 433 in de toeleveringsbedrijven, 521 in de tabaksteelt en 6 390 in de distributie (3).
4.1. Werkgelegenheid in de tabaksindustrie
In het laatste jaarverslag van de Belgisch-Luxemburgse federatie der tabakverwerkende industrieën (Fedetab) geeft de industrie weliswaar zelf toe dat de werkgelegenheid over een periode van tien jaar een forse teruggang heeft gekend (4).
Volgens de jaarverslagen van de Rijksdienst van Sociale Zekerheid waren er in België op 30 juni 1985 5 798 personen tewerkgesteld in de tabaksnijverheid. Tien jaar later, op 30 juni 1995, nog 3 009 personen.
Volgens Fedetab is de terugloop voornamelijk te wijten aan de automatisering binnen de bedrijven en de sluiting van meerdere productie-eenheden in België (4).
Automatisering en delokalisatie zijn de voornaamste factoren die wegen op de werkgelegenheid in de tabaksnijverheid. De productie van sigaretten gebeurt door machines die weinig personeel vereisen. De huidige machines produceren 14 000 sigaretten per minuut. Reeds op basis van gegevens van 1992 werd vastgesteld dat de tewerkstelling in de tabaksnijverheid vrij beperkt is (0,10 % van de actieve bevolking). De confrontatie van het aandeel van de sector in de actieve bevolking met zijn aandeel in het BNP tegen factorkosten (0,16 %) toont aan dat de tabaksnijverheid een kapitaal-intensieve sector is. De arbeidsintensiteit ligt 38 % beneden het nationale gemiddelde (5).
Naast het effect van automatisering, is er ook het fenomeen van de delokalisatie. Sinds 1982 is heel de Belgische sigarettennijverheid in handen van grote buitenlandse bedrijven. Deze bedrijven plannen hun bedrijvigheid in een globale Europese context, waarbij enkele productie-eenheden worden behouden, die modern zijn, volledig geautomatiseerd en ingeplant op strategische plaatsen, bij voorkeur in landen die gunstig staan tegenover de tabaksindustrie. In die zin werd de productie-eenheid van Reynolds in Brussel in 1989 gesloten en overgeheveld naar Trier in Duitsland. Hetzelfde scenario deed zich voor bij Philip Morris, die zijn fabriek in Elsene sloot in 1994 en overhevelde naar Bergen-op-Zoom in Nederland. De Belgische productie-eenheid van BAT werd reeds afgeslankt en heeft weinig perspectieven, nu BAT een nieuwe fabriek met een productiecapaciteit van bijna 100 miljard sigaretten aan het bouwen is in Southampton in Groot-Brittannië.
De verwachtingen voor de werkgelegenheid in de Belgische tabaksindustrie voor de volgende tien jaar zijn weinig rooskleurig.
Deze teloorgang van de werkgelegenheid heeft weinig te maken met de dalende verkoop, maar wel met het beleid politiek van de grote multinationale bedrijven terzake, die hun industriële productiecentra tot enkele sterk geautomatiseerde eenheden in Europa beperken.
4.2. Werkgelegenheid in de reclamesector
In 1995 bedroegen de uitgaven voor tabaksreclame 815 miljoen of 1,8 % van de totale uitgaven voor reclame in de media, die in 1995 45 093 miljoen bedroegen.
Het aandeel van tabaksreclame in het globale reclamebudget is erg beperkt. Bovendien heeft de sector een enorme groei gekend : op zeven jaar tijd zijn de bestedingen in mediareclame ongeveer verdubbeld, namelijk van 22,7 miljard in 1988 naar 45,1 miljard in 1995. Het verbod op tabaksreclame zou een beperkt effect op de tewerkstelling hebben (= 1,8 % minder inkomsten), dat echter volledig wordt gecompenseerd door de enorme groei in de globale reclamesector.
4.3. Werkgelegenheid in de sponsoringsector
Op basis van gegevens van de industrie, wordt de financiële ondersteuning van de tabaksindustrie voor de sponsoring van culturele en sportevenementen in 1995 op 457 miljoen frank geschat (6). Volgens dezelfde studie vertegenwoordigt de sponsoring van de tabaksindustrie gemiddeld 1/9 van het totale budget van het evenement. Het wegvallen van 11 % inkomsten kan tot enige problemen leiden, die echter meestal niet onoverkomelijk mogen zijn. Sommige organisatoren hebben de neiging om het wegvallen van het sponsorgeld te dramatiseren. Zo zou uit een studie « The economic impact of the Belgian Grand Prix on the Liège Province » moeten blijken dat de organisatie van de Grand Prix in de periode 23-25 augustus 1996 een impact had op 5 625 lokale jobs, waarvan 1 461 werkzaam in bakkerijen en 269 in apotheken ! Deze studie is echter weinig geloofwaardig en stapelt de fouten op. Ter illustratie : volgens de studie zouden er 1 000 personen tewerkgesteld zijn in de bakkerij Dome te Spa, terwijl dit er in feite slechts tien zijn. De betrokken bakkerij werd trouwens nooit ondervraagd door de auteurs van de betrokken studie. Hoe de organisatie van Formule 1-wedstrijden werk kan bezorgen aan 269 apothekers, is voor ons ook niet duidelijk. De financiële impact van het evenement op de lokale economie werd eveneens overdreven. De opbrengsten van tickets (475 miljoen frank) en van de verkoop van drank, voeding en gadgets op het circuit, komen niet zozeer ten goede aan de lokale economie, maar wel aan de internationale organisatie FOCA (Formule One Constructors Association), die de Formule 1 wedstrijden wereldwijd organiseert. Ten slotte nog dit. In Frankrijk werd de zelfde chantage aangekondigd als in België : geen tabakssponsoring = geen Formule 1. Ondanks deze chantage werd in Frankrijk sinds 1993 elke sponsoring voor tabaksproducten toch verboden, zonder dat dit geleid heeft tot de afschaffing van de Formule 1-wedstrijden in Frankrijk. Wij stellen vast dat de inbreng van de tabaksindustrie systematisch wordt overschat. Zo bedraagt bijvoorbeeld de omzet van Intercommunale van Francorchamps ongeveer 100 miljoen, waarvan slechts 3 à 4 % afkomstig is van de tabaksindustrie...
4.4. Werkgelegenheid in de tabaksdistributie
Volgens gegevens van de industrie, is de werkgelegenheid in de distributie in 1990 nog belangrijker dan in de industrie (7). Naast de typische tabakswinkels, zijn ook de krantenwinkels gedeeltelijk afhankelijk van de inkomsten uit de verkoop van tabaksproducten. Nochtans daalt de verkoop van tabakswaren in krantenwinkels sneller dan de globale verkoop van tabakswaren in ons land. In de periode 1991-1993 daalde de verkoop van sigaretten in België met 10 %, maar verkocht de gemiddelde krantenwinkel gemiddeld 26 % minder tabakswaren (8).
De reden hiervoor is dat een ander distributiekanaal aan belang wint : automaten in de horecasector.
In ons land zijn er momenteel 18 000 verkoopsautomaten geïnstalleerd.
Ook voor de distributie geldt het argument dat de automatisatie een negatieve weerslag heeft op de tewerkstelling.
4.5. Werkgelegenheid in de tabaksteelt
In de tabaksteelt tenslotte zouden er volgens industriële bronnen in België 521 personen in 1990 tewerkgesteld geweest zijn (9). De tabaksteelt in België maakt echter deel uit van de Europese landbouwpolitiek, die sterk gesubsidieerd wordt. In 1994 bedroegen de Europese tabakssubsidies 42 miljard frank, waarbij het inkomen van de tabaksboeren voor 90 % afkomstig is van subsidies en slechts voor 10 % van de marktwaarde van het product. Wat inhoudt dat de tewerkstelling in de tabaksteelt vooral door de subsidies in stand wordt gehouden (10).
4.6. Conclusie tewerkstelling
De heer Joossens concludeert dat de tabakssector werkgelegenheid creëert, maar steeds minder. De vraag kan gesteld worden, wat er zou gebeuren indien de rokers allen zouden stoppen met roken en hun tabaksbestedingen (in 1995, 92,9 miljard frank in België) zouden uitgeven voor andere diensten en goederen. Dergelijke studies werden uitgevoerd in Michigan (USA) (11) en Groot-Brittannië. In Groot-Brittannië heeft men de bestedingen nagegaan van rokers en ex-rokers (12). Indien iedereen zou stoppen met roken en zijn geld zou uitgeven zoals de huidige ex-rokers, dan zou de werkgelegenheid stijgen met 155 542 voltijdse betrekkingen in Groot-Brittannië. De reden hiervoor is dat ex-rokers meer geld uittrekken voor de ontspanningssector, die veel meer arbeidsintensief is dan de tabakssector. Indien een gedeelte van de tabaksuitgaven zou gespaard worden, namelijk 25 % (wat overeenkomst met de gemiddelde consumptiequote in België in 1993), dan zou de bijkomende tewerkstelling weliswaar met 44 % verminderen, maar toch 87 103 extra banen in Groot-Brittannië opleveren (13). Een tabaksloze samenleving zou met andere woorden de tewerkstelling ten goede komen.
Ten overweging : het is vooral Philip Morris die door aggressieve reclamemethodes zijn marktaandeel op de Belgische markt wist te vergroten. Zonder reclame, kan men verwachten dat het marktdeel stagneert, wat niet ten koste van de werkgelegenheid zal zijn, omdat Philip Morris enkel nog in het buitenland produceert.
Het is een merkwaardige paradox : hoe meer tabaksreclame, hoe minder werkgelegenheid er is in de tabaksindustrie.
Een lid merkt op dat als argument tegen een wettelijk reclameverbod voor tabaksproducten vaak wordt aangevoerd dat reclame weinig of geen invloed heeft op het roken als dusdanig en alleen bepalend is voor de verdeling van het gebruik tussen de verschillende merken. Sommigen vinden dan ook dat het enige adequate middel om het roken bij jongeren te verminderen bestaat in een verbod op de verkoop van sigaretten aan jongeren.
Wat is de opvatting hierover van de sprekers ?
De heer Joossens antwoordt dat reclame een onderdeel is van een marketingstrategie, naast de vormgeving van het product, de prijszetting, de verkooppunten, enz. Die strategie heeft onmiskenbaar tot doel en effect dat het gebruik in het algemeen of bij specifieke doelgroepen wordt gestimuleerd.
De bewering dat reclame alleen het marktaandeel van de diverse merken zou beïnvloeden, wordt door geen enkele ernstige wetenschappelijke studie bevestigd. Reclame is immers in essentie een communicatiemiddel gericht op het verhogen van de verkoop van een product, in dit geval rookwaren, door nieuwe gebruikers aan te trekken, marktaandeel van concurrenten in te pikken en door personen die willen stoppen, ertoe aan te zetten het product te blijven gebruiken.
De Wereldgezondheidsorganisatie pleit inderdaad voor een verbod op de verkoop van tabaksproducten aan jongeren. De anti-tabakscoalitie heeft dit standpunt niet overgenomen om verschillende redenen. Vooreerst passen de controles die hiermee gepaard gaan niet in onze mentaliteit. In de Verenigde Staten kent men een dergelijk verbod, maar dit past in een systeem waarin bijvoorbeeld ook de verkoop van alcohol streng gereglementeerd is.
Een dergelijk verbod zou voorts de verantwoordelijkheid voor het tabaksgebruik door jongeren volledig bij een bepaalde groep leggen, namelijk de detailhandelaars. Dit is niet wenselijk, temeer omdat een dergelijk systeem slechts efficiënt zou zijn indien er zware sancties aan gekoppeld worden.
Ten slotte is het fenomeen van de verboden vrucht. Een verbod zou voor bepaalde jongeren waarschijnlijk een extra aantrekkingskracht geven aan het product.
De anti-tabaksorganisaties pleiten er wel voor dat in de mate van het mogelijke wordt verhinderd dat het roken tegenover jongeren een positieve connotatie krijgt, bijvoorbeeld via de sponsoring van muziekfestivals, sportevenementen, enz.
Een senator wijst op een enquête van het Comité d'éducation pour la Santé, waaruit zou blijken dat in Frankrijk het aantal rokers onder de 12- tot 18-jarigen sinds 1994 sterk is toegenomen. Werd het verbod op tabaksreclame, dat in het begin van de jaren 90 in dit land inging, hier dan gecompenseerd door andere factoren, bijvoorbeeld de prijszetting ?
De heer Joossens wenst dit ten stelligste te betwisten. Het reclameverbod op tabaksproducten in Frankrijk is ingegaan op 1 januari 1993. Het percentage rokende jongeren (zowel dagelijks als occasioneel) bedroeg in 1992 34 %, in 1994 30,5 %, in 1995 35 % en in 1996 34 %. Deze cijfers, die gebaseerd zijn op steekproeven bij 1 000 personen, geven verschillen weer die statistisch niet signifiant kunnen worden geacht. Wanneer men het aantal dagelijkse gebruikers onder de jongeren afzonderlijk bekijkt, stelt men een daling vast van 28 % in 1992 tot 26 % in 1996. Ook dit verschil kan vanuit statistisch oogpunt niet significant worden geacht.
Mevrouw Rousseau verklaart dat de tabaksindustrie erkent dat roken risico's inhoudt : roken is een keuze die door een geïnformeerde volwassene wordt gemaakt en bijgevolg mogen kinderen niet roken.
De media besteden ruime aandacht aan de mogelijke gevaren van het tabaksgebruik en brengen de bevolking daarvan omstandig op de hoogte. In elke reclame en op elk pakje sigaretten staan er een of meer waarschuwingen voor gezondheidsrisico's.
Het thema « tabaksgebruik en kinderen » stond overigens centraal in het debat over het verbod op tabaksreclame.
Die maatregel werd als onontbeerlijk voorgesteld om de ontwikkelingen in het tabaksgebruik bij jongeren af te remmen.
Maar wat gebeurt er in feite ?
In Canada, Frankrijk en Finland uitgevoerde onderzoeken over de ontwikkeling van het tabaksgebruik na een reclameverbod wijzen evenwel uit dat dit niet klopt.
Effect reclameverbod
| Landen met een totaal reclameverbod Pays à interdiction de la publicité totale |
Jaartal reclameverbod Année de l'introduction de l'interdiction de la publicité |
Consumptie vóór het reclameverbod Consommation avant l'interdiction de la publicité |
Consumptie na het reclameverbod Consommation après l'interdiction de la publicité |
Percentage rokende jongeren na het reclameverbod Pourcentage de jeunes fumeurs après l'interdiction de la publicité |
| Frankrijk. France | 1993 | 1985-->1992 | 1993-->1994 | 1994-->1995 |
| - 3,49 % | - 2,79 % | + 4,5 % | ||
| Finland. Finlande | 1978 | 1974-->1978 | 1979-->1990 | 1980-->1987 |
| - 17,76 % | + 3,48 % | + 7,0 % | ||
| Canada. Canada | 1989 | 1983-->1989 | 1989-->1994 | 1991-->1994 |
| - 28,71 % | - 10,18 % | + 4 % |
De sector verklaart er overigens van overtuigd te zijn dat men hier rekening moet houden met een vaak ingewikkelde reeks sociale, gezinsgebonden of persoonsgebonden factoren.
Hij wil het tabaksgebruik bij jongeren terugdringen maar heeft zo zijn twijfels over de invloed van een reclameverbod op de houding van die jongeren.
De industrie heeft zich ertoe verbonden te zorgen voor gunstige omstandigheden om de boodschap « Sigaretten verkopen aan kinderen ? Ik niet ! » ingang te doen vinden op dat iedereen het op middellange termijn vanzelfsprekend vindt dat kinderen niet mogen roken.
Daartoe heeft de tabaksindustrie drie concrete initiatieven genomen :
Geen reclame meer in de buurt van scholen;
De nationale campagne « Sigaretten verkopen aan kinderen ? Ik niet ! » opstarten;
Een officiële lijst opmaken van publicaties voor minderjarigen.
Thans stelt de tabaksindustrie voor dat in de Commissie voor de Sociale Aangelegenheden de ware toedracht, de belangrijke vragen en een aanzet tot oplossing op de agenda komen.
De ware toedracht :
In de loop der eeuwen heeft de geschiedenis van de tabak steeds weerkerend ups en downs gekend. Er wordt sinds mensenheugenis gerookt en dat zal ook zo blijven. Ook al geeft de tabaksindustrie toe dat roken zekere gevaren inhoudt, waarvan de rokers overigens uitvoerig op de hoogte worden gebracht, dan nog heeft dit geen fundamentele wijzigingen teweeggebracht.
Een reclameverbod in verschillende landen om het tabaksgebruik terug te dringen heeft niet tot het verhoopte resultaat geleid. Sommige landen tellen ten minste evenveel rokers als andere landen waar dat verbod niet geldt.
De tabel op de vorige pagina geeft aan welke invloed er is op het totale gebruik en meer bepaald bij de jongeren.
De Belgische reglementering inzake tabak is een van de volledigste en de strengste in Europa. Alles is gereglementeerd : de fabricatie, de samenstelling, de verpakking, de fiscaliteit, de reclame, zelfs de plaatsen waar roken toegestaan of verboden wordt.
De industrie is er bijgevolg van overtuigd dat een evaluatie van de thans geldende reglementering zal uitwijzen dat er geen nieuwe reglementering meer nodig is.
België behoort tot die landen die in het jaar 2000 de norm van 20 % rokers zullen bereiken zoals de WHO die voorschrijft.
In het merendeel van de gevallen dekt onze wetgeving meer aspecten dan die welke thans bij de Europese Commissie in behandeling zijn.
Voorts vraagt de tabaksindustrie met aandrang dat er een grondig onderzoek komt naar de nefaste gevolgen wanneer één enkel onderdeel van de marketing mix wordt gewijzigd te weten de reclame in de specifieke context van de tabaksmarkt.
De sector verklaart zeer goed te begrijpen dat de economische of financiële gevolgen van een reclameverbod niet rechtstreeks van belang zijn voor de commissie voor de Sociale Aangelegenheden.
Het lijkt hem niettemin essentieel dat men rekening houdt met de ware sociale gezinsgebonden of persoonsgebonden factoren die het gedrag van de jongeren thans beïnvloeden.
Waarom zijn ze voortdurend op zoek naar sterkere kicks : door de nacht scheuren met een GTI-model, altijd maar later uitgaan, meer en meer drinken, ondoordachte risico's nemen zoals bij het benji-springen.
Waarom beginnen jongeren te roken ?
Een studie van het Australische ministerie van Volksgezondheid, in welk land er overigens een zeer strenge tabakswetgeving geldt, brengt de volgende factoren aan het licht :
het rookgedrag van de ouders;
het rookgedrag van vrienden;
vrijetijds- en ontspanningsoorden;
de vriendenkring.
Een onderzoek dat de krant Het Laatste Nieuws in mei 1996 bij 1 000 jongeren heeft verricht, bevestigt deze besluiten voor België.
De studies die het Onderzoek- en Informatiecentrum van de Verbruikersorganisaties heeft uitgevoerd wijzen erop hoe moeilijk het is te weten welke factoren in aanmerking moeten komen omdat ze zo uiteenlopend en subtiel zijn.
Wat is de belangrijkste taak van de reclame ?
Die ziet er als volgt uit : enerzijds op een nieuwe markt zorgen voor de productbekendheid (gsm/internet) en anderzijds op een verzadigde of afbrokkelende markt, voor ondersteuning van de merkbekendheid (waspoeders, auto's, kranten,...).
Voor tabaksproducten op een verzadigde markt komen er dus reclamecampagnes om de merkbekendheid te vergroten en marktaandelen in te pikken.
Aanzet tot een oplossing :
De tabaksindustrie heeft zich ertoe verbonden gunstige omstandigheden te scheppen opdat de boodschap ingang kan vinden zodat eenieder het als een vaststaand feit gaat beschouwen dat kinderen niet mogen roken. Daartoe heeft zij drie concrete initiatieven genomen.
Dat is niet altijd even gemakkelijk in een sfeer die een bepaald soort media en de pressiegroepen in het leven hebben geroepen omdat die het debat herleiden tot een zwart-witbeeld, zonder enige nuance. Daar komt nog bij dat heden ten dage vaak een subtiele wanorde wordt geschapen in het debat, wat zorgt voor verwarring en op de ideale manier de weg effent voor wat wij het « sociaal integrisme » noemen.
De tabaksindustrie heeft bewust niet meer dan drie wel bepaalde initiatieven genomen. De weg die een kind elke dag aflegt, is eenvoudig samen te vatten als « van huis naar school en terug naar huis ».
Op die weg treedt de tabaksindustrie op drie niveau's op. Zij gaat er effectief van uit dat het niet haar taak is zich bezig te houden met wat er op school gebeurt.
Om daarentegen een gunstige sfeer te scheppen heeft de industrie :
de reclame geschrapt in de buurt van scholen;
een officiële lijst gemaakt van publicaties voor minderjarigen;
een nationale campagne op gang gebracht.
Over het oogmerk van die campagne bestaat er niet de geringste onduidelijkheid : op lange termijn worden er geen sigaretten meer verkocht aan kinderen.
Ze is bedoeld voor alle verkooppunten, supermarkten, krantenwinkels, benzinestations,...
Om drie voor de hand liggende redenen is zij bij de krantenwinkels begonnen : de verkoper kent zijn klanten, hij is het belangrijkste verkooppunt voor tabaksproducten en bovenal is het zo dat de kinderen dagelijks bij hem binnenlopen om er snoepgoed, schriften, tijdschriften,... te kopen.
Het campagnemateriaal bestaat uit affiches, folders, stickers,... In de vakbladen zal er een motivatiecampagne van start gaan om de detailhandel ertoe aan te zetten mee te doen.
De directeurs van lagere en secundaire scholen werden op de hoogte gebracht van onze campagne.
U weet ongetwijfeld hoeveel tijd het vergt een mentaliteit te veranderen en vastgeroeste ideeën los te weken. De campagne « Sigaretten verkopen aan kinderen ? Ik niet ! » zal ongetwijfeld resultaat hebben op lange termijn zodra iedereen, van het productie- tot het verkoopstadium, zijn verantwoordelijkheid opneemt door er actief aan deel te nemen. Uiteindelijk moeten wij ertoe komen dat iedereen het zonder meer vanzelfsprekend vindt dat kinderen niet roken.
Een commissielid wijst erop dat de Commissie voor de Sociale Aangelegenheden niet alleen bevoegd is voor materies die betrekking hebben op volksgezondheid, maar ook tewerkstelling. Beide invalshoeken zullen dan ook op gelijkwaardige wijze aan bod komen. Tevens zijn er twee rapporteurs aangewezen, met name mevrouw Delcourt-Pêtre en mevrouw Van der Wildt. Deze laatste is tegelijk rapporteur voor de Commissie « Economische Zaken ». De Commissie zal met andere woorden alle aspecten van het ontwerp grondig onderzocht hebben vooraleer een verslag aan de plenaire vergadering wordt overgemaakt.
Een andere spreekster had liever wat het effect van het reclameverbod in Frankrijk, Finland en Canada betreft een vergelijking gezien tussen dezelfde jaartallen. Zij wijst er tevens op dat in Frankrijk de consumptie bij de jongeren tijdens een periode van actieve ontradingscampagnes wél daalde, zoals uit de tabel blijkt.
Mevrouw Rousseau wijst erop dat de jaartallen van elkaar verschillen omdat het verbod op reclame voor tabaksproducten in de diverse landen op een ander moment is ingegaan. Wat de consumptie bij jongeren betreft, heeft men de meest recente cijfers die beschikbaar waren in de tabel opgenomen.
Een derde spreekster merkt op dat een stijging van het verbruik wordt vastgesteld ondanks het verbod op reclame : die is wellicht niet verklaarbaar door het verbod op reclame. Vandaar dat zou moeten worden nagegaan waarom het verbruik juist in die periode is gestegen : er moeten andere factoren aan ten grondslag liggen. Heeft mevrouw Rousseau hiervoor een verklaring ?
Mevrouw Rousseau geeft toe dat het centrum ook geen zicht heeft op alle factoren die een invloed hebben gehad op de stijgende consumptie van rookwaren bij jongeren. Zij denkt dat dit geldt voor alle landen : het is zeer moeilijk te meten wat juist het gedrag van jongeren determineert. Het centrum is ervan overtuigd dat hier zeer diepgaande maatschappelijke factoren een rol spelen : met name het tekort aan waarden, een gemis aan toekomstplannen, angst voor « wat wordt ik, waar ga ik naartoe ? ».
Een lid merkt op dat mevrouw Rousseau zeer veel nadruk legt op de sociale omstandigheden die een jongere aanzetten tot roken, bijvoorbeeld de houding van de familieleden. Waar situeert het centrum deze « sociale omstandigheden » in de context van de uitgewerkte campagnes, onder meer naar de detailhandelaars toe ?
Mevrouw Rousseau wijst erop dat de campagne in de eerste plaats de directe verkoopsdaad viseert, maar dat bijvoorbeeld de houding van de ouders de eigen verantwoordelijkheid is van deze laatsten, die zelf in « eer en geweten » keuzes maken en die ook keuzes maken in de opvoeding van hun kinderen. Het is niet aan de tabaksindustrie om in de plaats te treden van de ouders. Vandaar dat de tabaksindustrie gekozen heeft voor een sensibiliseringscampagne die rechtstreeks de koop- en verkoopsdaad viseert.
Een derde lid stelt vast dat iedereen het over een zaak eens is : tabak schaadt de gezondheid. Hij sluit zich aan bij de vragen van een vorige spreekster om ruimer en beter vergelijkbaar cijfermateriaal te bekomen. Dit is nodig om een meer algemene kijk op de problematiek te hebben. Eén van de grote vraagstukken is wat de reële wetenschappelijk bewezen effecten zijn van de tabaksreclame op de tabaksconsumptie.
Hij wijst erop dat hij er persoonlijk niet van overtuigd is dat de reclame de doorslaggevende factor is in de tabaksconsumptie. Er is dan ook nood aan meer wetenschappelijke gegevens om aan te tonen welke factoren wél een decisieve invloed hebben. Iedereen is ervan overtuigd dat ze bestaan, maar dit moet ook wetenschappelijk bewezen worden.
Tevens merkt hij op dat heel wat mensen niet begrijpen dat de tabaksindustrie enerzijds toegeeft dat wat zij produceert schadelijk is voor de gezondheid en dat zij een aantal initiatieven neemt die op één of andere manier toch de consumptie zal doen afnemen, maar er anderzijds, vanuit economisch en ook werkgelegenheidsoogpunt, alle belang bij heeft dat de consumptie toeneemt. Is dat geen hypocriete houding ? Moet de door de tabaksindustrie opgezette campagne niet gepaard gaan met sensibiliseringsacties in de scholen; moet de tabaksindustrie hierover geen coördinatie nastreven met de scholen ?
Spreker is er bovendien van overtuigd dat verbod van gelijk welke aard ook denkt men maar aan de « Prohibition » in de VSA niet het beoogde effect heeft, wel in tegendeel : vaak heeft het een tegenovergesteld effect.
Mevrouw Rousseau merkt op dat tussen 1982 en 1996 de tabaksconsumptie is teruggevallen van 40 % tot 24 % en de investeringen in de reclame voor tabak voor dezelfde periode tonen aan dat in 1990 toen het meest aan tabaksreclame werd uitgegeven de terugval van de tabaksconsumptie het grootst is geweest.
Zij betreurt met de leden van de Commissie dat men in België niet over officiële gegevens beschikt met betrekking tot het rookgedrag, onderverdeeld per leeftijdscategorie. Er bestaan enkel studies gebaseerd op beperkte staalnames : hierin stelt men dezelfde lacunes vast : er zijn gegevens over de leeftijdscategorie van 18 jaar en ouder vóór 1993, waar vanaf 1993 men de gegevens over de leeftijdscategorie van 15 jaar en ouder geeft. Op deze wijze kan men enkel appelen met citroenen vergelijken.
Zij begrijpt de verbazing bij de leden van de Commissie dat het juist de tabaksindustrie zelf is die een ontradingscampagne opzet, specifiek gericht naar jongeren toe. De tabaksindustrie is zich er echter van bewust geworden dat zij zelf stappen moest doen om het algemeen klimaat te verbeteren. De tabaksindustrie is ervan overtuigd dat de kinderen/jongeren niet rechtstreeks met dergelijke producten moeten worden geconfronteerd. De ouders spelen hierin natuurlijk ook een rol. Ook zij moeten in dit verband « heropgevoed » worden.
Het is echter zoeken naar de beste formules om door te dringen tot de kinderen/jongeren, wat niet eenvoudig is. De tabaksindustrie zelf is ervan overtuigd dat kinderen/jongeren niet moeten roken en vandaar deze campagne. De keuze van de ouders is hun eigen keuze.
Een lid zou graag weten wat moet worden verstaan onder kinderen/jongeren. De illustraties bij de campagne doen immers denken aan kinderen van zeven à acht jaar.
Mevrouw Rousseau verduidelijkt dat het centrum zelf geen leeftijdsgrenzen wenst vast te stellen : dit is immers zeer afhankelijk van de persoon van het kind/de jongere. Zij is er evenwel persoonlijk van overtuigd dat de campagne uitermate geschikt is voor de leerlingen van het laatste jaar van het basisonderwijs (ongeveer 12-jarigen). Hoe sneller men deze leerlingen kan overtuigen, des te meer kans men maakt dat jongeren van 14-15 jaar, die zich in de « rebelse fase » van hun ontwikkeling bevinden, van deze ontradingscampagnes iets onthouden. Deze laatste leeftijdscategorie is immers veel moeilijker te benaderen via ontradingscampagnes en dergelijke.
Een spreekster denkt dat de ontradingscampagne van het centrum wel zijn doelpubliek zal bereiken. Belangrijk voor de Commissie is echter dat zij zich moet uitspreken over een wetsontwerp dat een tabaksreclameverbod instelt en dat reeds werd goedgekeurd door de Kamer van volksvertegenwoordigers.
Twee grote categorieën van argumenten moeten door de commissie worden bekeken : de sociale en de economische. Op het sociale vlak zijn de bevindingen van het OIVO nog niet aan bod gekomen : in de periode van 1982-1993 is er een sterke terugval van de tabaksconsumptie : 53 % van de mannen rookten in 1982 tegenover 31 % in 1993. In dezelfde periode is er ook een vermindering van de tabaksconsumptie bij de vrouwen, maar daarna is er terug een sterkere stijging vastgesteld bij de vrouwen ten opzichte van de mannen en dit juist in een periode waarin er weinig publiciteit voor rookwaren werd gemaakt. De commissie moet toch ook stilstaan bij de extra risico's dat dit zal teweegbrengen in de toekomst (bijvoorbeeld de medische gevolgen in verband met roken tijdens de zwangerschap onder andere vroeggeboortes en dergelijke). Het debat moet ruimer gevoerd worden dan enkel de problematiek van het token bij kinderen/jongeren.
De vrouwen moeten in dit verband als een belangrijke risico-groep worden beschouwd, aangezien het aantal vrouwelijke rokers in verhouding sterker is toegenomen. Het zou interessant zijn om te weten van welke sociale factoren dit een gevolg is. Eén van de vaststellingen bestaat erin dat tijdens de economische recessie het aantal rokers is gedaald en dit terwijl vaststaat dat werklozen een zeer belangrijke groep rokers vertegenwoordigen. Men moet goed nagaan welke sociale factoren effectief opgeld maken en welke niet.
Spreekster stelt vast dat ontradingscampagnes een duidelijk effect hebben op de bevolking. Anderzijds zijn er ook de economische argumenten : hét grootste probleem is de sponsoring door de tabaksindustrie van allerlei sportieve en culturele evenementen, inzonderheid wat de autowedstrijden betreft. De commissie moet zich afvragen of het niet mogelijk is om in de periode tussen het aannemen van het wetsontwerp en de volledige inwerkingtreding van de nieuwe regeling, een oplossing te vinden voor de problemen in deze sectoren.
Zij is ervan overtuigd dat de tabaksindustrie geen angst moet hebben van het reclameverbod : er zal altijd tabak verbruikt worden, zelfs indien het aantal rokers zou teruglopen. De commissie moet zich afvragen of er geen alternatieve vormen van sponsoring zoals in sommige landen gebeurt voor de autowedstrijden mogelijk zijn.
Zij vindt een duidelijk politiek signaal naar de bevolking toe in verband met een reclameverbod op tabaksproducten zeer belangrijk; voor het sponsoringprobleem moet en andere een oplossing en gevonden worden. In elk geval kan het niet anders dan dat reclame invloed heeft, anders zou er niet op dergelijke grote schaal geld voor worden uitgegeven. Dit geldt voor alles, dus ook voor rookwaren.
Mevrouw Rousseau is van oordeel dat de commissie zich toch moet afvragen of het mogelijk is reclame te verbieden voor een volkomen legaal product. Hier zit iets onlogisch in, zeker in een vrije markteconomie. Uiteraard zijn ontradingscampagnes voor risicogroepen, zoals kinderen/jongeren en zwangere vrouwen, ... steeds nodig, maar dit hoeft nog niet te betekenen dat er een volledig reclameverbod zou moeten komen.
De vorige spreekster wijst erop dat het de taak is van de commissie om zowel de volksgezondheidsargumenten als de economische argumenten in overweging te nemen.
Mevrouw Rousseau beklemtoont dat er wel duizenden producten zijn die op één of andere manier schadelijk zijn voor de volksgezondheid maar waarvoor een verbod op reclame allerminst wordt overwogen.
Het lid repliceert dat wat het roken betreft er zeer accurate onderzoeksresultaten bestaan die een duidelijke link leggen tussen gezondheidsproblemen en het roken.
Mevrouw Rousseau vindt dat men de intellectuele eerlijkheid moet hebben om toe te geven dat het niet één element is dat de oorzaak is bij gezondheidsproblemen : er zijn de genetische factoren, het leefmilieu, de psychologische omgeving. Japan is het land waar het meest gerookt wordt en waar men toch het minste gevallen van longkanker vaststelt. In Frankrijk is de bevolking van de ene regio beter bestand tegen longkanker dan die van de andere : dit heeft alles met de leefomgevingsomstandigheden te maken.
Een lid betwist de stelling dat het enige probleem met het voorliggende wetsontwerp de sponsoring zou zijn. Er is ook een scheeftrekking in de concurrentie tussen de nationale en de buitenlandse producenten. De nationale producenten zullen enkel nog voor een eigen interne markt kunnen produceren, terwijl de buitenlandse producenten via allerlei kanalen toch nog aan publiciteit zullen kunnen doen.
Verwijzend naar de statistieken van het OIVO, merkt hij op dat het grootste percentage van de rokers zich bevindt bij de inactieve werklozen. Men moet zich bijgevolg afvragen of niet het hele kader van nietsdoen, verveling, ..., bijdragen tot het grijpen naar een sigaret. Tevens stelt men sinds 1990 een stijging vast, terwijl juist vanaf dat jaar er heel wat wetgevende initiatieven zijn genomen om het roken te ontraden. Enige zin voor relativiteit is dan ook aangewezen.
Ten slotte is er het probleem van merken die gebruikt worden om zowel tabakswaren als andere producten aan te prijzen : dit laatste veroorzaakt opnieuw een scheeftrekking die België op termijn problemen zou kunnen opleveren, mocht er ooit een vordering tot vernietiging bij het Arbitragehof worden ingediend op basis van het non-discriminatiebeginsel. Ook vorderingen bij het Hof van Justitie te Luxemburg behoren tot de mogelijkheden, in de mate dat het vrij verkeer van goederen binnen de Europese Unie zou worden beperkt.
Een ander lid stelt vast dat, hoewel de tabaksindustrie probeert aan te tonen dat tabaksreclame geen significante invloed heeft op potentiële rokers, deze industrie toch een gelijkaardige campagne op touw zet om kinderen/jongeren van het roken af te houden. Daar zit een inconsequentie in.
Hij is ervan overtuigd dat reclame wel degelijk invloed heeft en dat het juist een bepaalde soort van reclame is die jongeren bijzonder aanspreekt (bijvoorbeeld camel-routes, cow-boys, snelle wagens, crazy-gevoel, ...).
Mevrouw Rousseau wijst er in verband met de zogenaamde « stoere reclame » op dat momenteel in België geen enkel sfeerbeeld voor tabaksreclame mag verschijnen. Noch op TV, noch in de bioscoop, wordt reclame voor rookwaren gemaakt. Vandaag de dag mag enkel reclame in magazines, kranten en op affiches, en dan nog beperkt in ruimte. Sfeerbeelden zijn verboden.
Een spreekster geeft toe dat de factoren die het roken beïnvloeden zeer verschillend van aard zijn . Het zou echter verkeerd zijn daaruit het besluit te trekken dat men van overheidswege niet mag ingrijpen. Tevens wijst zij erop dat het verschil tussen tabaksproducten en andere gevaarlijke producten ligt in het verslavend karakter ervan. Uit een hoorzitting die de commissie een aantal weken geleden heeft gehouden, blijkt dat tabaksproducten een veel sterker verslavend karakter hebben dan bijvoorbeeld alcohol. Men mag met andere woorden niet té snel veralgemenen en tabaksproducten vergelijken met andere producten. Zo zal bijvoorbeeld niemand het in zijn hoofd halen om drugs op dezelfde lijn te plaatsen als andere voor de gezondheid gevaarlijke producten.
Zij wijst erop dat bijvoorbeeld door de Wereldgezondheidsorganisatie en ook door andere organisaties wordt voorgesteld om de verkoop van rookwaren aan minderjarigen gewoonweg volledig te verbieden. De campagne van de Belgische tabaksindustrie gaat veel minder ver en is uiteraard een gewone ontradingscampagne. In dit verband maakt zij de vergelijking met het debat dat in de Kamer van volksvertegenwoordigers aan de gang is over de legalisering van soft drugs : door deze in de illegaliteit te laten, is de overgang voor jongeren van soft drugs naar hard drugs kleiner.
Overigens gelooft zij niet dat de campagne van de tabaksindustrie, die de volledige verantwoordelijkheid doorschuift naar de detailhandelaren, in de praktijk veel succes zal hebben.
Mevrouw Rousseau stelt in verband met het aspect « nicotine en verslaving » de vraag wat « verslavend » is ? Daarover bestaan 1 001 definities : het rookpatroon en het rookvolume bij een individu is gebonden aan rites en levensstijl. Op een bepaald moment heeft men een consumptiepatroon dat gebonden is aan gewoontes. Enkel in uitzonderlijke omstandigheden, bijvoorbeeld stress, cafébezoek met vrienden, enz., zal het individu zijn/haar rookpatroon aanpassen en wellicht meer roken.
Voor de vorige intervenante is juist het feit dat men omwille van bijvoorbeeld stress meer gaat roken, een duidelijk bewijs dat roken verslavend werkt.
Mevrouw Rousseau ontkent dit. Anders dan bij nicotine heeft bijvoorbeeld een drugsverslaafde steeds meer en een steeds hogere dosis nodig. Dit is bij tabak niet het geval.
Een lid is het hiermee niet eens. Dat de roker afhankelijk raakt van nicotine wordt voldoende bewezen door de moeilijkheid die zo goed als alle rokers ondervinden om te kunnen stoppen met roken.
Mevrouw Rousseau wijst erop dat de afname van het aantal rokers van 40 % naar 24 % toch volgende aantoont dat het mogelijk is om te stoppen met roken.
Een lid is het eens met de opvatting dat stress-omstandigheden de consumptie doen toenemen. Bovendien is zij ervan overtuigd dat de consumptie bij een roker met de jaren toch toeneemt. Het verslavingseffect is een afhankelijkheidsgevoel dat niet zomaar kan worden afgebouwd. Dit is ook zeer duidelijk bij alcoholverbruik. Tevens zijn er ook zeer veel gevallen van hervalling en ook dat wijst duidelijk op een verslavingseffect.
Een spreker vraag zich af of de campagne van de tabaksindustrie naar de kinderen/jongeren toe wel kans op slagen heeft als zij niet gepaard gaat met andere maatregelen die de echte oorzaken van het roken aanpakken. Hij is daar niet van overtuigd. Neemt de tabaksindustrie zelf initiatieven om de ware oorzaak van deze problemen aan te pakken ?
Mevrouw Rousseau wijst erop dat hier een rol weggelegd is voor de opvoeders en de scholen in de eerste plaats. De tabaksindustrie kan enkel zeer concrete, aanvullende maatregelen nemen. Bovendien vindt zij het belangrijk dat er goed wordt nagedacht over de wijze waarop het gesprek met de kinderen/jongeren hierover wordt aangegaan. Het is bewezen dat een reactionair beleid weinig succes heeft. Hoewel een dergelijke sensibiliseringsopdracht niet echt terzake van de industrie is, betekent dit niet dat deze niet zou willen meewerken aan een globale aanpak waarbij elke partner zijn/haar verantwoordelijkheid opneemt.
C. Uiteenzetting door mevrouw Van Wetteren,
uitbaatster van een krantenwinkel
Mevrouw Van Wetteren is de eerste dagbladhandelaarster die aangesproken werd voor het project ten aanzien van jongeren. Zij steunt deze actie ten volle. Zij heeft reeds sedert lange tijd iets proberen te doen aan het roken door kinderen/jongeren. Toen de pakjes van 10 sigaretten op de markt werden gebracht, heeft zij systematisch geweigerd deze te verkopen.
Samen met een groep mensen heeft zij de campagne van de tabkasindustrie uitgetest. Mevrouw Van Wetteren vindt het zeer belangrijk dat de doelgroep goed wordt afgebakend : in de eerste plaats zijn er de kinderen, in de tweede plaats de jongeren.
Dat kinderen rookwaren voor hun ouders gaan kopen, wordt in de meeste gezinnen als volstrekt normaal beschouwd. Aan deze kinderen wordt bij de aankoop van rookwaren een folder meegegeven voor de ouders, waarin wordt gevraagd contact op te nemen met de dagbladhandelaar. De respons van de ouders was voor bijna 90 % positief : zij kwamen met de dagbladhandelaar praten. Een minderheid reageerde vrij agressief en stuurde hun kinderen gewoon naar een andere winkel. Tegen deze groep ouders is geen kruid gewassen : zij zullen wellicht nooit maatregelen nemen om hun kinderen van het roken af te houden. Het betreft voornamelijk mensen uit sociaal lagere milieus.
Daarnaast is er de groep van de jongeren : de dagbladhandelaars zijn geen moraalridders, maar zij kennen vaak zeer veel mensen in de buurt en zijn ook een beetje een « luisterend oor », ook naar de jongeren toe. Dit is nuttig naar de actie toe. Bij jongeren moet men niet met gezondheidsargumenten afkomen, maar ze zijn bijvoorbeeld wél gevoelig wat de kostprijs van het roken betreft. Dit moet immers van het zakgeld betaald worden, met als gevolg dat andere zaken niet kunnen : bijvoorbeeld naar de film gaan, een poster kopen, ... Natuurlijk zijn er groepen die niet vatbaar zijn voor deze argumentatie. Er zijn anderzijds wél jongeren die erdoor tot nadenken worden aangezet.
Indien ongeveer 7 000 verkooppunten in België, 3 tot 5 jongeren kunnen overtuigen om 5 jaar te wachten vooraleer de beslissing te nemen al of niet te roken, dan zou dit reeds een mooi resultaat opleveren. Het verlies aan zakencijfer voor de dagbladhandelaar is momenteel nog niet zo erg, maar dit zou in de toekomst kunnen oplopen indien er een specifieke wetgeving zou komen. Dit zou wellicht oplosbaar zijn door gespecialiseerde verkooppunten op te richten, maar dit is een ander debat. Een manier om de dagbladhandelaars toch mee aan te sporen aan deze actie deel te nemen, zou erin kunnen bestaan dat zij op één of andere manier steun zouden kunnen genieten zodat hun verlies in zakencijfer, althans gedeeltelijk, wordt gemilderd, bijvoorbeeld het mogen aanbieden van specifieke producten, het mogen voeren van publiciteit in de omgeving van de handelszaak, ...
D. Bespreking
Een lid vraagt ter verduidelijking of mevrouw Van Wetteren zich als individu in de actie heeft geëngageerd, dan wel of zij een vereniging van dagbladhandelaren vertegenwoordigt.
Mevrouw Van Wetteren antwoordt hierop dat niet alle dagbladhandelaars zich geëngageerd hebben in het proefproject : 17 van de 20 aangesproken verkopers in het Gentse hebben actief meegewerkt en van deze 17 heeft een meerderheid na de afloop van het proefproject de actie verdergezet. Er zijn natuurlijk heel wat winkels die vanuit economisch oogpunt niet aan deze actie deelnemen : de dagbladsector is immers een sector die het niet zo goed doet en ook onder zware fiscale druk moet werken. Vandaar dat zij steun vraagt voor de dagbladhandelaars die effectief geëngageerd in de actie participeren, bijvoorbeeld door hun de exclusiviteit te geven voor de verkoop van bepaalde producten.
Een lid spreekt zijn waardering uit voor het initiatief. Dit is echter riskant op economisch vlak : op lange termijn kan het zware gevolgen hebben voor de detailhandelaars. Ofwel moet de tabaksindustrie hun hiervoor schadeloos stellen, ofwel zullen zij op termijn noodgedwongen hun winkel moeten sluiten.
Meer fundamenteel is de vraag wat er gebeurt met de jongeren die mevrouw Van Wetteren denkt te hebben omgepraat : indien ze gewoon naar een andere winkel gaan, heeft de actie weinig resultaat gehad. Heeft men daar enig zicht op ?
Heeft een dergelijk initiatief overigens kans op slagen indien niet de meerderheid van de dagbladhandelaars eraan meedoen ?
Mevrouw Rousseau wijst erop dat het de bedoeling is om de actie uit te breiden naar grootwarenhuizen en naar de distributiesector van een aantal andere diensten. Dit vraagt echter tijd.
Bovendien was in de maand maart nog geen enkele dagbladhandelaar actief bezig met de actie, terwijl men nu, in de maand juni, reeds 1 op 5 dagbladhandelaars in de sensibiliseringsactie heeft kunnen betrekken. Het streefdoel is inderdaad dat iedereen erover nadenkt. Dit vraagt voldoende en constante motivering en ondersteuning.
Mevrouw Van Wetteren verduidelijkt dat er inderdaad jongeren zijn die bij haar geen sigaretten meer kopen en die gewoon elders hun rookwaren aanschaffen. Er zijn er echter ook die effectief beslist hebben niet verder te roken. De dagbladhandelaars hebben over het algemeen drie bronnen van inkomsten : dagbladen en tijdschriften, rookwaren en kansspelen. Bij de kleine kruidenier vindt men vaak ook een beperkte keuze aan rookwaren en dit heeft jongeren naar die winkels getrokken. Het zou volstaan dat men met deze sector zou overeenkomen dat zij geen sigaretten meer zouden verkopen. De verkoop van tabaswaren maakt wellicht slechts een marginaal deel uit van hun opbrengst.
Een lid vraagt tot welke leeftijd wordt geweigerd sigaretten te verkopen.
Mevrouw Van Wetteren antwoordt dat dit varieert : een jongere van 17 jaar die reeds 3 jaar sigaretten bij haar koopt, kan zij moeilijk plots weigeren sigaretten te verkopen. Dit is economisch absurd, aangezien deze persoon zo goed als zeker elders sigaretten gaat kopen. Maar indien het gaat om een jongere die je als klein kind mee volgt en die nog nooit sigaretten heeft gekocht en het plots toch doet, dan kan je daarmee een gesprek aangaan.
De vorige spreekster is sceptisch tegenover een dergelijke aanpak : jongeren doen juist graag wat niet mag.
Mevrouw De Greif getuigt van de concrete resultaten die zij heeft bereikt in het kader van de actie. Ouders hebben hun gedrag aangepast en sturen hun kinderen niet meer om sigaretten. Dit is belangrijk omdat kinderen op deze manier ook zelf zien dat ouders hun gedrag aanpassen. Zij vindt deze actie belangrijk en het gesprek met de kinderen is zeer waardevol. Erover praten met mensen die je kent, in dit geval dan de dagbladhandelaar, heeft een veel indringender effect dan ergens affiches zien hangen. Het opnemen van verantwoordelijkheid door de individuen is het belangrijkste, vandaar dat het goed is dat ouders er bewust van worden gemaakt dat zij zelf maar hun rookwaren moet halen en niet uit gemakzucht hun kinderen ervoor moeten opsturen. Dit is een kleine maar toch significante stap in een bewustwordingsproces waaraan mevrouw De Greif graag wil meewerken.
F. Bespreking
Op de vraag van een lid of zij sedert het project loopt een verschil in de verkoopscijfers merkt antwoordt mevrouw De Greif dat er een klein verschil is en dat zij zelf bewuster omgaat met kinderen/jongeren die sigaretten komen kopen. Zij gaat het gesprek aan, ook met de jongeren die reeds lang bij haar sigaretten kopen.
De heer Frydman verklaart dat hij reeds twintig jaar actief is op het vlak van de tabakspreventie, met name in het kader van het centrum voor de hulp aan rokers dat aan de universiteit van Bergen werd opgericht en in het kader van de opleiding van leraren en huisartsen. Laatstgenoemden kennen wel de gevaren van het roken, maar zij weten niet altijd hoe zij deze kennis op de meest efficiënte wijze moeten vertalen naar hun patiënten.
Hij legt er de nadruk op dat het tabaksgebruik onmiskenbaar de grootste plaag is van de westerse wereld. Het is niet alleen de belangrijkste oorzaak van kanker, maar ook van tal van andere ziekten en handicaps bij volwassen. Het roken is de belangrijkste oorzaak van overlijdens op jonge leeftijd.
De gevolgen van tabaksgebruik staan in geen enkele verhouding tot die van andere verslavingsmiddelen. In België zijn er twee overlijdens per week of een honderdtal per jaar ten gevolge van het gebruik van harddrugs. De tabak daarentegen heeft jaarlijks 15 000 à 20 000 voortijdige overlijdens tot gevolg. Er sterven meer mensen op jeugdige leeftijd ten gevolge van het roken dan van alle andere doodsoorzaken samen.
Het roken heeft niet alleen het geel kleuren van de vingers, rimpelvorming, ochtendhoesten en een algemene achteruitgang van de fysieke conditie tot gevolg, het ligt ook aan de basis van een hele reeks zwaardere ziekten.
Iedereen weet wel dat roken longkanker veroorzaakt. Men is zich er echter te weinig van bewust dat actief of passief roken de enige oorzaak is van deze kanker, met uitzondering van een miniem deel van 5 % dat kan worden omschreven als beroepsziekte. Longkanker is een van de meest dodelijke kankers. Slechts in 20 % van de gevallen is operatief ingrijpen mogelijk en slechts 5 % overleeft de ziekte langer dan vijf jaar.
De volgende grafiek, die voor de Verenigde Staten de evolutie van het tabaksgebruik en het aantal longkankers weergeeft, is voldoende duidelijk.
Sigarettenconsumptie en overlijdens ten gevolge van sigaretten.
| BILLIONS OF CIGARETTES | DEATHS |

De volgende grafiek geeft voor de periode 1930-1990 de evolutie weer van een aantal kankers bij vrouwen in de Verenigde Staten.
US female cancer trends adjusted for age to US 1970 population

Source : American Cancer Society
Men stelt voor de meeste kankersoorten gedurende de jongste decennia een daling vast. Het aantal borstkankers is min of meer stabiel gebleven. Het aantal longkankers daarentegen is spectaculair beginnen stijgen sinds de jaren zestig, niet toevallig het moment dat de vrouwen op grote schaal zijn beginnen roken. Sinds het midden van de jaren tachtig is longkanker ook bij vrouwen in de Verenigde Staten de meest voorkomende kankersoort.
Naast longkanker, een ziekte die zoals reeds gezegd vrijwel volledig het gevolg is van het roken, heeft tabaksgebruik invloed op minstens 11 andere kankersoorten. Daarnaast zijn er vanzelfsprekend nog de andere longaandoeningen en de cardio-vasculaire ziekten, waarvan niemand betwist dat zij in belangrijke mate, zo niet uitsluitend, een gevolg zijn van roken.
Dat roken de directe oorzaak is van een groot aantal vroegtijdige overlijdens is ook bewezen in laboratoriumsituaties en wordt bevestigd in meer dan 60 000 wetenschappelijke publicaties.
Het risico van het tabaksgebruik is de jongste 25 jaar nog sterk toegenomen ten gevolge van het feit dat men op steeds jongere leeftijd begint te roken. Waar men enkele decennia geleden begon te roken rond de leeftijd van de legerdienst, is dit thans de adolescentie of zelfs de vroege adolescentie.
Dit is het gevolg van een bewust beleid van de tabaksindustrie. De grote meerderheid van de volwassenen verandert niet meer van sigarettenmerk en bij de producenten groeide het besef dat de dure reclamecampagnes waarin zij investeerden hooguit verschuivingen van 1 % machtaandeel tot gevolg hadden. Vandaar dat zij zich enkele decennia geleden, om hun omzet te verhogen, zijn gaan richten op de groep van de niet-rokers. De reclame werd geheroriënteerd van de jonge volwassenen naar de adolescenten en zelfs de preadolescenten.
Hierbij worden jongeren van 10 tot 12 jaar ertoe aangezet te experimenteren met een of twee sigaretten van een bepaald merk. De ervaring leert immers dat tussen de eerste sigaret en de afhankelijkheid van het roken gemiddeld ongeveer zes maanden liggen.
Het spreekt voor zich dat de negatieve gevolgen van het tabaksgebruik zich vlugger manifesteren naarmate men op jongere leeftijd begint te roken. Daarbij komt echter dat ook de negatieve impact van de sigaret als dusdanig bij jongeren groter is. Een organisme dat niet volgroeid is, is gevoeliger voor schadelijke producten dan dat van een volwassene.
Een tweede factor die het risico van het roken voor de volksgezondheid de jongste decennia heeft verhoogd, is de introductie van de lichte en de ultralichte sigaretten. De tabaksverslaafde heeft immers behoefte aan een vaste dosis nicotine. Wanneer hij overschakelt op lichtere sigaretten, zal hij dieper gaan inhaleren en meer gaan roken. De hoeveelheid nicotine die hij zo binnen krijgt, zal dezelfde zijn als bij zwaardere sigaretten, maar tegelijk ademt hij veel grotere hoeveelheden in van de 50 andere cancerogene stoffen die in een sigaret zitten.
Roken brengt voor vrouwen nog een aantal specifieke risico's mee. De kans op osteoporose verdubbelt en er is een aanzienlijke verhoging van het risico op baarmoederkanker. Wanneer de moeder rookt, neemt de kans op vroeggeboorte van het kind in sterke mate toe. De kinderen wegen minder en zijn kleiner dan normaal bij de geboorte, maar bovendien is bewezen dat zij ook op het intellectuele vlak een achterstand hebben.
De heer Frydman legt er de nadruk op dat wie rookt en niet sterft aan kanker of aan een cardiovasculaire ziekte, er zeker mag van zijn dat hij of zij op het einde van het leven te kampen heeft met ernstige problemen in het ademhalingsstelsel en meer dan waarschijnlijk zal sterven van verstikking. Roken versnelt het verouderingsproces op het fysieke, het intellectuele en het seksuele vlak.
Personen die in de adolescentie beginnen roken en hiermee niet stoppen op latere leeftijd, hebben 50 % kans dat zij aan de rechtstreekse gevolgen van tabaksgebruik zullen sterven.
Tabak doodt momenteel over heel de wereld drie miljoen personen per jaar. Indien er geen paal en perk wordt gesteld aan de expansie van de producenten op de Aziatische markt worden dit er in het jaar 2015 minstens 10 miljoen.
De heer Frydman vestigt ten slotte de aandacht op de campagne die momenteel door de tabaksindustrie in enkele krantenwinkels wordt gevoerd onder het motto : « Sigaretten verkopen aan kinderen ? Ik niet ! ». Deze campagne getuigt volgens hem van een diabolische perversiteit.
De onderliggende boodschap die aan de jongeren van 10 tot 13 jaar wordt gegeven, is immers : « Roken is een zaak van grote mensen ». Daarbij weet de industrie maar al te goed dat in onze samenleving de emancipatiedrang van deze groep jong-adolescenten al zeer sterk is en dat zij in de mate van het mogelijke volwassenen zullen trachten te imiteren. Tegenover de enkele krantenwinkels die aan de actie deelnemen, staan dan ook 14 000 verdeelautomaten, grootwarenhuizen en andere winkels waar om het even wie sigaretten kan kopen.
De centrale stelling waarmee de producenten zich verantwoorden, is gekend : roken is het gevolg van een overwogen keuze van een verantwoordelijk persoon. Men kan dit alleen als puur cynisme bestempelen, wetende dat de industrie zich richt op jongeren van 11 tot 13 jaar en hierbij stimuli geeft waarvan de doelgroep zich niet eens bewust is.
De heer Pelc kan de uiteenzetting van de vorige spreker volledig onderschrijven wat de negatieve gevolgen van het tabaksgebruik voor de gezondheid betreft.
Zelf zou hij meer de nadruk willen leggen op een ander aspect van de aangelegenheid die hier aan de orde is, namelijk de reclame voor tabaksproducten.
Vanzelfsprekend zijn de vragen die in dit verband worden gesteld volkomen legitiem. De vraag is alleen of ze op de juiste wijze en in de juiste context worden gesteld. De vraag naar het al dan niet instellen van een reclameverbod mag immers niet de spreekwoordelijke boom zijn die het bos verbergt.
Het probleem van de tabaksverslaving staat niet alleen, maar is ingebed in een hele reeks maatschappelijke gedragingen waarvan ook het gebruik van alchohol, drugs en medicatie deel uitmaken.
Dergelijke gedragingen kunnen niet blijvend worden benaderd met uitsluitend verbodsbepalingen. Meer dan ooit is een beleid nodig waarbij de bevolking wordt opgevoed, geïnformeerd en gestimuleerd tot zelfreflectie en tot nadenken over de eigen behoeften.
Jammer genoeg is in ons land een dergelijk beleid zo goed als onbestaande. Een gedegen gezondheidsopvoeding moet verder gaan dan te zeggen dat tabak ongezond is of dat overmatig drinken gevaarlijk is.
Een reglementering van de reclame voor bepaalde producten vanuit een ethisch perspectief en na een breed overleg kan een belangrijk onderdeel zijn van een dergelijk beleid, maar het mag niet alleen staan. Even belangrijk is bijvoorbeeld de strikte reglementering van de plaatsen waar kan worden gerookt. Zo mag in de Verenigde Staten, niet meer gerookt worden in vliegtuigen tijdens vluchten van minder dan twee à drie uur.
Daarnaast moeten voldoende middelen worden vrijgemaakt voor preventie en onderzoek. Op dit vlak mag men, uitgaande van het principe « de vervuiler betaalt », eisen dat de industrie haar bijdrage levert. Niet alle taksen die op sigaretten of alcohol worden geheven, moeten worden aangewend voor het bereiken van de Maastrichtnorm. Toen ongeveer tien jaar geleden de wet Vandervelde werd opgeheven en vervangen door een hogere belasting op sterke dranken, is er in de Kamer van volksvertegenwoordigers voor gepleit een miniem deel hiervan ter beschikking te stellen voor onderzoek. Dit is gedurende één jaar gebeurd, maar sindsdien werden deze bedragen blijkbaar voor andere doeleinden aangewend.
Een op zich staande verbodsmaatregel is helemaal niet efficiënt vanuit educatief oogpunt. De gedragswetenschappen leren dat verbodsmaatregelen de ingesteldheid van een persoon niet wijzigen. Zij zetten integendeel aan tot het zoeken naar omwegen. Positieve stimuli, discussie en informatie daarentegen leiden wel tot nadenken over de eigen conditie en tot spontane gedragsveranderingen die blijvend zijn.
De heer Pelc wijst op het Engelse begrip « addictive behaviour », dat de beide elementen van het overmatig gebruik van een product goed weergeeft. Het eerste deel van de term wijst op het aspect « afhankelijkheid » maar het tweede op een « gedrag » dat aan de basis ligt van de afhankelijkheid. De afhankelijkheid is iets wat men zelf creëert. Zelf vertaalt hij dit begrip door de Franse term « assuétude », die komt van het Latijn « assuétudo ». Dat betekent « Ik heb de gewoonte van » zowel als « Ik ben de slaaf van ». De gewoonte hebben, betekent dat men zijn gedrag kan wijzigen. Afhankelijk zijn daarentegen betekent dat het product noodzakelijk is omdat men geen andere mogelijkheid meer heeft om hetzelfde effect te bereiken.
Dit is zeer individueel bepaald, maar er is ook een sterk sociologisch element in aanwezig. Bij roken, alcoholgebruik, druggebruik en in mindere mate gebruik van medicamenten is er immers het voorbeeld en de druk van de naaste omgeving. Een jongere zal vlugger geneigd zijn tot roken wanneer zijn vrienden van dezelfde leeftijd dit ook doen en hem sigaretten aanbieden. De kans dat hij verslaafd wordt, zal evenwel een stuk kleiner zijn wanneer hij heeft geleerd spontaan nee te zeggen.
Alcohol drinken kan men om het even waar, met om het even wie en dit houdt een gevaar in van overmatig gebruik. Diegene die zijn drankgebruik weet te beheren en alleen drinkt bij de maaltijden of bij bepaalde gelegenheden zal echter niet verslaafd worden. Ook dit moet men leren.
Tegen een jongere zeggen dat roken ongezond is, volstaat niet. Men moet hem duidelijk maken dat, indien hij niet spontaan nee kan zeggen tegen de sigaret, dit ook op vele andere terreinen het geval zal zijn. Nee zeggen tegen verslavingsmiddelen, zijn gezondheid beheren, is echter iets wat men moet leren.
Sinds enkele jaren is er in de Verenigde Staten een beweging naar wat « evidence based medicine » of « evidence based health » wordt genoemd. Hierbij gaat men ervan uit dat het niet volstaat in de geneeskunde nieuwe ontdekkingen te doen. Men moet ook onderzoeken wat hun invloed is, in welke mate zij het gedrag van de bevolking wijzigen.
Men zou in deze aangelegenheid een gelijkaardige houding kunnen aannemen. Het is zeer gemakkelijk een wet uit te vaardigen met een algemene verbodsbepaling op reclame. Men moet zich tegelijk de vraag durven stellen in welke mate het beoogde doel wordt bereikt, in welke mate er een wijziging van attitudes plaatsvindt. Een verandering van de levenswijze vraagt echter, in een beginfase, een grotere inzet van middelen voor onderwijs, opvoeding en informatie naar de scholen en naar de gezinnen. Men ziet in onze straten reclame voor alles en nog wat, maar nergens vindt men een reclamebord waarop iets staat in de trant van : « Wanneer u rookt, is dit omdat u niet nee kan zeggen ». Op radio en televisie komen er een of twee keer per jaar een paar specialisten een reeks cijfers opsommen die moeten aantonen hoe ongezond roken wel is. Deze cijfers worden dan nog vaak door andere specialisten in twijfel getrokken. Dit heeft niets met gezondheidsopvoeding te maken.
Het valt dan ook te vrezen dat met dit ontwerp hetzelfde gebeurt als bij de afschaffing van de wet Vandervelde. De overheid neemt een geïsoleerde maatregel en blijft de inkomsten uit schadelijke producten opstrijken. Het gebruik of misbruik van de producten wijzigt niet omdat de instanties die hierop moeten inwerken, geen middelen hebben.
De bedragen die nu naar onderzoek en gezondheidsopvoeding gaan, zijn lachwekkend laag in vergelijking met hetgeen de industrie aan reclame besteedt en met de inkomsten die de overheid uit de verkoop van drank en sigaretten put. Onderzoek en gezondheidsopvoeding zijn overigens niet van elkaar te scheiden. Het kankeronderzoek of het onderzoek naar een geneesmiddel tegen AIDS tonen aan dat de studie zelf en de resultaten ervan de aanzet zijn voor het maatschappelijk debat, dit ook op gang houden en zelfs aan de basis kunnen liggen van een hele beweging.
Hoe goed de bedoelingen van de auteurs van dit ontwerp ook mogen zijn, dergelijke algemene verbodsbepalingen lossen niets op, zeker niet wanneer zij niet zijn ingebed in een systeem van begeleidende maatregelen.
De heer Pelc merkt vervolgens op dat de verslaving ontstaat in een interrelatie tussen het individu, de substantie en de omgeving.

Een individu zal er in een bepaalde omgeving toe worden aangezet een bepaald product te nemen. Voor een ander individu in dezelfde omgeving of voor hetzelfde individu in een andere omgeving zal dit niet het geval zijn. In bepaalde Aziatische bergstreken rookt men al sinds generaties opium, zonder dat dit aanleiding geeft tot grote maatschappelijke problemen. Nochtans zou dit product in onze westerse samenleving ravages kunnen aanrichten, omdat het in een totaal andere context wordt gebruikt.
Bij ons is alcohol een sociaal aanvaard product waarvan het gebruik door het overgrote deel van de bevolking wordt beheerst. Nochtans lag sterke drank een eeuw geleden aan de basis van de uitroeiing van hele indianenstammen.
De heer Pelc besluit dat hij de documenten van de Kamer van volksvertegenwoordigers grondig heeft doorgenomen. De Kamercommissie heeft een hele reeks specialisten en belanghebbende partijen gehoord, maar nergens blijkt uit de stukken een rechtstreeks verband tussen reclame voor tabaksproducten en het gebruik ervan. Een dergelijk verband is wetenschappelijk gewoonweg niet aantoonbaar en dat is maar goed ook. Het tegenovergestelde zou immers betekenen dat het menselijk gedrag, zoals dat van een laboratoriumrat, kan worden beïnvloed door één enkele stimulus en dat een persoon niet ontvankelijk zou zijn voor de invloeden uit zijn omgeving, zijn opvoeding, dat hij geen bewustzijn zou hebben.
Onderzoek dat hij enkele jaren heeft gedaan op het vlak van de alcoholreclame heeft dit bevestigd. Alcoholreclame zet geen enkele jongere ertoe aan te beginnen drinken. Het kan wel in zekere mate een stimulans zijn om zich op een bepaald soort drank te richten.
Op het vlak van tabaksreclame heeft hij geen specifiek studiewerk gedaan, maar, wat men ook mag beweren, hij kent in elk geval geen enkel onderzoek dat op dit vlak een direct verband aantoont tussen reclame en gebruik.
Het is evident dat beleidsmakers andere dan wetenschappelijke redenen kunnen hebben om een algemeen reclameverbod voor tabaksproducten in te voeren.
Een dergelijk verbod kan echter nooit worden onderbouwd met wetenschappelijke argumenten, want die zijn er gewoonweg niet.
Zelf zou hij niet voor een algemeen verbod, maar toch voor een reglementering van tabaksreclame willen pleiten, omdat het hier onmiskenbaar om een schadelijk product betreft. Tegelijk echter moet het nodige geld worden vrijgemaakt voor sensibilisering en onderzoek. Voor een antwoord op de vraag waarom jongeren bij ons beginnen roken, waarom ze verslaafd worden, kan men niet terecht bij studies in de Verenigde Staten of Japan, waar men hiervoor wél middelen vrijmaakt.
De problematiek is immers dermate gebonden aan de concrete leefomgeving dat het onderzoek binnen zeer beperkte regio's moet worden gedaan om concrete resultaten op te leveren. De lokale context (bijvoorbeeld de aanwezigheid een megadancing) maakt niet alleen dat voorafgaand aan het nemen van maatregelen, ter plaatse onderzoek moet worden gedaan, maar dat elke genomen maatregel ook van nabij wordt opgevolgd wat de impact betreft en eventueel wordt geheroriënteerd.
Een dergelijk aanpak zou tal van nieuwe inzichten opleveren in het domein van de verslavingen en de maatschappelijke discussie terzake op gang houden. Hij zou alleszins een stuk efficiënter zijn dan een eenzijdig reclameverbod, dat inderdaad goedkoper en gemakkelijker is, maar waarvan de invloed op het tabaksgebruik onbestaande is.
De heer Frydman verklaart dat hij het betoog van de heer Pelc voor een deel kan onderschrijven. Zelf werkt hij al jaren in deze geest met een programma inzake tabakspreventie gericht op de scholen. Aan de leraren wordt duidelijk gemaakt dat maatregelen tegen het roken deel moeten uitmaken van een coherent programma inzake gezondheidseducatie dat ertoe strekt de jongeren bewust te maken van de noodzaak hun fysieke en psychische integriteit te vrijwaren.
Hij is het evenwel helemaal niet eens met de opvattingen van de vorige spreker wat een eventueel reclameverbod betreft. Tabak is een erg schadelijk product met zeer zware gezondheidsrisico's, die groter zijn dan bij om het even welk ander product dat voor menselijke consumptie wordt verkocht. De enige houding die men hier tegenover kan aannemen, is een absoluut verbod.
Wanneer de tabaksproducenten honderden miljoenen uitgeven om racewagens om te vormen tot rijdende pakjes sigaretten, dan doen zij dit niet om de organisatoren een plezier te doen, maar omdat zij weten dat jongeren hier gevoelig voor zijn. Dit soort reclame toelaten in Francorchamps of elders, staat gelijk met het accepteren van het voortijdig overlijden van honderden mensen. De helft van de pre-adolescenten die beginnen te roken zal hiervan sterven.
Natuurlijk is een reclameverbod niet de enige maatregel die noodzakelijk is. In de landen die een dergelijk verbod hebben ingesteld, is het roken bij jongeren echter spectaculair achteruitgegaan. Dit is de eerste en meest dringende ingreep die moet gebeuren.
De sigarettenfabrikanten kennen beter dan de rokers zelf de diepere oorzaken waarom men begint te roken en spelen hier doelbewust op in via uitermate verfijnde technieken.
Hiervoor worden enorme middelen ingezet. De tabaksindustrie heeft in 1991 niet minder dan 1 028 miljoen frank uitgegeven alleen voor de huur van reclamepanelen en ruimte in grootwarenhuizen. De middelen voor onderzoek en preventie die de overheid ter beschikking stelt, zijn in vergelijking hiermee een peulschil.
In de Verenigde Staten en Canada heeft men een verbod op de verkoop van tabaksproducten aan kinderen ingesteld en het laatste land heeft sigarettenautomaten bij wet verboden. Bij ons kunnen kinderen de winkel binnenstappen en sigaretten per stuk kopen.
Wat het effect van reclame op het roken betreft, volstaat het de evolutie van de reclamebudgetten van de verschillende merken te onderzoeken en deze te vergelijken met de evolutie in de verkoop. Men zal hier een onmiskenbare relatie vaststellen.
De heer Pelc ontkent geenszins dat de tabaksindustrie haar reclamecampagnes richt op de jongeren, bijvoorbeeld via de sponsoring van autosport. Zelf kent hij evenwel geen enkele studie die bewijst dat jongeren beginnen te roken of meer gaan roken omdat op racewagens reclameboodschappen voor sigaretten staan.
Hij herhaalt dat er geen enkele directe relatie bewezen is tussen reclame en de consumptie van producten. Wanneer men vaststelt dat in sommige landen na het instellen van een reclameverbod het tabaksgebruik bij jongeren daalt, zou moeten worden onderzocht of deze landen geen andere begeleidende maatregelen tegen het roken hebben genomen. In Frankrijk, bijvoorbeeld, stelt met sinds de wet « Evin » eerst een daling maar de jongste twee jaar opnieuw een stijging vast van het tabaksgebruik. Het zou goed zijn dat dit nader wordt onderzocht, bijvoorbeeld wat het verband betreft tussen het roken bij jongeren en bepaalde sociale toestanden in de Franse voorsteden.
De strijd tegen roken vergt een geheel van maatregelen, waarvan de gezondheidsopvoeding de eerste en de belangrijkste moet zijn.
Een lid verklaart dat zij geneigd is de heer Pelc te geloven wanneer die stelt dat er wetenschappelijk geen direct verband, in positieve of negatieve zin, kan worden aangetoond tussen tabaksreclame en de consumptie van tabaksproducten. Zij is het ook eens met de stelling dat er meer maatregelen nodig zijn om de jongeren van het roken af te houden dan een verbod op tabaksreclame en dat die maatregelen ook moeten worden genomen.
Het is evenwel de vraag of dit een reden moet zijn om het voorliggende ontwerp niet goed te keuren. Mede door het standpunt dat de Kamer van volksvertegenwoordigers heeft ingenomen, heeft deze tekst een belangrijke signaalfunctie gekregen in de discussie rond tabaksverslaving en kan hij een hefboom zijn voor een reeks andere maatregelen, zoals een verbod op sigarettenautomaten, informatiecampagnes voor jongeren, enz.
Dit ontwerp stemmen zou ook een belangrijke ethische stellingname van het beleid inhouden en een signaal dat de overheid alle stimuli die aanzetten tot schadelijk rookgedrag, wenst weg te nemen.
Een ander lid meent dat de uiteenzettingen van de beide sprekers niet tegengesteld maar complementair zijn. Er is ongetwijfeld nood aan gezondheidsopvoeding bij de jongeren, maar dit moet precies een argument zijn om de negatieve invloed van reclame op deze groep zoveel mogelijk in te perken. Een verbod op tabaksreclame betekent precies dat de jongeren niet op negatieve wijze beïnvloed worden. Men kan zich overigens moeilijk voorstellen dat de industrie miljoenen uitgeeft aan reclame, goed wetende dat dit geen invloed heeft op de consumptie.
Zoals dat ook in milieu-aangelegenheden vaak het geval is, stelt men vast dat er ook hier niet één wetenschappelijke waarheid bestaat en dat de deskundigen elkaar tegenspreken. Wel is iedereen het erover eens dat tabaksverslaving zware gevolgen heeft voor de gezondheid. Dit vergt van de overheid dat zij in haar beleid het voorzichtigheidscriterium hanteert en de beleidskeuze maakt die de meeste waarborgen biedt, wat in dit geval ongetwijfeld een reclameverbod is.
Dit betekent echter niet dat de overheid zich hiermee tevreden mag stellen. De andere maatregelen die de heer Pelc heeft genoemd, zijn inderdaad dringend noodzakelijk, niet alleen in het kader van de tabakspreventie.
Een volgende spreker verklaart dat hij niet overtuigd is van de directe band tussen tabaksreclame en de mate waarin tabaksproducten worden geconsumeerd. Het feit dat enkele decennia geleden meer werd gerookt dan thans het geval is, was geen gevolg van het feit dat er toen meer reclame gemaakt werd. Het had wel te maken met bepaalde sociale en culturele omstandigheden. Ook nu nog stelt men vast dat bepaalde bevolkingsgroepen meer roken dan andere. Het is zeer te betwijfelen of dit een gevolg is van de tabaksreclame.
Hij legt er de nadruk op dat niemand nog kan twijfelen aan de schadelijke gevolgen van tabaksgebruik. Indien men in dit verband een boodschap wil geven aan jongeren, heeft het echter weinig zin dit te doen via een autoritaire verbodsbepaling. Maatregelen tegen het roken zijn pas echt efficiënt wanneer zij de doelgroep een inzicht geven in het eigen gedrag en ertoe aansporen hierover na te denken.
Spreker merkt op dat hij voor zichzelf nog niet heeft uitgemaakt welke houding hij tegenover het ontwerp zal aannemen. Aan deze aangelegenheid is immers ook een belangrijk economisch aspect verbonden en de goedkeuring van de tekst kan in bepaalde streken van het land zware gevolgen hebben voor de werkgelegenheid.
Men mag derhalve niet onbesuisd te werk gaan. De impact van een reclameverbod op de tabaksconsumptie kan niet in een laboratoriumsituatie worden uitgetest. Het zou zeer betreurenswaardig zijn indien een hoop banen op de helling komen voor een maatregel die uiteindelijk zijn doel voorbijschiet. In Frankrijk werd in 1993 een volledig reclameverbod ingevoerd en het minste wat men kan zeggen, is dat over de resultaten hiervan ernstige betwisting bestaat. Dit soort zaken zou toch moeten worden uitgeklaard vooraleer men in België besluit een gelijkaardige stap te doen.
Een lid verklaart dat zij persoonlijk wel overtuigd is van het verband tussen tabaksreclame en het rookgedrag. Men moet de vragen in dit verband evenwel in hun juiste context plaatsen. Het is immers evident dat alle problemen niet zijn opgelost met het instellen van een reclameverbod.
Niemand ontkent nog de nefaste gevolgen van het roken, zowel op het persoonlijke als op het maatschappelijke vlak. Deze problemen en de kostprijs hiervan voor de maatschappij zijn dermate groot dat de strijd tegen het roken een beleidsprioriteit moet zijn op verschillende terreinen.
Een principieel reclameverbod, zoals dat door de Kamer van volksvertegenwoordigers werd goedgekeurd, is een belangrijk signaal van het feit dat de overheid definitief komaf wil maken met de problemen in dit verband en de Senaat moet zich hier derhalve bij aansluiten. Het is echter noodzakelijk dat de tekst wordt ingebed in een geheel van maatregelen waarover de politieke wereld een consensus moet trachten te bereiken.
Wat haar in de betogen bijzonder heeft getroffen, is echter het feit dat kinderen blijkbaar op alsmaar jongere leeftijd beginnen te roken. Het is de vraag wat hiertegen kan worden gedaan. Persoonlijk gelooft zij niet erg in een verbod op de verkoop van sigaretten aan kinderen. Dit zou niet alleen moeilijk toepasbaar zijn, de kans is ook groot dat het een aantal jongeren er precies zou toe aanzetten toch te beginnen roken.
Een feit is alleszins dat de kinderen en jongeren zeer gevoelig zijn voor trendy merken en dat reclame die hierop inspeelt bij deze groep ongetwijfeld resultaten boekt.
Een spreekster is met de heer Pelc van oordeel dat de redenen waarom jongeren beginnen te roken zeer complex zijn en derhalve niet worden bepaald door een enkele factor zoals reclame. Dit neemt volgens haar niet weg dat reclame een versterkend effect kan hebben op bepaalde negatieve omgevingsfactoren zoals de samenstelling van het gezin, de sociale situatie van de ouders, het schoolmilieu, etc. Daarbij komt, zoals de vorige spreekster reeds verklaarde, dat reclame kan inspelen op bepaalde trends en op deze wijze de consumptie bij bepaalde groepen, zoals jongeren, kan stimuleren.
Zij heeft begrip voor de argumenten van economische aard die door sommigen worden aangehaald tegen een reclameverbod. Toch moeten deze worden afgewogen tegen de maatschappelijke schade die het gevolg kan zijn van de tabaksreclame.
Een lid is van oordeel dat sommige sprekers de impact van reclame onderschatten. Mensen die roken, zullen niet méér tabak gaan consumeren onder invloed van reclame en binnen deze groep zal publiciteit inderdaad misschien alleen maar een verschuiving teweeg brengen. Het is evenwel naïef te denken dat de tabaksindustrie miljarden besteedt aan sponsoring van motorsporten, goed wetende dat zij hierdoor geen nieuwe rokers bij een jong publiek kan aantrekken.
Een laatste spreker meent dat de centrale vraag in dit debat is waarom iemand al dan niet begint te roken. Hij kan zich niet voorstellen dat de reclamesector hierover geen onderzoek gedaan heeft. Indien men immers weet welke factoren (stress, verveling, gezelschap) invloed hebben op het rookgedrag, kan men de boodschappen hierop richten.
Hij vraagt of sprekers enig zicht hebben op de wijze waarop de reclamebureaus zich op deze diepere motieven richten. Indien hierbij zou blijken dat de invloed van reclame op deze motieven onbestaande is en dat de publiciteit alleen een herverdeling tussen merken teweeg brengt, is dit een belangrijk gegeven.
Een goed voorbeeld in dit verband is de verplichting die de producenten een tiental jaren geleden werd opgelegd, op de pakjes sigaretten te vermelden dat roken schadelijk is voor de gezondheid. Iedere roker wordt met deze boodschap geconfronteerd telkens wanneer hij een sigaret neemt en iedere roker weet ook dat deze boodschap met de werkelijkheid strookt. Nochtans heeft deze wettelijke verplichting geen enkele invloed gehad op het rookgedrag omdat hier andere dan rationele motieven aan de basis liggen.
De heer Frydman antwoordt dat het niet moeilijk is aan te tonen hoe de tabaksindustrie bewust tracht jongeren van tien tot twaalf jaar aan te zetten tot roken. Het volstaat hiervoor de campagnes van de verschillende merken gedurende de laatste jaren onder de loep te nemen.
Hij begrijpt niet hoe sommige leden van deze commissie, die de volksgezondheid onder haar bevoegdheid heeft, het economische belang van enkelen kunnen afwegen tegen de gezondheid en de levenskansen van een groot deel van de bevolking.
Op economisch vlak is het overigens een vaststaand feit dat het tabaksgebruik de gemeenschap in haar geheel, driemaal meer kost dan de opbrengsten van taksen.
Vanzelfsprekend mag een reclameverbod niet alleen staan en moet het gepaard gaan met andere maatregelen. Men moet er echter rekening mee houden dat dergelijke begeleidende maatregelen, zoals gezondheidseducatie, zeer veel tijd vergen en slechts op lange termijn werken.
Jongeren hebben overigens niet alleen behoefte aan gezondheidseducatie maar ook aan media-educatie. Nu staan zij weerloos tegenover de manipulaties waarvan zij in de reclame het voorwerp zijn. De tabaksreclame speelt rechtstreeks in op diepere behoeften zonder dat de doelgroep zich hiervan bewust is. Zij suggereert dat roken stress wegneemt, het leggen van contacten vergemakkelijkt. De reclame speelt de jongste twintig jaar echter het meest in op seksuele motivaties en op de diepere drang tot autodestructie. De overheid heeft de industrie een dienst bewezen door op de verpakkingen de boodschap te doen aanbrengen dat sigaretten schadelijk zijn voor de gezondheid.
Een andere begeleidende maatregel die noodzakelijk is, is een gevoelige verhoging van de prijs van de sigaretten. In Algerije heeft een prijsverhoging met 400 % een sterke vermindering van het roken tot gevolg gehad. Vooral bij jongeren, die over een beperkt budget beschikken, zou een dergelijke maatregel een grote impact hebben.
Deze begeleidende maatregelen maken een reclameverbod echter niet minder noodzakelijk. De explosie van het tabaksgebruik bij jongeren gedurende de jongste jaren is immers alleen en uitsluitend toe te schrijven aan het feit dat de reclame zich op deze groep is gaan richten.
De heer Pelc besluit uit de reacties van de leden dat er een grote bereidheid is maatregelen te nemen om het tabaksgebruik terug te dringen. Dit is verheugend want meer dan ooit heeft de jeugd behoefte aan ernstige gezondheidseducatie. Al vijftig jaar wordt in dit verband met het argument geschermd dat die slechts op lange termijn vruchten afwerpt en doet men helemaal niets. Ook nu weer dreigt men van overheidswege voor de gemakkelijkste oplossing te kiezen, een reclameverbod, om voor de rest niets te moeten doen.
Het is zeer de vraag of de toename van het roken bij de jongeren gedurende de jongste decennia zonder meer kan worden verklaard vanuit een heroriëntering van de tabaksreclame naar deze groep.
Men stelt bij de huidige generaties jongeren vast dat zij op steeds jongere leeftijd bepaalde gedragingen gaan ontwikkelen. De eerste seksuele contacten hebben steeds vroeger plaats, men stelt meer moorden en verkrachtingen vast gepleegd door daders op jonge leeftijd, enz. Ook het steeds vroeger beginnen roken past in deze evolutie. Misschien heeft de reclame op sommigen enige invloed, maar fundamenteel werken er heel andere mechanismen. Waar aan het begin van de eeuw het roken voor een stuk kon worden verklaard als een vlucht uit de materiële ellende, zou de oorzaak bij de huidige generatie jongeren wel eens kunnen liggen in het morele vacuüm waarin zij zich bevinden ten gevolge van het toegenomen egoïsme in onze samenleving, het verzwakken van de gezinsbanden, de echtscheidingen, etc.
Men heeft moeten wachten op het AIDS-drama vooraleer men in onze scholen een begin heeft gemaakt van een gedegen seksuele opvoeding, vooraleer men met de jongeren is gaan praten over affectie. Dit is gezondheidsopvoeding en die moet worden verruimd tot andere gebieden. Het volstaat hierbij niet een dag per jaar over de gevaren van roken te praten; integendeel, aan deze problemen moet permanent worden gewerkt op verschillende terreinen tegelijk.
De heer Pelc verklaart dat hij bereid is in dit verband te komen spreken over een project dat met de steun van de EU werd opgezet in Thailand, waaraan hij zijn medewerking heeft verleend.
De hervorming van de instellingen in ons land, waarbij het curatieve federaal is gebleven en het preventiebeleid werd geregionaliseerd, heeft de zaken er niet eenvoudiger op gemaakt. Een omvattend programma op gang brengen, vereist de handtekeningen van ten minste vijf ministers.
Vragen zoals « Wat eet ik ? », « Hoeveel drank is goed voor mij ? », « Waarom is roken slecht ? », « Hoe duid ik een reclameboodschap ? », zijn vragen die best in gezinsverband worden gesteld en beantwoord. Dit gebeurt echter alsmaar minder en daarom moet de samenleving de jongeren er in andere omstandigheden toe aanzetten over deze zaken na te denken. Het matig gebruik van drank en het niet gebruiken van tabaksproducten moeten positieve waarden worden voor de jongeren. Wanneer men dit bereikt, wordt de discussie over het al dan niet toelaten van reclame een zuiver theoretische discussie.
De heer Frydman herinnert eraan dat hij in zijn vorige uiteenzetting heeft gewezen op de gezondheids- en de mortaliteitsrisico's van het roken, die de gevaren van alle andere consumptieartikelen ver overtreffen en die de jongste kwarteeuw nog zijn toegenomen.
Thans zal hij nader ingaan op het aspect reclame. Hij zal hierbij niet alleen aantonen dat de industrie zich in haar reclameboodschappen steeds meer tot de jongeren richt, maar ook dat een verbod op reclame voor rookwaren wel degelijk een vermindering van de tabaksconsumptie tot gevolg heeft.
Hij merkt op dat vanaf de jaren vijftig de reclamestrategieën sterk zijn veranderd. Vóór deze periode gingen de ontwerpers uit van het zogenaamde « Pavlov-model ». Men zocht een welluidende slogan of een pakkend beeld en koppelde dit aan een product. Deze associatie moest de potentiële consument ertoe aanzetten het product te kopen.
Met de tijd is men evenwel gaan beseffen dat zelfs ons geconditioneerd gedrag niet verloopt volgens het al te simplistische Pavlov-schema, maar mede bepaald wordt door de affectieve staat en de diepere motivatie van de persoon.
Dit besef is gegroeid mede door het mislukken van een aantal groots opgezette campagnes. Een goed voorbeeld in dit verband is hetgeen zich in de Amerikaanse auto-industrie heeft voorgedaan. In de loop van de jaren vijftig begon het verkeer in de grote centra van de Verenigde Staten vast te lopen. Chrysler speelde in op de klachten in dit verband door kleinere wagens te gaan produceren, wat echter een fiasco werd. Hoewel de consumenten er rationeel van overtuigd waren dat kleinere wagens een aantal problemen zouden oplossen, bleven grote auto's een belangrijk statussymbool en een bevestiging dat men in het leven geslaagd was. Deze diepere motivatie haalde het op rationele argumenten wanneer een auto werd gekocht.
Ervaringen als deze hebben de reclamesector ervan overtuigd dat een campagne slechts ten volle rendeert wanneer de dieperliggende motivatie die een consument ertoe aanzet een product te gebruiken, gekend is. Hiertoe werden met de jaren een aantal nieuwe technieken ontwikkeld, waarbij het onderzoek naar het onderbewuste een belangrijke rol speelt. Er werd gepeild naar onze angsten, onze bezorgdheid, ons schuldgevoel. Vooral dit laatste speelt bij het roken een belangrijke rol.
Het roken begint immers vaak tegen het expliciete verbod van de ouders in en bovendien is de roker zich bewust van de schade die hij zichzelf of zijn medemens aanricht.
Toen in de jaren vijftig zekerheid ontstond over de relatie tussen roken en kanker en ten gevolge hiervan de verkoop van tabak achteruit ging, is de reclamesector hier direct op gaan inspelen met campagnes die roken koppelen aan gezondheid.
Sindsdien heeft de sector nog heel wat andere motivaties ontdekt waarom men zou kunnen gaan roken : de nood aan sociaal contact, de angst voor eenzaamheid, het voorkomen van stress, ... Een van de belangrijkste drijfveren die op deze wijze door de tabaksindustrie werd geëxploiteerd, was de drang zijn viriliteit te tonen. De sigaret is het fallussymbool bij uitstek en eenmaal de industrie dit begrepen had, werden de reclamecampagnes hier massaal op gericht. Het is op dit ogenblik dat de boodschap dat roken niet ongezond is, naar de achtergrond verdwijnt en wordt vervangen door getatoeëerde zeelui en robuuste cowboys die, in min of meer penibele omstandigheden, een sigaret opsteken.
Dit was de tijd dat de campagnes zich vooral tot mannen richtten en de sigaretten een « mannelijke smaak » hadden. Deze campagnes, waarvan het zwaartepunt eind jaren vijftig-begin jaren zestig lag, zijn voor de huidige generatie consumenten zonder meer lachwekkend.
De huidige reclametechnieken zijn immers veel verfijnder geworden en spelen vrijwel volledig in op het onbewuste. Men geeft de potentiële consument stimuli zonder dat hij dit beseft. Dit kan op twee manieren gebeuren.
Een eerste techniek bestaat erin een stimulus te geven gedurende een tijdsperiode korter dan die noodzakelijk om hem bewust te registreren. In een televisiespot wordt gedurende een fractie van een seconde een beeld verwerkt dat men niet « ziet », maar dat zich toch vastzet in het onbewuste. Deze techniek, waarvan wetenschappelijk is aangetoond dat hij werkt, is verboden in de Verenigde Staten. Een goed voorbeeld ervan is de wijze waarop een foto van François Mitterrand werd verwerkt in een generiek van Antenne 2, net voor het journaal van 20 uur. Zo werd in 1988 in volle verkiezingsperiode 2 900 keer in prime time een presidentskandidaat op het scherm gebracht zonder dat de kijkers hem bewust opmerkten.
Deze techniek wordt thans nog zelden of nooit toegepast in de reclamesector. Een tweede techniek om het onbewuste te manipuleren bestaat erin dat men niet inwerkt op de duur maar op de intensiteit van de boodschap. Deze methode is zeer courant en ook de tabaksindustrie maakt er veelvuldig gebruik van. Afbeeldingen in tijdschriften of op affiches die onschuldige foto's lijken, zijn in feite een zorgvuldig geconstrueerd geheel waarin een erotische boodschap verborgen zit. Die kan bestaan uit woorden, fallische of vaginale symbolen, bepaalde situaties, de opvolging van beelden op de verschillende bladzijden van een tijdschrift, ... die niet bewust worden opgemerkt maar die zich wel in het onderbewuste vastzetten.
Een andere verborgen drijfveer die door de tabaksindustrie wordt geëxploiteerd, is het doodsverlangen en de drang tot zelfdestructie. Het is bewezen dat in de sector van de alcohol en zeker in die van de tabak de dood doet verkopen. In de reclameaffiches worden dan ook symbolen van de dood of woorden die hiermee in verband staan, verborgen. Campagnes gericht op jong-adolescenten spelen dan weer in op de angst alleen te zijn en op de nood aan gezelschap van personen uit dezelfde leeftijdsgroep of zij suggeren de belofte van ontmaagding.
De heer Frydman wijst erop dat de tabaksindustrie in 1996 een bedrag van 7,257 miljard frank heeft besteed aan reclame dus niet sponsoring in de vijf belangrijkste media : televisie, radio, film, pers en affichage. Men moet hierbij voor ogen houden dat voor tabaksproducten reclame het enige middel is dat door de producenten kan worden aangewend om de verkoop te stimuleren. Andere technieken, zoals de verkoop aan promotieprijzen, zijn strikt verboden.
Wat de gevolgen van een reclameverbod betreft, verwijst hij naar een aantal Noord-Europese landen waar na de invoering van een wettelijke regeling een duidelijke daling van het aantal rokers werd vastgesteld, vooral bij de jongeren.
Vooral interessant voor de situatie bij ons is echter hetgeen zich in Frankrijk heeft voorgedaan, zoals dit uit de volgende grafiek blijkt :
Tabaksverbruik in Frankrijk sedert 1975

In 1976 werd de tabaksreclame gereglementeerd door de wet Veil. Dit heeft geen enkele invloed gehad op de tabaksconsumptie. Het is pas na de wet Evin, die een volledig verbod instelt, dat er een sterke terugval wordt vastgesteld. Deze cijfers worden bevestigd door de twee volgende grafieken, die de evolutie van het tabaksgebruik per inwoner en het aantal verkochte sigaretten weergeven.
Verloop van het tabaksverbruik
per inwoner sedert 1965

Verloop van de sigarettenverkoop in Frankrijk van 1991 tot 1996 (in miljarden eenheden)

De heer Frydman merkt op dat 18 jaar geleden, toen hij met zijn onderzoek in dit domein begon, Belga in ons land 30 tot 33, of zowat een derde, van de sigarettenmarkt in handen had. Een recent onderzoek bij 2 000 jongeren leert dat de verdeling tussen de verschillende merken er momenteeel als volgt uitziet :
Onderzoek naar de merken gerookt door jongeren uit het secundair onderwijs in het franstalige landsgedeelte

Thans is Marlboro bij de jongeren onbetwistbaar marktleider, op enige afstand gevolgd door L & M . Niet toevallig zijn het deze merken die de meeste middelen aan reclame besteden en zich hierbij richten op de jongeren, ervan uitgaand dat wie op jonge leeftijd een bepaald merk begint te roken, niet vlug naar de concurrentie overstapt.
De heer Frydman verklaart tot besluit dat hij zeker begrip kan opbrengen voor de bezorgdheid van een aantal leden voor de economische gevolgen van een reclameverbod. Er zijn echter andere mogelijkheden om de werkgelegenheid veilig te stellen dan de jongeren ertoe aan te zetten te beginnen met roken.
De verhoging van de prijs van de sigaretten met 1 frank per pakje zou voor de schatkist een verhoging van de inkomsten van 1 miljard frank betekenen. Met een dergelijk bedrag kunnen al heel wat sportieve of culturele evenementen worden gesponsord.
Men zou overigens een voorbeeld kunnen nemen aan de Verenigde Staten, waar ingrijpende maatregelen op tal van terreinen mogelijk zijn geworden ten gevolge van de druk die men op de tabaksindustrie is gaan uitoefenen. De producenten hebben een resultaatsverbintenis met de gezondheidssector en de overheid aangegaan om over een periode van 10 jaar het roken bij jongeren te verminderen met 60 %. Indien dit cijfer niet gehaald wordt, moeten enorme boetes worden uitbetaald.
Daarnaast zal de industrie voor een periode van 25 jaar een bedrag van 368 miljard frank betalen om aan nog grotere boetes te ontsnappen. Dit zal vanzelfsprekend een verhoging van de sigarettenprijs tot gevolg hebben, wat op zijn beurt een vermindering van het roken tot gevolg heeft.
De heer Pelc geeft nadere uitleg bij een project inzake de preventie van het druggebruik in Thailand, genaamd Prévention de l'usage de drogues en Thaïlande, le programme Cemubec-Assuétudes, sous l'égide de la Commission des Communautés européennes : « L'approche humaniste ».
Zoals de bovenstaande omschrijving het zegt, betreft het hier een programma dat met de steun van de EU in 1988 werd uitgevoerd door Cemubec (Centre d'études médicales de l'université de Bruxelles pour ses activités de coopération).
Het doel van het programma bestond erin in de Thaise scholen een programma van gezondheidseducatie en -preventie te ontwikkelen. Het project beschikte over een budget van 5 miljoen frank per jaar over een periode van vijf jaar, een bedrag waar men in Thailand vanzelfsprekend heel wat meer mee kan doen dan in België.
Het eerste jaar van het programma werd besteed aan studie en overleg, samen met de cel « onderzoek en ontwikkeling » van het Thaise ministerie van onderwijs, met onderwijsinspecteurs en schooldirecteurs en met leerlingen. In totaal werden gedurende dit jaar een twaalftal seminaries georganiseerd.
Uit dit overleg bleek dat er in Thailand vrijwel geen basisgegevens beschikbaar waren over de context en de omgeving waarin het gebruik van alcohol, tabak, softdrugs en harddrugs plaatsvindt. Deze context is in sterke mate bepaald door plaatselijke gegevens en het heeft geen enkele zin zich in dit verband te baseren op gegevens die in een westers land als België beschikbaar zijn.
Vandaar dat de tweede fase van het project bestond uit een omvangrijke enquête in 52 scholen met gemiddeld 200 à 300 leerlingen. In totaal werden meer dan 5 000 leerlingen tussen 12 en 18 jaar van verschillende regio's, van verschillende sociale klassen, van steden en het platteland ondervraagd.
De enquête vertrok vanuit een humanistische benadering. Dit wil zeggen dat de gebruiker centraal stond en niet de middelen die werden ingenomen. Er werd niet alleen gepeild naar individuele kenmerken van de ondervraagden, maar ook naar omgevingsfactoren zoals het sociale milieu, of er andere gebruikers van bepaalde producten in de vriendenkring of de familie zijn, enz.
Op basis van de enquête kreeg de equipe een beeld van de mate waarin de verschillende middelen worden ingenomen :
Grafiek 1
Aandelen van het druggebruik bij leerlingen
uit het secundair onderwijs (n = 4985)

Hieruit blijkt dat sigaretten en alcohol veruit de meest geconsumeerde middelen zijn. Voor sommigen kan het kleine aandeel van softdrugs zoals cannabis in een land als Thailand vreemd lijken. Men moet hierbij evenwel rekening houden met het feit dat het hier leerlingen op humanioraniveau betreft, die in dit land in zekere mate tot de bevoorrechte bevolkingsgroepen behoren.
Een tweede opvallend feit is het grote aandeel solventen, stimulerende famaceutica en tranquillizers tegenover andere drugs. Dit heeft te maken met culturele factoren. Chemische producten worden geassocieerd met het rijke Noorden en hebben hierdoor de aantrekkingskracht van het exotische. Dit geldt ook in belangrijke mate voor tabak. Morfine, dat een lokaal product is, komt helemaal achteraan. Het hoeft geen betoog dat dit in het licht van een preventiebeleid zeer belangrijke bevindingen zijn.
Op basis van de verkregen gegevens werd dan in een volgende fase een multidimensionele analyse gemaakt van de risicofactoren die het gebruik van drugs stimuleren. Zoals ook vorige week reeds werd beklemtoond, wordt het gebruik van een middel niet bepaald door een enkele factor en dat bleek ook nog eens uit dit onderzoek.
Zowel bij mannelijke als bij vrouwelijke leerlingen in het onderzoek kwam echter een belangrijk gegeven naar voor. De vriendenkring heeft een belangrijke invloed op het gebruik van bepaalde middelen, in die mate zelfs dat de persoon in kwestie zijn vrienden opzoekt om problemen in de familie te ontlopen. Even belangrijk in de discussie die hier aan de orde is, is het feit dat in de lijst van de factoren die een invloed hebben, de reclame gewoonweg niet voorkomt.
De dieperliggende psychologische factoren, het zoeken van genot en de drang naar zelfdestructie, waaraan sommige reclamevormen appelleren, spelen bij adolescenten ongetwijfeld een rol, niet alleen om te beginnen roken maar ook om andere typische gedragsvormen te ontwikkelen. Zij zijn echter niet allesbepalend en naargelang van andere individuele of sociale factoren zullen jongeren er meer of minder door beïnvloed zijn. Uit het Thaise onderzoek is gebleken dat, hoewel reclame deze diepere motivaties misschien tracht te exploiteren, het resultaat hiervan vrijwel nihil is.
Een adolescent die veel aan sport doet of die een passie heeft voor muziek zal minder ontvankelijk zijn voor verslavingen dan diegene die zijn leven niet op een dergelijke wijze weet in te vullen. De mate waarin men hiertoe in staat is heeft te maken met opvoeding, met de gezinssituatie, met de arbeidssituatie, enz.
Een volgende stap van het project bestond erin voor een aantal pilootinstellingen een preventiecampagne te organiseren. Hierbij werd maximaal ingespeeld op de factoren die in de analysefase werden gedetecteerd en de genomen maatregelen zagen er als volgt uit :
Tabel 3 : Aantal leerlingen en leerkrachten die aan een preventieprogramma deelnemen per type van activiteit (alle modelscholen samen).
| Activiteiten Activités |
Deelnemers aan het programma Personnes qui participent au programme |
||
| Leerlingen Élèves |
Leerkrachten Enseignants |
Ratio Ratio |
|
| 1. Psychosociale begeleiding. Guidance psychologique et sociale | 11 725 | 510 | 1:23 |
| 2. « Vrienden helpen vrienden » - Onderlinge hulp aan leeftijdsgenoten. « Les amis aident les amis« - Entraide des pairs | 6 847 | 397 | 1:17 |
| 3. Sportactiviteiten - Sportopleiding. Activités sportives - Éducation sportive | 9 533 | 650 | 1:15 |
| 4. Ethisch en moreel leerprogramma. Programme d'éthique de morale | 4 638 | 67 | 1:69 |
| 5. Ontmoetingen met leiders van leefgemeenschappen en mensenmateriaal in de omgeving. Rencontres avec leaders communautaires et ressources humaines dans l'environnement | 14 670 | 966 | 1:15 |
| 6. Groepsgesprekken - Assertiviteitstraining. Discussion de groupe - Amélioration de l'assertivité | 15 495 | 1 015 | 1:15 |
| 7. Verbetering van de kwaliteit van de fysieke omgeving van de school. Amélioration de la qualité de l'environnement physique de l'école | 12 490 | 617 | 1:20 |
| 8. Ontwikkeling van gemeenschapsdienst. Développement d'activités en faveur de la communauté | 8 275 | 494 | 1:17 |
| 9. « Studeren brengt geld op » - Ontwikkeling van economische activiteiten. « Gagner en étudiant » - Développement d'activités économiques | 13 748 | 891 | 1:15 |
| 10. Reizen, studiereizen. Voyages, excursions d'études | 6 431 | 354 | 1:18 |
· De psychologische en sociale begeleiding wordt toevertrouwd aan leraren die zich hiervoor op vrijwillige basis inzetten en die hiervoor worden opgeleid. Het betreft een permanente begeleiding, niet alleen van de leerlingen maar ook van de gezinnen waarin zich problemen voordoen. Het volstaat derhalve niet op geregelde tijdstippen van overheidswege een informatiefolder naar de scholen te sturen.
· De tweede maatregel heeft tot doel jongeren die verslaafd zijn of tot een risicogroep behoren in contact te brengen met leeftijdsgenoten voor wie die niet het geval is en die eventueel alternatieven kunnen aanbieden.
· Met de derde maatregel wordt getracht de jongeren te helpen hun leven op een meer zinvolle wijze in te vullen, hen tot een andere passie te verleiden.
· Het uitwerken van een ethisch en moreel leerprogramma betekent niet alleen dat men de jongeren bepaalde waarden bijbrengt maar ook dat zij een kritische zin leren ontwikkelen tegenover de media en dat zij reclameboodschappen leren ontcijferen en leren beseffen wanneer zij worden gemanipuleerd.
· De vijfde maatregel houdt in dat men personen naar de scholen brengt die een zeker gezag kunnen laten gelden tegenover de jongeren.
· De zesde maatregel wordt zeer belangrijk geacht. Assertiviteit betekent zelfbevestiging. De jongeren moeten zich bewust worden van hun eigenwaarde. Zij moeten een positief zelfbeeld ontwikkelen zonder dat zij hiervoor bepaalde producten nodig hebben. Zij moeten leren beslissen vanuit hun eigen belang en niet ja zeggen om anderen een plezier te doen. Kortom, nee zeggen tegen verslavingsmiddelen moet een positieve waarde worden.
· De zevende maatregel heeft vooral een symbolische waarde. Een propere omgeving zet ertoe aan ook orde op zaken te stellen in de geest. Er wordt een band gelegd tussen het roken of drinken en het algemene gedrag.
· Met de achtste maatregel worden jongeren ertoe aangezet anderen bij het programma te betrekken en zelf animator van het project te worden. Wanneer zij dit met overtuiging doen, kan dit een zeer grote invloed hebben.
· De negende maatregel moet de jongeren bewust maken van hetgeen de verslaving hun kost en wat zij met deze middelen anders zouden kunnen doen.
· De laatste maatregel strekt ertoe de blik te verruimen.
De heer Pelc legt er de nadruk op dat deze maatregelen allemaal kaderen in een humanistische benadering. Ze zijn gericht op inzicht en gedragsverandering bij de gebruikers of de potentiële gebruikers. Er werden geen voorstellen gedaan inzake een verbod of een reglementering van het gebruik van bepaalde producten.
De volgende stap in het programma was de evaluatie. Deze houdt niet in dat men bij het begin van het programma het aantal rokers, drinkers, druggebruikers telt, dit na twee of drie jaar opnieuw doet en het verschil maakt. Wel moet worden nagegaan in welke mate men in de betrokken doelgroep de verschillende maatregelen gaat incorporeren.
Het team dat het programma heeft uitgewerkt, hechtte hierbij vooral belang aan het feit dat de problematiek een permanent onderwerp van discussie wordt onder de jongeren en dat zij zich op dit vlak assertiever leren opstellen tegenover hun omgeving. Voor de scholen is het belangrijk dat zij een gewoonte ontwikkelen inzake begeleiding en dat dit in hun structuren wordt ingebouwd.
De resultaten mogen wat dit betreft zeer bemoedigend worden genoemd.
De heer Pelc wijst op de ironie van het feit dat precies een Belgisch team een dergelijk programma gaat uitwerken in het verre Oosten. Gezondheidsopvoeding is in ons land immers een braakliggend terrein. Hooguit worden er af en toe initiatieven genomen die zeer beperkt zijn in de tijd en die op geen enkele wijze gecoördineerd zijn.
Zou een degelijk beleid op dit vlak voor de scholen geen gelegenheid kunnen zijn om uit de dagelijkse administratieve sleur te treden, zou het geen meerwaarde kunnen geven aan het beroep van leraar en zou het ten slotte de leerlingen niet de mogelijkheid bieden zelf na te denken over en te werken aan hun lichamelijk en geestelijk welzijn ?
In 1994 werd aan de verantwoordelijken voor het onderwijs het voorstel gedaan hierover na te denken. Concrete plannen zijn vastgelopen in het administratieve en communautaire doolhof van ons land met als gevolg dat men thans nog net even ver staat als drie jaar geleden.
De heer Pelc vestigt vervolgens de aandacht op de structuur van de Hoge gezondheidsraad bij het ministerie van Sociale Zaken, Volksgezondheid en Leefmilieu, die is opgedeeld in een aantal secties. Enkele jaren geleden werd hier de afdeling beschavingsziekten aan toegevoegd, die op haar beurt is onderverdeeld in twee onderafdelingen : verslaving en psychosociale aspecten van ziekten.
In het activiteitenverslag 1996 van de Hoge gezondheidsraad wordt de opdracht van deze sectie omschreven :
« Studies, onderzoeken, evaluaties en adviezen in verband met gezondheidsproblemen en ziekten, die geheel of gedeeltelijk verbonden zijn aan het gedrag van de individuen, de groepen of aan de organisatie van het maatschappelijk leven.
Worden onder andere betrokken, de gezondheidsgedragingen, risicogedragingen, psychosociale factoren, die ziekten doen ontstaan, voortduren of deze verergeren; de kwaliteit van de intermenselijke betrekkingen; het gebruik van stoffen die verslaving induceren .... »
In tegenstelling tot de andere afdelingen die zich kunnen richten op zeer specifieke problemen zoals de dolle-koeienziekte of het aids-virus en hiervoor de nodige middelen krijgen, houdt de opdracht van de afdeling beschavingsziekten alles en niets in.
De afdeling heeft al enkele rapporten uitgebracht over aangelegenheden die tot haar bevoegdheid behoren, maar het ontbreekt haar aan de nodige middelen om een gestructureerde en permanente actie in een van deze domeinen op te zetten. Er is derhalve een structuur, maar geen financiële middelen om die te doen werken.
Bij de opheffing van de wet Vandervelde en de daaraan gekoppelde verhoging van de belasting op sterke dranken werd aan de overheid voorgesteld een deel van deze financiële middelen ter beschikking te stellen van de officiële instanties die verantwoordelijk zijn voor de gezondheidsopvoeding. Dit is gedurende een jaar het geval geweest, maar nadien zijn de middelen in de staatskas gevloeid. Het spreekt vanzelf dat op een dergelijke manier een permanent beleid tegen verslaving onmogelijk is. Een dergelijk beleid zou nochtans slechts een fractie vergen van de honderden miljoenen die de overheid jaarlijks opstrijkt aan indirecte belastingen op tabak en alcohol.
Om deze leemte toch enigszins op te vullen, werd « La Fondation pour l'étude et la prévention des maladies de civilisation » opgericht, een vzw die binnen de budgetten die kunnen worden verzameld, studies en acties ontwikkelt op dit terrein.
De heer Pelc vestigt vervolgens de aandacht op een aantal factoren die volgens hem een verhoogd risico op verslaving inhouden en vermeldt in dit verband de werkloosheid, echtscheiding, stedelijke migratie, minder sterke ouderlijke controle, eenoudergezinnen, vroegtijdig contact met verslavende substanties en gebruik van drugs in familiaal verband.
Dit laatste staat in verband met wat men noemt « het sociale model van de verslaving ». Kinderen gaan niet noodzakelijk roken omdat hun ouders dit doen. Integendeel, vaak zullen zij zich tegen het gedrag van de vorige generaties afzetten. Wat men wel terugvindt in de verschillende generaties van een gezin is het grijpen naar middelen buiten zichzelf in plaats van het eigen potentieel te gebruiken. Zo stelt men bijvoorbeeld vast dat wanneer ouders verslaafd zijn aan farmaceutica, de kinderen beginnen roken of aan de drugs gaan. Het probleem wortelt derhalve vaak in het gezin, maar de drug waarvoor wordt gekozen, wordt bepaald door de vriendenkring.
Hij merkt op dat het aantal sterften aan levercirose ten gevolge van overmatig drinken in het westen van Henegouwen dubbel zo hoog ligt als in de rest van het land. Dit is geen gevolg van het feit dat in deze regio meer reclame wordt gemaakt voor drank, maar hangt vermoedelijk samen met de zeer slechte economische toestand in deze streek.
In deze streek werd in 1995 door Yves Ledoux een onderzoek naar canabisgebruik gedaan bij jongeren van het vijfde jaar middelbaar onderwijs, waarvan de bevindingen hier worden samengevat.
Een eerste grafiek toont in welke mate in de onderzochte groep in aanraking kwam met de drug.
Bereikbaarheid van het cannabisgebruik voor de leerlingen van het 5de jaar secundair onderwijs in West-Henegouwen 1995 n = 540

Aan bijna de helft van de jongeren werd ooit voorgesteld een joint te roken. Belangrijker zijn echter de twee laatste groepen. 22,5 % heeft al hasjies gerookt en 7,2 % heeft zin in een joint wanneer zij zich vervelen. Vooral deze laatste groep loopt het risico verslaafd te raken.
Een tweede grafiek geeft de relatie met hun ouders weer van de jongeren die sporadisch drugs gebruiken.
Canabisgebruik bij leerlingen van het 5de jaar secundair onderwijs in West-Henegouwen 1995 n = 529
Volgens soort ouderlijk gezag « Parental bonding instrument »

In een derde grafiek wordt ten slotte de relatie weergegeven van de jongeren die de drug regelmatig of problematisch gebruiken.
Regelmatig cannabisgebruik op problematiek van de leerlingen van het 5de jaar secundair onderwijs in West-Henegouwen 1995
Volgens soort ouderlijk gezag « Parental bonding instrument »

De vraag of jongeren een groter risico lopen om druggebruiker te worden, heeft derhalve te maken met de ouderlijke controle. Een groot aandeel van de druggebruikers komt uit gezinnen waar er weinig of geen controle is. Dit zegt echter niet alles. De grootste groep van de gebruikers voelt wel degelijk het ouderlijk gezag maar ervaart dit als niet affectief. De affectieve band tussen de ouders en de jongeren is derhalve minstens zo belangrijk als de mate waarin er controle is.
Dit soort zaken staat ver af van de vraag of er al dan niet reclame wordt gemaakt.
De heer Pelc besluit dat de structuren aanwezig zijn om tot een gedegen gezondheidsopvoeding te komen, die de eerste en meest noodzakelijke voorwaarde is om verslaving tegen te gaan. Een dergelijk beleid houdt een veelheid van maatregelen in en het moet een permanent karakter hebben. Eenzijdige maatregelen, die dan nog met grote tussenpozen worden genomen, hebben geen enkele zin.
Een lid verklaart dat de uiteenzetting van de heer Pelc een diepe indruk op haar heeft gemaakt. Verslavingen in het algemeen en tabaksverslaving in het bijzonder zijn het gevolg van een geheel van factoren die elkaar doorkruisen. Een reclameverbod kan dan ook niet het sluitstuk zijn van een beleid in dit verband, maar moet samengaan met een hele reeks andere maatregelen, die inderdaad veel moeilijker te nemen zijn en die van de overheid een permanente inspanning vergen.
Een belangrijke vraag die ook nu weer onbeantwoord is gebleven, is die naar de doeltreffendheid van de reclame. Zet de reclame, met andere woorden, aan tot de consumptie van tabak ? Prof. Frydman heeft in dit verband op overtuigende wijze aangetoond welke perverse technieken de reclamemakers toepassen om de jongeren tot roken aan te zetten, maar hij heeft niet bewezen dat deze technieken in de praktijk resultaat opleveren.
Het argument dat de enorme bedragen die hieraan worden besteed niet voor niets worden uitgegeven, is niet echt overtuigend. Waar men enkele jaren geleden in verkiezingscampagnes nog zwoer bij grote affiches, worden deze thans bijna beschouwd als een gevaar voor de goede werking van de democratie.
Zij vermoedt sterk dat niemand op dit vlak uitsluitsel kan geven en dat het hier derhalve een onontgonnen terrein voor wetenschappelijk onderzoek betreft. Persoonlijk is zij geneigd de heer Frydman te geloven wanneer hij beweert dat het tabaksgebruik in Frankrijk spectaculair gedaald is na de instelling van het reclameverbod. Er is hiertoe echter geen enkele objectieve basis. Enkele weken geleden zijn in deze commissie andere sprekers net het tegenovergestelde komen beweren.
Op basis van hetgeen de heer Pelc verklaard heeft, kan men overigens besluiten dat deze vraag niet op een dergelijke algemene wijze kan worden beantwoord. Men zou ook andere factoren in rekening moeten brengen en zien wat hiervan de invloed geweest is op de evolutie van het aantal rokers.
Een volgende spreekster vraagt of er een dwingend verband kan worden vastgesteld tussen het sociale milieu waarin men leeft en het risico om verslaafd te worden.
De heer Frydman herinnert aan hetgeen hij vorige week reeds heeft gezegd. Zelf leidt hij reeds 20 jaar een programma inzake gezondheidsopvoeding. Preventie van tabaksverslaving is inderdaad slechts mogelijk in een geheel van maatregelen dat de jongeren leert in volledige autonomie te beslissen wat goed voor henzelf is.
Een verbod op tabaksreclame is hiervan slechts een onderdeel, maar het is een belangrijk onderdeel. Reclame is immers de enige factor die rechtstreeks de consumptie beïnvloedt. De andere factoren die door de heer Pelc werden vernoemd, kunnen het risico in meerdere of mindere mate beïnvloeden, maar zij zijn als dusdanig niet determinerend. Men kan cijfers in dit verband natuurlijk altijd betwisten. De gegevens die hij heeft verstrekt, zijn echter afkomstig van de SEITA, die, gezien het feit dat de tabaksindustrie erin vertegenwoordigd is, toch als een onverdachte bron mag worden beschouwd.
De bewering van de industrie dat reclame alleen verschuivingen tussen merken zou teweegbrengen, wordt door geen enkel onafhankelijk onderzoek bevestigd. Dat de jongeren in Thailand de reclame niet vermelden bij de factoren die hen aanzetten tot roken, is begrijpelijk. Zoals werd uiteengezet, zijn de reclametechnieken veel geraffineerder en werken zij in op het onbewuste. Men beseft de invloed niet die zij uitoefenen, maar die is er wel degelijk.
De heer Pelc bevestigt dat de cijfers die door de heer Frydman werden geciteerd over de verkoop van tabak in Frankrijk, afkomstig zijn van de SEITA, de regie voor de tabak in Frankrijk. Zelf heeft hij gegevens van het Comité d'éducation pour la santé die het tegenovergestelde bewijzen. Gezien de bronnen waarvan de cijfers afkomstig zijn, staat men hier voor een vreemde situatie en het zou goed zijn dat die nader wordt onderzocht.
Ook hiervoor is de structuur aanwezig. Binnen de Hoge Gezondheidsraad werd recent, samen met professor Bogaert van de universiteit van Gent, de cel « technologie assessment » opgericht, die binnen afzienbare tijd een literatuurstudie zal afleveren over de resultaten van consensusbeleid inzake methadon. Niets belet dat met een minimum aan middelen een commissie wordt opgericht die ook deze kwestie onderzoekt. Dit kan echter niet op basis van twee of drie documenten.
Hij legt er nogmaals de nadruk op dat meer in het algemeen geen enkele ernstige studie een verband bewijst tussen reclame voor tabaksproducten en het gebruik ervan. Ook een uitgebreid onderzoek naar de resultaten van een volledig verbod in een aantal OESO-Lid-Staten, dat in 1993 is verschenen, blijft het antwoord op deze vraag schuldig. (Michael J. Stewart. « The effect on tobacco consumption of advertising bans in OECD countries », International journal of advertising, Volume 12, number 2, 1993).
De heer Pelc merkt vervolgens op dat er in Thailand inderdaad geen rechtstreeks verband werd vastgesteld tussen de sociale situatie waarin men zich bevindt en het risico op verslaving. Zoals reeds gezegd, wordt het risico immers niet bepaald door een enkele factor, maar door een combinatie van omstandigheden en individuele kenmerken. Vandaar dat hij er nogmaals wil op wijzen dat onderzoek op dit vlak zoveel mogelijk op plaatselijke omstandigheden gericht moet zijn. De risico's voor sociaal zwakkeren liggen in Henegouwen bijvoorbeeld helemaal anders dan in Antwerpen omdat tal van andere omgevingsfactoren verschillen.
Dit neemt niet weg dat sommige factoren sterker doorwegen dan andere. De wijze waarop het ouderlijk gezag wordt uitgeoefend, de affectieve banden in het gezin lijken elementen die overal, zowel in Thailand als in het Westen, een belangrijke rol spelen.
Een lid merkt op dat blijkbaar nog steeds geen wetenschappelijk materiaal voorhanden is dat uitsluitsel biedt over de invloed van reclame op de consumptie van tabaksproducten. Zelf is zij geneigd de heer Frydman te geloven. De reclamesector is niet alleen een sector waar veel geld naartoe gaat, er is ook een grote vakkennis aanwezig, die zowel gebaseerd is op onderzoek als op de evaluatie van de eigen campagnes.
Reclame doet overigens meer dan alleen een product aanprijzen. Zij creëert ook behoeften en meer nog, zij bepaalt in zekere mate de normen voor het maatschappelijk gedrag. Men moet als individu dan ook al een sterke persoonlijkheid hebben om daartegenover een kritische en onafhankelijke houding aan te nemen.
Wanneer die normen rechtstreeks ingrijpen in de gezondheid en de samenleving hiervoor de prijs moet betalen, heeft deze samenleving het recht de reclame aan banden te leggen. Vanzelfsprekend zal dit niet volstaan en moeten begeleidende maatregelen genomen worden. Deze maatregelen mogen echter geen alibi zijn om een verbod op tabaksreclame op de lange baan te schuiven.
Een volgende spreekster is het eens met de opvatting dat reclame een belangrijk onderdeel van ons economisch bestel is en beantwoordt aan dezelfde wetten. Dit systeem is erop gericht productie en dus ook consumptie te maximaliseren, wat leidt tot het creëren van nieuwe behoeften.
Men kan echter niet ontveinzen dat mede hierdoor aan de instelling van een reclameverbod ook een belangrijk sociaal aspect verbonden is en dat een beslissing terzake grondig moet worden overwogen vooraleer zij wordt genomen.
De Kamer van volksvertegenwoordigers heeft de moed gehad dit vergaande voorstel goed te keuren en dat is een belangrijk politiek signaal. De Senaat zou echter in zijn plicht tekortschieten indien hij het hierbij zou laten en zich niet zou beraden over eventuele bijkomende maatregelen die, zoals de sprekers hebben aangetoond, noodzakelijk zijn om het roken terug te dringen.
Een volgende intervenant is de beide sprekers dankbaar omdat het debat zoals het hier wordt gevoerd onmiskenbaar een aantal zaken duidelijk maakt waar de Kamer van volksvertegenwoordigers al te vlug overheen is gegaan.
Er is op dit ogenblik geen enkele wetenschappelijke zekerheid dat een reclameverbod een gevoelige vermindering van de consumptie van tabaksproducten tot gevolg zou hebben. Het enige aanknopingspunt dat men hier heeft, is de situatie in Frankrijk en de meningen zijn wat dit betreft op zijn zachtst gezegd verdeeld.
Dit is belangrijk. Het zou immers onverantwoord zijn een maatregel te nemen die zware gevolgen heeft voor de werkgelegenheid, maar waarvan nadien zou blijken dat, hoe goed bedoeld ook, het effect nihil is.
Het is evident dat inzake reclame niet alles kan en dat reglementerend moet worden opgetreden. De Senaat zou echter, na al hetgeen hier gezegd is, zwaar tekortschieten wanneer hij zich van deze aangelegenheid zou afmaken door het voorliggende voorstel zonder meer goed te keuren en zich niet te beraden over maatregelen die werkelijk bijdragen tot een vermindering van de tabaksconsumptie, in het bijzonder bij jongeren.
Mevrouw Lambert geeft een samenvatting van het akkoord dat in de Verenigde Staten werd bereikt tussen openbaar ministerie, de gezondheidsorganisaties en de tabaksindustrie. Dit akkoord is ongetwijfeld een mijlpaal in het streven naar een vermindering van het tabaksgebruik.
Het akkoord heeft als doel een grote vooruitgang te boeken in het voorkomen van het tabaksgebruik, vooral bij minderjarigen, door een deel van de gezondheidszorgkosten veroorzaakt door het tabaksgebruik te laten financieren door de tabaksindustrie en door de verkoop, distributie, marketing en reclame van tabaksproducten te beperken.
Het akkoord werd op vrijdag 20 juni 1997 door de betrokken partijen ondertekend en moet nog worden geratificeerd door het Congres en goedgekeurd en ondertekend door de president van de VS.
Het is de vraag in welke mate de bepalingen hierbij overeind zullen blijven. Het betreft een monsterakkoord dat in een twaalftal punten kan worden samengevat.
Een eerste en belangrijke reeks maatregelen heeft tot doel de beschikbaarheid van tabak voor jongeren te beperken en omvat met name :
een totaal verbod op de verkoop aan jongeren jonger dan 18 jaar. Het bewijs van de leeftijd kan gebeuren via identiteitscontrole;
het bepalen van het minimum aantal sigaretten per pakje op 20 en verbieden van de verkoop van individuele sigaretten;
het verbieden van gratis monsters;
een verbod op alle verkoopautomaten;
de plaatsing van tabaksproducten achter de toonbank en buiten het bereik van de verbruikers. Er is geen zelfbediening van tabaksproducten toegelaten;
bijkomende beperkingen op de postorderverkoop (De betrokken firma's moeten aantonen dat er een effectief systeem bestaat dat de verkoop zich beperkt tot volwassenen.);
een nationaal licentiesysteem voor de verkopers van tabaksproducten met graduele boetes en schorsingen voor overtredingen op de beschikbaarheid voor jongeren en op de marketingbepalingen zoals vastgelegd. Het licentiesysteem geldt voor alle verkopers van nicotinebevattende producten, met inbegrip van producenten, verdelers, groothandelaars, kleinhandelaars en importeurs;
de mogelijkheid voor Staten en de lokale overheden om regels vast te leggen.
De huidige beperkingen op tabaksreclame in de Verenigde Staten zijn miniem. Het akkoord eist beperkingen die in België reeds van kracht zijn of in het wetsontwerp voor een totaal reclameverbod zijn opgenomen, zoals :
het verbieden van alle menselijke beelden en cartoon-personages op alle reclames en alle sigarettenpakjes (cf . Marlboro Man, Joe Camel);
uitsluitend zwart-wit tekstuele reclames in tijdschriften en kranten die zich richten naar jongeren;
het verbieden van het gebruik van niet-tabaksmerknamen als merknamen van tabaksproducten;
het verbieden van het gebruik van logo, naam of slogan op niet-tabaksproducten, zoals kledij en uitrusting;
het verbieden van geschenken bij aankoop van tabaksproducten;
de eis dat reclames een FDA-gemandateerde verklaring « nicotine leveringssysteem » dragen;
het verbieden van sponsoring van evenementen met inbegrip van sport en culturele evenementen;
het verbieden van alle reclameborden en uithangborden, met inbegrip van borden in stadia en arena's en borden die naar buiten gericht zijn in gesloten ruimtes zoals winkels;
bijkomende beperkingen op de reclame in verkooppunten : beperken van de afmetingen en aantallen, verwijderen uit het zicht van kinderen, verwijderen uit de dichte nabijheid van snoepgoed en andere goederen die kinderen aantrekken;
het verbieden van Internet-reclame en het akkoord dat elke beschikbare techniek zal worden gebruikt om tabaksreclame die op Internet wordt geplaatst vanuit het buitenland niet toegankelijk is in de VS;
het verbieden van productplaatsing in films en op TV;
het verbieden van elke betaling of vergoeding van bekendheden om te roken in films of op TV of van elke andere persoon of entiteit om tabaksgebruik aantrekkelijk, betoverend voor te stellen in films of op TV en het verbod op elke activiteit die deze bedoelingen heeft;
zonder de gewone bevoegdheid van het FDA te beperken, het beperken van het gebruik van woorden, zoals « light », die tegenwoordig worden gebruikt in sommige productnamen en die zouden kunnen worden geïnterpreteerd als gezondheidsaanspraken.
Er zullen fondsen worden vrijgemaakt voor het grootste, meest ondersteunde, nationaal opvoedingsprogramma en tegenreclame.
Er komt een herziening van het systeem van de gezondheidswaarschuwingen, naar het voorbeeld van de Canadese waarschuwingen. Zij bevatten waarschuwingen zoals :
« Waarschuwing : Sigaretten zijn verslavend. »
« Waarschuwing : Sigaretten veroorzaken kanker. »
« Waarschuwing : Roken kan je doden. »
« Waarschuwing : Tabaksrook veroorzaakt dodelijke longziektes bij niet-rokers. »
De waarschuwingen worden aangebracht op de voorzijde van de sigarettenpakjes en de meest opvallende zijde van de verpakking van rookloze tabaksproducten.
De waarschuwingen verschijnen volgens Canadees voorbeeld op het bovenste deel van de voorzijde in witte letters op een zwarte achtergrond. De waarschuwing omvat minstens 25 % van de voorzijde van het pakje. De waarschuwingen roteren per trimester op reclames per merk.
De tabaksindustrie wijzigt zijn positie met betrekking tot de schade veroorzaakt door zijn producten. Niet-gepubliceerde en vertrouwelijke documenten (met inbegrip van interne documenten) moeten openbaar worden gemaakt. Op deze regel zijn wel uitzonderingen mogelijk, bijvoorbeeld wat handelsgeheimen betreft.
De industrie is onderhevig aan boetes indien het tabaksgebruik bij jongeren niet daalt met 30 % op vijf jaar, 50 % op zeven jaar en 60 % op tien jaar tijd.
De boetes zullen worden gebaseerd op de waarde voor de industrie vn een jongere roker over het gehele leven van een individu. De basis voor de meting van het rookgedrag bij jongeren zal een gemiddelde zijn van de prevalentie van de voorbije tien jaren.
De boetes kunnen dalen met maximum 75 % indien de industrie kan aantonen dat zij alle mogelijke maatregelen heeft genomen om het rookgedrag te doen dalen, maar dat desondanks de bovenvermelde percentages niet werden gehaald.
Actieve inspanningen van tabakspreventie door de Staten en de lokale gemeenschappen blijken succesrijk te zijn in het verminderen van het tabaksgebruik. De huidige programma's zijn echter ondergefinancierd en de financiering van deze programma's is in gevaar.
Volgens het akkoord zullen activiteiten van tabakspreventie van de Staten en lokale gemeenschappen volgens het succesrijke ASSIST-programma worden gefinancierd door fondsen van de tabaksindustrie.
Uit de fondsen die door de industrie zullen worden ter beschikking gesteld zal financiering worden voorzien voor programma's en technieken van rookstop voor diegenen die willen stoppen met roken en voor wie de kostprijs een probleem is. Deze fondsen worden ter beschikking gesteld van alle individuen in het gehele land.
Tot op heden bestaat er geen federale wetgeving of standaard met betrekking tot het tabaksgebruik in openbare plaatsen.
Het akkoord zal het tabaksgebruik in openbare plaatsen en de meeste werkplaatsen beperken tot afzonderlijke ruimten met ventilatie, waarvan de vervuilde lucht naar buiten wordt afgevoerd en waar niet-rokers niet moeten voorbijkomen.
Om sterke tegenkanting van de horecasetor te vermijden worden restaurants (met uitzondering van fastfoodrestaurants), casino's, bingoplaatsen en bars vrijgesteld.
De Belgische wetgeving is zeker wat dit betreft een stuk strenger.
De federale wetgeving zal Staten en lokale gemeenschappen niet belemmeren om meer beperkende maatregelen te behouden of in werking te stellen.
In de VS bestaan er momenteel geen mechanismen die verzekeren dat de industrie haar cultuur wijzigt en zicht schikt naar de letter of de geest van de bestaande wetgeving.
Volgens het akkoord zullen :
producenten een gedetailleerd plan van inschikkelijkheid met de wetgeving moeten ontwikkelen, met een beschrijving van hoe zij van plan zijn zich te schikken naar de wet;
bedrijven stimulerende plannen moeten opstellen om de cultuurwijziging aan te moedigen en interne controles om overtredingen vast te stellen en te rapporteren;
bedrijven een gedragscode moeten opstellen met externe monitoring, een auditsysteem en verslagen voor de aandeelhouders en het FDA.
De huidige juridische betwisting van bevoegdheid door de industrie zou worden stopgezet en de bevoegdheid van het FDA zou expliciet worden bevestigd. Tabak zou gecategoriseerd blijven als een drug en een middel onder de « Food, Drug and Cosmetic Act » en de macht van het agentschap om de producten als medisch middel te reguleren zal worden erkend.
De FDA-bevoegdheid om nicotine, carinogenen en alle andere bestanddelen van tabak te reguleren zal worden erkend. Het Agentschap zal hiertoe een Wetenschappelijke adviesraad oprichten.
Het FDA moet kunnen aantonen dat er geen zwarte markt zal ontstaan naar aanleiding van nicotinebeperkingen, waar sigaretten met een hoog nicotinegehalte zullen worden verhandeld.
Alle niet-tabakingrediënten in tabaksproducten zullen moeten voldoen aan veiligheidsstandaarden vastgesteld door het FDA, met de bewijslast bij de industrie om aan te tonen dat zij niet schadelijk zijn bij gebruik zoals bedoeld.
Tabaksbedrijven moeten het FDA voorzien van alle informatie met betrekking tot de additieven en moeten alle additieven openbaar maken naar analogie met de openbaarheid van voedingsingrediënten.
Van bedrijven zal vereist worden de beste beschikbare technieken te gebruiken om producten met « verminderd risico » te produceren en verkopen ».
Impliciete gezondheidsaanspraken zoals « laag teergehalte » en « laag nicotinegehalte » worden strikt gereguleerd door het FDA.
Het FDA zal het recht invoeren op inspectie van de bedrijven, op inzage en behoud van verslagen.
De industrie moet het FDA voorzien van alle huidige en toekomstige onderzoeken en alle niet-publieke informatie met betrekking tot gezondheid, toxiciteit, verslaving en afhankelijkheid.
De tabaksindustrie zal ongeveer 368,5 miljard dollar betalen gespreid over 25 jaar, met inbegrip van ongeveer 60 miljard als schadevergoeding voor haar vroeger gedrag.
Het recht van individuen om schadevergoedingen te eisen, blijft behouden. De industrie is volledig aansprakelijk voor schadevergoedingen aan individuen voor toekomstig gedrag. Tabaksbedrijven moeten vier miljard dollar per jaar reserveren voor het betalen van schadevergoedingen voortvloeiend uit individuele rechtszaken.
De door de procureurs-generaal ingespannen processen zullen wettelijk worden geregeld als tegenprestatie voor de toegevingen op het vlak van gezondheid. De industrie zal een substantieel bedrag aan de staten betalen ter vergoeding van de tabaksgerelateerde kosten die zij hebben opgelopen. De financiering aan de staten is voldoende groot om de ziekteverzekering uit te breiden naar niet-verzekerde kinderen.
Groepsprocessen, zogenaamde « class action suits » zullen ook wettelijk worden geregeld. Toekomstige groepsprocessen op basis van het vroegere gedrag van de tabaksindustrie zullen niet worden toegestaan.
De tabaksindustrie zal alle lopende rechtszaken tegen het FDA stopzetten.
Het Tabaksinstituut en de Raad voor tabaksonderzoek worden ontbonden.
Mevrouw Lambert geeft vervolgens een aantal bedenkingen bij het akkoord.
Het akkoord bevat bepalingen die in België en andere Europese landen reeds in werking zijn, omdat de federale maatregelen van tabakspreventie in de VS veel beperkter zijn dan de maatregelen die in België reeds genomen zijn : de huidige beperkingen op tabaksreclame en het wetsontwerp voor een totaal reclameverbod, de regeling rond het teer- en nicotinegehalte, de waarschuwingen op pakjes, de taksatie op tabaksproducten. In de VS bedragen de taksen slechts 30 % van de prijs tegenover 75 % in België. Het akkoord van de VS treedt dus in de plaats van wettelijke maatregelen die de Belgische overheid reeds heeft genomen.
Het akkoord in de VS brengt schade toe aan de tabaksindustrie in de VS, maar heeft alleen kracht van werking in de VS. De tabaksindustrie zal haar markt in de VS willen bestendigen en de markten buiten de VS (Azië, ontwikkelingslanden, Oost-Europa, de vroegere Sovjet-Unie) willen uitbreiden. Met andere woorden, de problematiek van het tabaksgebruik wordt geëxporteerd.
Het belangrijkste resultaat van het akkoord voor het buitenland is de schuldbekentenis van de tabaksindustrie dat tabak verslavend is en dat de industrie zich richt naar jongeren. Met het akkoord echter wint de tabaksindustrie immuniteit tegen hoge schade-eisen van staten of groepen van individuen.
De financiering door de tabaksindustrie (370 miljard dollar) zal worden verrekend aan de Amerikaanse rokers via een prijsverhoging van tabaksproducten. Die zullen ongeveer drie dollar per pakje betalen, hetgeen overeenkomt met een forse verhoging van de taksen en waarmee de prijs ongeveer op Noord-Europees niveau komt.
De meeste bepalingen van het akkoord zullen binnen het jaar na goedkeuring door het congres en ondertekening door de president in voege treden.
Het akkoord in de VS en de schade-eisen in de rest van de wereld zouden kunnen leiden tot een wereldwijd akkoord.
In reactie op het akkoord werd door de belangrijkste gezondheids- en anti-tabaksorganisaties een internationale verklaring opgesteld, waarin de bezorgdheid wordt geuit voor de (internationale) gevolgen van ondertekening en inwerkingtreding van het akkoord.
De verklaring omvat dertien aanbevelingen, waaronder :
de eis dat de tabaksindustrie in de VS akkoord gaat met een internationale gedragscode op het vlak van marketing naar kinderen, reclame en marketing, etikettering en acties ter vermindering van het aantal nieuwe jonge rokers.
de eis dat de tabaksindustrie in de VS aanbiedt om de buitenlandse overheden (gezondheidsdiensten) te vergoeden.
de eis dat de tabaksbedrijven jaarlijks tien miljard dollar bijdragen aan de WGO of andere internationale organisaties voor programma's van tabakspreventie.
Begin juni had in Brussel een congres plaats rond schade-eisen tegen de tabaksindustrie onder auspiciën van de kankerorganisaties. Het congres kwam onder meer tot het besluit om de acties in de Europese Unie om gezondheidszorgkosten te recupereren op de tabaksindustrie te coördineren.
Het akkoord heeft als gevolg voor onder andere België dat de reglementering op een zelfde niveau dient te worden gebracht : bijvoorbeeld inzake gezondheidswaarschuwingen en het verbod op verkoopautomaten.
De procesvoering verloopt anders in de VS dan bijvoorbeeld in België. Zij gebeurt op « no win, no fee »-basis. In Europa moeten advocaten altijd worden betaald (niet alleen ingeval van een positieve uitkomst) en de schadevergoedingen die in Europa reeds zijn uitgesproken, liggen minstens tienmaal lager dan in de VS. In België, in tegenstelling tot Frankrijk, beschikken de gezondheidsorganisaties niet over de rechtspersoonlijkheid noch over de middelen om een rechtszaak in te spannen.
Een lid dankt de spreekster voor haar duidelijk overzicht van dit erg complexe dossier. Vanuit principieel oogpunt is dit akkoord alleszins belangrijk omdat de tabaksindustrie de gezondheidsrisico's van het roken erkent. Een land als België staat ongetwijfeld een stuk verder dan de Verenigde Staten wat het reglementeren van het tabaksgebruik betreft, maar toch komen in het akkoord een aantal zaken voor die ook bij ons het overwegen waard zijn. Het beperken van de beschikbaarheid van sigaretten voor jongeren door bijvoorbeeld verdeelautomaten te verbieden, kan inderdaad een sterk ontradend effect hebben.
Zij wijst erop dat het akkoord tot stand is gekomen in een specifieke Amerikaanse juridische context, die sterk verschilt van de situatie in Europa. De wijze waarop processen kunnen worden ingeleid en de manier waarop de advocatuur is georganiseerd, maakt het in de Verenigde Staten gemakkelijker via enorme schadeclaims de producenten tot toegevingen te dwingen. Men kan zich echter de vraag stellen of een dergelijk stelsel van rechtsprocedures, waarbij hele industrieën kunnen worden gegijzeld, niet evenveel nadelen als voordelen heeft.
Een andere spreekster merkt op dat deze hoorzitting kadert in de bespreking van een wetsontwerp dat een volledig verbod van tabaksreclame en van sponsoring door tabaksproducenten beoogt. Wat is precies de toestand op dit vlak in de Verenigde Staten en hoe staat de organisatie die door mevrouw Lambert wordt vertegenwoordigd zelf tegenover een dergelijk verbod ?
Mevrouw Lambert antwoordt dat ook met dit akkoord de regels inzake tabaksreclame in de Verenigde Staten een stuk soepeler zijn dan bij ons. Er mogen weliswaar geen reële of fictieve personen meer worden getoond in reclameboodschappen, maar sfeerbeelden zijn nog steeds toegelaten.
Ook blijft reclame in bepaalde media, zoals film en televisie, mogelijk, wat in België niet het geval is. De reclame mag niet gericht zijn tot jongeren en in het kader van dit verbod kan de FDA verhinderen dat reclameteksten worden opgenomen in media (tijdschriften) die zich specifiek tot jongeren richten. Men kan zich de vraag stellen wat de efficiëntie is van een dergelijke maatregel. Het overgrote deel van de media richt zich immers niet specifiek tot de jongeren, maar die komen er wel mee in contact.
Belangrijk is evenwel dat tegenover deze soepele regeling inzake reclame een absoluut verbod inzake sponsoring van welk soort evenementen ook staat.
Het standpunt van het Coördinatiecomité algemene tabakspreventie verschilt niet van dat van de Nationale coalitie tegen tabak. De organisatie is voor een volledig verbod van directe en indirecte reclame en van sponsoring. De ervaring leert immers dat elke regulering wat de vorm of de inhoud van de boodschappen betreft of inzake de media, direct wordt omzeild.
Een lid meent dat uit de toestand in de Verenigde Staten een aantal lessen kunnen worden getrokken.
Vooreerst blijkt ook hier dat het instellen van een reclameverbod niet volstaat om het tabaksgebruik terug te dringen. Dezelfde maatregelen komen steeds terug : een verbod op kleine verpakkingen en een verbod op verdeelautomaten evenals informatiecampagnes die vooral op jongeren gericht zijn en die worden gefinancierd door een belasting op rookwaren.
Voorts kan men zich de vraag stellen of een verbod op de verkoop van sigaretten aan jongeren in een land als België enige zin zou hebben. Hierdoor zou alleszins de verantwoordelijkheid voor het tabaksgebruik in deze groep worden verlegd van de producenten naar de detailhandelaar, wat niet de bedoeling kan zijn.
Ten slotte kan men vaststellen dat ook in de Verenigde Staten een verbod op sponsoring belangrijker wordt geacht dan een reclameverbod. Sponsoring heeft immers, zeker op de jongeren, een veel grotere impact dan de klassieke vormen van reclame. Het wetsontwerp dat thans voorligt, zou dan ook elke zin verliezen indien via amendementen uitzonderingen worden ingevoerd die sponsoring van autowedstrijden of culturele activiteiten mogelijk maken.
Zij wijst er vervolgens op dat tot nog toe niemand in het kader van dit debat cijfers over de evolutie van het tabaksgebruik in het algemeen of bij jongeren, in België of in andere Europese landen, heeft voorgelegd die niet worden betwist. Dit doet vragen rijzen bij de verplichting die de Amerikaanse tabaksproducenten op zich hebben genomen om de consumptie bij jongeren over een periode van tien jaar met 60 % te verminderen. Wie zal dit kunnen controleren ?
Mevrouw Lambert antwoordt op dit laatste dat voor het bepalen van het aantal jongeren die roken, in de Verenigde Staten wordt uitgegaan van het gemiddelde over de voorbije tien jaar. Wie de tellingen uitvoert en op welke wijze dit gebeurt, is in het akkoord omschreven. De cijfers worden verzameld door één universitair centrum, dat door alle betrokkenen wordt erkend.
Het cijfermateriaal in België is inderdaad zeer diffuus. Het OIVO doet op regelmatige tijdstippen enquêtes bij volwassenen, die de trends in het rookgedrag weergeven.
Dit gebeurt echter niet bij de groep jongeren. De Europese Commissie doet in het kader van haar programma « Europa tegen Kanker » enquêtes, maar die gebeuren op onvoldoende regelmatige basis om betrouwbare informatie over de evolutie op te leveren.
In Vlaanderen doen de universiteiten van Gent en Antwerpen geregeld tellingen bij de groep van 11- tot 18-jarigen, onder auspiciën van de Wereldgezondheidsorganisatie. In het kader hiervan zijn wel betrouwbare cijfers beschikbaar voor de jaren 1990, 1994 en 1996, waardoor ook een evolutie zichtbaar wordt. Deze gegevens hebben echter alleen betrekking op de toestand in Vlaanderen.
Het gebrekkige cijfermateriaal is evenwel niet alleen kenmerkend voor deze aangelegenheid, maar is een probleem waar men in de hele sector van de gezondheidspreventie mee te kampen heeft.
Het spreekt voor zich dat, wanneer men in het beleid duidelijke doelstellingen wil formuleren inzake een vermindering van de tabaksconsumptie, er een concept moet zijn over de wijze waarop het cijfermateriaal wordt vergaard, dat op een brede consensus kan rekenen.
De heer Michiels, die zowel voor nationale als internationale bureaus heeft gewerkt, stelt eerst en vooral nooit te hebben meegemaakt dat een campagne met zogenaamde « verdoken verleiders » werd gevoerd. Dat neemt niet weg dat dergelijke campagnes mogelijk wel ooit werd en gevoerd. De heer Michiels verduidelijkt zijn standpunt over reclame, enerzijds op basis van zijn eigen ervaring en anderzijds op basis van lectuur over dit onderwerp.
Waarom rookt men ?
Naast de nicotine is er alles wat te maken heeft met stress, vluchten, de viriliteit die door bepaalde campagnes wordt naar voor gebracht, het pauzemoment, enz. Er is een samengaan van rationele en, vooral, emotionele argumenten. Dat niet zozeer rationele redenen doorslaggevend zijn, wordt aangetoond door het feit dat ondanks de waarschuwing voor het gevaar van roken op het pakje zelf, ondanks de steeds hogere prijs waardoor twee elementen van de marketing worden bespeeld, zijnde het product en de prijs en ondanks allerhande campagnes, de resultaten wat betreft het terugdringen van het tabaksverbruik gering zijn.
Hoe komt men tot roken ?
Vele studies wijzen uit dat de sociale omgeving de peers belangrijk is. Het product zien liggen, het merk aanwezig zien in alle mogelijke vormen en uiteraard reclame beïnvloeden het roken.
De vraag is dan : hoe werkt reclame ? Zet het de mensen tot roken aan of doet zij veeleer rokers van merk veranderen ?
Volgens de heer Michiels is reclame vooral effectief om bestaande rokers van merk te doen veranderen. Dat komt doordat er iets bestaat als « selectieve perceptie » : de mensen zien alleen die dingen waarmee zij bezig zijn.
Wie zich een auto wenst aan te schaffen, ziet de autoreclame; wie niet in zo'n fase zit, merkt die reclame niet op. Dat geldt ook voor de rokers.
Het effect van reclame op niet-rokers mag evenwel niet worden uitgesloten.
De heer Michiels heeft de indruk dat in de discussie over het wetsontwerp twee dingen door mekaar worden gehaald en dat « de kar vóór het paard wordt gespannen ».
Het gaat immers om de bescherming van de burgers, meer bepaald de jongeren, tegen de schadelijke gevolgen van het roken en niet zozeer om de tabaksreclame op zich. Naar reclame kijken op zich is niet schadelijk, roken wel.
De hoofdvraag is dus : hoe bereiken dat de mensen niet meer roken of niet beginnen met roken ?
De heer Michiels vraagt zich af wat het effect kan zijn van het verbod van tabaksreclame en hoe men het best kan bereiken dat jongeren niet beginnen met roken.
De beslissende invloeden op het roken, zoals de sociale omgeving, de productaanwezigheid in de distributie en de merkaanwezigheid op allerhande manifestaties, blijven. Sommigen zeggen zelfs dat er een verhoogde aantrekkingskracht, vooral op jongeren, zou uitgaan van wat verboden is. Het effect van het verbod op tabaksreclame moet dus worden gerelativeerd.
De ervaringen met reclameverbod in het buitenland zijn niet eenduidig. Er zijn landen waarin ondanks het reclameverbod, het verbruik toch is toegenomen.
Reclame verbieden om het tabaksverbuik te doen dalen, is een oversimplificatie; de sleutel om tabaksverbruik te bestrijden ligt niet in het verbieden van de reclame maar in het voeren van antitabakscampagnes.
Men dient mensen, jongeren, te motiveren niet te roken. In het debat over het wetsontwerp wordt gedeeltelijk naast de kwestie gepraat.
Wanneer niet-roken sociaal aantrekkelijk wordt gemaakt, wanneer de jongeren rationeel en vooral emotioneel worden gemotiveerd om niet te roken, is er een redelijke kans dat de boodschap doordringt.
Een lid is het ermee eens dat de tabaksreclame slechts een onderdeel is van het probleem. Anti-rookcampagnes zijn van hun kant ook slechts één van de middelen om het rookgedrag te beïnvloeden. Zij begrijpt niet dat wanneer tabaksreclame weinig invloed zou hebben, anti-rookcampagnes wel zouden inwerken op het gedrag van jongeren.
De heer Michiels preciseert dat naar zijn mening tabaksreclame minder invloed heeft op personen die niet roken dan op personen die wel roken. Welnu, jongeren die zouden willen roken, zullen open staan voor een anti-tabaksreclame.
Het lid vraagt nog welke bezwaren er kunnen zijn tegen een verbod op tabaksreclame. Is dat een slechte maatregel ?
Volgens de heer Michiels zal het effect hiervan klein zijn. Misschien kan het effect geraamd worden op maximaal 10 %. Waarom zou men inwerken op die 10 % en niets doen voor de overblijvende 90 % ?
Bovendien, waar zal dat beleid ophouden ? Kan men reclame gaan verbieden voor alle producten die vrij in de handel verkrijgbaar zzijn maar die op een of andere manier schadelijk worden geacht voor de gezondheid ?
Een spreekster vindt dat er campagnes moeten worden gevoerd, meer bepaald in de scholen, om de jongeren te motiveren om niet te roken. De Gemeenschappen, bevoegd voor onderwijs, dienen hun verantwoordelijkheid op te nemen en de leerprogramma's aan te passen.
Een ander lid onthoudt uit de uiteenzetting van de heer Michiels dat de reclame slechts één element is van het probleem. Een globale aanpak is noodzakelijk. Er moeten eerst en vooral maatregelen komen om het product minder zichtbaar te maken. Er werd reeds gesuggereerd verdeelautomaten te verbieden.
Zij is het eens met de opmerking dat de reclame slechts een gegeven is dat jongeren ertoe aanzet te beginnen roken, maar zij betwijfelt de bewering als zou de invloed hiervan erg beperkt zijn.
De heer Michiels herhaalt dat de reclame niet van overwegend belang is om iemands houding te bepalen. Het moeilijkst, in alle domeinen, is iemand overtuigen met iets te beginnen. Minder moeilijk is het een bepaald koopgedrag te bestendigen. De reclame heeft dus invloed op personen die een bepaald product gebruiken of consumeren. Op de personen die (nog) niet tot die categorie behoren, heeft de reclame een invloed die geraamd kan worden op 0 tot 5 %.
In ieder geval lost het reclameverbod niets of alleszins weinig op. Zoals reeds eerder gezegd, dient men de rokers te motiveren om niet meer te roken. Bovendien schept men een precedent en dreigt men achteraf een reclameverbod voor alcohol in te voeren en ... uiteindelijk voor alles.
Sedert 10 jaar wordt een oplossing gezocht, maar men zit op de verkeerde piste. Het wetsontwerp betekent een schijnoplossing.
Een lid merkt op dat de reclame ongetwijfeld het gedrag beïnvloedt. De heer Michiels zegt dat naar reclame kijken weinig invloed heeft, maar wat dan te denken van geweld op tv ?
De heer Michiels repliceert dat er weliswaar een effect is, maar het is groter bij gebruikers dan bij niet-gebruikers.
Hij herhaalt dat het verbod op reclame het probleem niet oplost.
Het lid vindt ook dat de vergelijking met andere producten niet opgaat. Voor andere goederen bijvoorbeeld auto's is er geen sprake van verslaving.
De heer Michiels herhaalt zijn stelling dat de invloed van reclame voor tabak geraamd mag worden op maximum 10 %; die van anti-tabakscampagnes op 90 %. Als men beide campagnes naast mekaar laat bestaan, waarvoor hij pleit, zullen de anti-tabakscampagnes het pleit winnen. Die wijze van optreden is meer aanvaardbaar dan zaken te verbieden.
Het gevaar bestaat overigens dat de publieke opinie zou kunnen denken dat het probleem is opgelost zodra het reclameverbod is ingesteld. Welnu, er is dan nog niets opgelost; zolang het product in de winkels ligt, blijft men roken. Zeggen dat tabaksreclame moet worden verboden omdat tabak schadelijk is, is een simplificatie die niet correct is. Men moet de burgers overtuigen niet te roken en daarvoor de reden opgeven, namelijk de schadelijkheid van tabak.
Een spreekster merkt op dat het niet de bedoeling is het proces te maken van de reclame. De commissie wil onderzoeken wat de invloed is van tabaksreclame op het verbruik en wat de invloed is op jongeren van campagnes door de tabaksindustrie zelf die erop gericht zijn het tabaksverbruik af te raden. De tabaksindustrie heeft dit voorgesteld als tegenprestatie voor het behoud van de reclame elders.
Gelet op hetgeen de heer Michiels in zijn uiteenzetting heeft gezegd, zou zo een ontradingscampagne effect kunnen hebben.
Een ander lid gelooft niet dat het verbod op reclame alles oplost; het kan wel een factor zijn in een pakket maatregelen.
De heer Michiels is hiervan overtuigd. Hem is een anti-tabaksreclame in Groot-Brittannië bekend die resultaat heeft opgeleverd. Hij verwijst naar de reclame voor melk die een aantal jaren geleden werd gevoerd. Sindsdien heeft melk een positief imago gekregen.
Tijdens voorgaande hoorzittingen is gezegd dat reclame voor tabak hoofdzakelijk gericht is op jongeren, door de toon die wordt gehanteerd, de keuze van de beelden, ... Uit de analyse van tabaksreclame in de VS blijkt dat die reclame vooral jonge meisjes viseert van 11 à 12 jaar, gelet op de emotionele ondertoon en de stijl ervan.
Kan de heer Michiels bevestigen dat reclame jongeren viseert ? Wat denkt hij daarvan ?
Wat is de interne ethiek van de reclamesector ? Welke grenzen legt de sector zichzelf op en welke zijn de recente evoluties in de ethiek of de gedragscode die de sector hanteert ?
De heer Michiels is van mening hij spreekt wat dit punt betreft overigens in eigen naam dat men niet van de reclamesector mag verwachten dat hij gaat oordelen of een product schadelijk is of niet.
De vraag is of het product wettelijk toegelaten is of niet. De norm is derhalve de wet.
Over wat vrij te koop is, moet vrij kunnen worden gecommuniceerd (freedom of commercial speech).
Wanneer er iets mis is met een product, dan moet de verloop van dat product worden gereguleerd en niet de reclame ervoor.
Het is logisch dat reclame gericht is op de jongeren, want bij hen begint de levenscyclus van een product. Dat is een marketingbeginsel. Een gouden regel bij campagnes gericht op jongeren is : maak geen jongerencampagne. Wat een jongere wil, is volwassen zijn. Een campagne gericht op jongeren als zodanig is contraproductief.
Reclame die alleen gevoerd wordt in een jongerenmedia is evenmin productief; de campagne moet breder, algemener, zij het jong van stijl en kleur, worden gevoerd.
Een lid verwijst nog naar de campagne in tabakswinkels, waar te lezen staat dat zij geen tabak verkopen aan jongeren. Volgens een deskundige gehoord in een voorgaande zitting, is zo een campagne crimineel omdat zij tot doel heeft jongeren te provoceren en hen aan te zetten tot roken.
De heer Michiels repliceert dat die campagne misschien provocatief is, maar het is ook provocatief om reclame voor tabak te verbieden. Door het verbod in te stellen, kan roken bij een aantal jongeren aan aantrekkelijkheid winnen.
Een spreekster merkt nog op dat zij voorstander is van anti-rookcampagnes. Van de andere kant vindt zij dat men tabak niet mag aanprijzen. Men zou zelfs de pakjes moeten uniformiseren, zo neutraal mogelijk maken en de emotionaliteit wegnemen.
Nu wordt rond het roken een sfeer gecreëerd. Wanneer de sfeer wordt geneutraliseerd, vermindert ook de aantrekkingskracht van het product.
Een andere spreekster vraagt nog in welke mate de reclame-sector gebruik maakt van de techniek van de « verborgen verleiders » die op het onderbewuste inwerken.
De heer Michiels antwoordt dat in alle campagnes waaraan hij heeft deelgenomen, zowel nationale als internationale, nooit over dergelijke technieken werd gesproken. Hij sluit evenwel niet uit dat het gebeurt. Van praktische toepassingen in België heeft hij nochtans geen kennis.
De heer Michiels merkt nog op dat de reclamesector op die manier niet functioneert. De sector tracht op een creatieve manier een boodschap over te brengen, meer niet. Sublimale technieken zijn volgens hem overigens niet toelaatbaar.
Artikel 2
De heer Coene dient een amendement (nr. 28) in dat ertoe strekt de verkoop van tabaksproducten aan minderjarigen te verbieden en de installatie van distributieautomaten voor tabaksproducten slechts toe te laten in plaatsen die niet toegankelijk zijn voor minderjarigen.
De indiener verklaart dat hij de algemene doelstelling achter het ontwerp, het ontmoedigen van het tabaksverbruik bij jongeren, ten volle kan onderschrijven.
Hij is evenwel van oordeel dat een algemeen verbod op reclame voor tabaksproducten hiertoe niet het geëigende middel is. Bovendien heeft een dergelijk verbod ernstige consequenties op het economische vlak.
Het amendement strekt ertoe een alternatief aan te reiken. De verkoop van tabaksproducten aan jongeren wordt zonder meer verboden. Een consequentie hiervan is vanzelfsprekend dat de jongeren niet langer de mogelijkheid hebben sigaretten te kopen via distributieapparaten.
Een lid merkt op dat tijdens de hoorzittingen verschillende argumenten werden aangebracht tegen een volledig verbod op de verkoop van tabaksproducten aan jongeren. Ook de anti-tabaksorganisaties zijn in dit verband geen vragende partij.
Zij kan daarentegen wel het tweede deel van het amendement onderschrijven, dat ertoe strekt de installatie van distributieapparaten een banden te leggen.
Een andere spreker is van oordeel dat het amendement de verkoop van tabaksproducten regelt en niet de reclame. Als dusdanig valt het buiten het bestek van dit ontwerp.
Het amendement wordt verworpen met 7 tegen 3 stemmen bij 3 onthoudingen.
Artikel 3
De heer Coene dient een amendement (nr. 29) in dat tot doel heeft een wettelijk verbod in te stellen op het gratis verspreiden van tabaksproducten.
Een dergelijk verbod is nu reeds bij koninklijk besluit ingesteld.
Dit amendement wordt ingetrokken.
De heer Verreycken dient een amendement (nr. 33) in dat ertoe strekt de verbodsbepalingen in het ontwerp uit te breiden tot cannabisproducten.
Een lid beaamt dat het weinig zin heeft de tabaksreclame aan banden te leggen, maar tegelijk de promotie voor het gebruik van softdrugs die veel schadelijker zijn voor de gezondheid toe te laten.
Het amendement wordt verworpen met 8 stemmen tegen 1 stem bij 4 onthoudingen.
De heren Hatry en Coene dienen een amendement (nr. 14) in dat ertoe strekt reclame voor tabaksproducten toe te laten aan de voorgevel van alle lokalen waar die producten gewoonlijk te koop zijn.
Een indiener stipt aan dat het amendement tot doel heeft een discriminatie in de huidige tekst weg te werken. Die bepaalt immers dat alleen in en aan de voorgevel van tabakswinkels en krantenwinkels reclame voor tabaksproducten mag worden gevoerd. Dit is discriminerend tegenover andere verkopers van tabakswaren.
Het amendement wordt aangenomen met 10 tegen 2 stemmen.
De voorzitster vestigt vervolgens de aandacht op de amendementen van de heer Ph. Charlier en mevrouw Milquet (nr. 6), van mevrouw Lizin (nr. 7), van de heer Foret (nr. 8 tot nr. 13), van de heer Delcroix (nr. 15), van de heren Hatry et Foret (nr. 16 tot nr. 27) en van de heren Foret, Happart, Ph. Charlier cs. (nr. 32) die weliswaar een verschillende inhoud hebben, maar die alle tot doel hebben in het ontwerp een uitzondering in te schrijven voor de sponsoring en het beschermheerschap van sportevenementen met motorvoertuigen en/of culturele manifestaties.
Een lid beaamt dit. Tijdens de bespreking in de commissie voor de Financiën en Economische Aangelegenheden lijkt een meerderheid te zijn gegroeid rond de tekst van het amendement nr. 32, dat voor advies aan de Raad van State werd voorgelegd.
In zijn advies bevestigt de Raad van State vooreerst de bevoegdheid in deze materie van de federale overheid. Naast een aantal tekstcorrecties wordt er in dit advies op gewezen dat afwijkingen van het sponsoringverbod slechts kunnen indien zij gesteund zijn op objectieve criteria die redelijk verantwoord zijn. Tevens suggereert het advies een bepaling in te voeren die voorziet in de voorwaarde dat de afwijking van het reclameverbod enkel verleend kan worden ten aanzien van evenementen waarvan is aangetoond dat hun financiering in ruime mate afhankelijk is van het beschermheerschap of de sponsoring door de tabaksindustrie.
Spreker deelt mee dat deze opmerkingen werden verwerkt in een nieuw amendement nr. 35 van de heer Foret cs. De voorgestelde bepaling biedt de mogelijkheid reclame te voeren voor tabaksproducten in het kader van de beschermheerschap of de sponsoring van sportevenementen met motorvoertuigen en motorboten of van culturele evenementen en dit tijdens de zes weken die het evenement voorafgaan.
De afwijking wordt op basis van door de Koning vastgestelde criteria toegestaan voor een termijn van drie jaar die kan worden verlengd. De afwijking kan echter slechts worden toegestaan indien wordt aangetoond dat de financiering of het voortbestaan van die evenementen in hoofdzaak afhankelijk zijn van de sponsoringgelden.
Een ander lid vindt vooreerst dat de tekst van het amendement erg onduidelijk is en de deur openzet voor willekeur. Wie gaat immers bepalen vanaf welk financieringspercentage het voortbestaan van een sportevenement in het gedrang komt ? Is een evenement dat voor vijf of tien procent door tabaksreclame wordt gefinancierd in zijn voortbestaan bedreigd wanneer deze middelen wegvallen ?
Overigens is er nog steeds de grootste onduidelijkheid over het aandeel van de tabaksreclame in de inkomsten van de grote autosportevenementen. Door de organisatoren worden aandelen van 30 tot 40 % vermeld maar deze cijfers worden door anderen in twijfel getrokken. Het is de vraag in hoeverre hierop controle mogelijk is.
Zij wijst er echter op dat aan deze bepaling ook een belangrijk principieel aspect verbonden is. Tijdens de hoorzittingen is immers ten overvloede gebleken dat sponsoring van autosport en muziekfestivals veel ingrijpender is dan de klassieke vormen van reclame via advertenties of affichering. Het is overigens maar al te duidelijk dat de tabaksindustrie zich langs deze weg richt op de groep van de jongeren met het doel de markt voor tabaksproducten te vergroten.
Door in het ontwerp een uitzondering voor deze vormen van reclame in te bouwen wordt de tekst in belangrijke mate uitgehold.
Een derde spreker merkt op dat in de Commissie voor de Financiën na een diepgaande discussie, een grote meerderheid bereid werd gevonden dit amendement te steunen. Het betreft hier dan ook een evenwichtige bepaling waarbij volgens strikte criteria en binnen een beperkte tijdsspanne afwijkingen kunnen worden toegestaan op het algemene reclameverbod dat door het ontwerp wordt ingesteld.
Niemand betwist momenteel nog dat roken schadelijk is voor de gezondheid en dat het verbruik van tabaksproducten moet worden afgeremd. Vanuit deze vaststelling een algemeen verbod inzake reclame opleggen, gaat echter te ver.
De centrale vraag is immers of bepaalde evenementen, die vanuit economisch en cultureel oogpunt uitermate belangrijk zijn, zowel in het noorden als in het zuiden van het land, niet gedoemd zijn te verdwijnen indien men van de ene dag op de andere hun belangrijkste financieringsbron wegneemt. De kans is niet denkbeeldig dat de organisatoren worden gedwongen hun activiteiten naar het buitenland te verleggen. Een aantal Oost-Europese landen zou maar al te graag evenementen zoals Formule-1-wedstrijden aantrekken. De voordelen hiervan gaan dan voor ons land verloren, maar de reclameboodschappen zullen via televisie en de geschreven pers evengoed voor de Belgische consument toegankelijk blijven.
Naast de economische gevolgen zou het verdwijnen van dergelijke evenementen ook het imago van België in het buitenland ernstige schade toebrengen. Het betreft hier immers sterk internationaal gerichte initiatieven die een weerklank hebben in heel Europa en zelfs op wereldvlak.
Hij legt er hierbij de nadruk op dat ook in het amendement een sterke rem op tabaksreclame is ingebouwd. De afwijking van het reclameverbod wordt slechts toegekend voor een termijn van drie jaar, die de organisatoren de mogelijkheid moet geven deze bron van inkomsten geleidelijk af te bouwen. Zij weten immers dat na deze periode hun situatie opnieuw zal worden geëvalueerd.
De bepaling geeft de organisatoren derhalve de zekerheid dat zij hun sponsoringactiviteiten nog drie jaar kunnen voortzetten en daardoor niet in financiële of juridische problemen komen wegens contractbreuk tegenover sponsors. Tegelijk is zij echter een stimulans om in deze periode van drie jaar naar nieuwe sponsors uit te kijken en zich aan de nieuwe situatie aan te passen.
Hij beaamt dat het amendement bepaalt dat een afwijking van het reclameverbod slechts mogelijk is indien het voortbestaan van het evenement grotendeels afhankelijk is van het beschermheerschap van de tabaksindustrie. Het is moeilijk hier vaste percentages op te leggen omdat het in de praktijk onmogelijk is precies in te schatten wat dergelijke evenementen financieel en economisch aanbrengen. Naast de directe financiële weerslag voor de organisatoren, die wel kan worden bepaald, zijn er de indirecte gevolgen voor de horeca, het toerisme, enz. die in de rand van het evenement nieuwe economische activiteiten doen ontstaan die moeten worden verrekend in de positieve resultaten van het evenement.
Het lid verklaart overigens dat wat hem betreft, men ook naar andere financieringsmechanismen voor de genoemde sectoren kan zoeken. De ervaring in Frankrijk en Finland leert echter dat dit niet evident is.
Vertrekkend vanuit de vaststelling dat tabak schadelijk is voor de gezondheid, zou het politiek moediger geweest zijn om het roken gewoonweg te verbieden of de prijs van tabaksproducten met 10 à 15 % te verhogen. Deze laatste maatregel zou wel een daling van het tabaksgebruik tot gevolg hebben, maar tegelijk een flinke hap betekenen in de inkomsten van de overheid. Vandaar dat in de praktijk meestal wordt gekozen voor de gemakkelijkste oplossing : het roken zelf wordt op geen enkele manier aan banden gelegd maar er wordt wel een strikt verbod inzake tabaksreclame ingesteld. Een zekere mate van hypocrisie is in deze aangelegenheid derhalve nooit ver weg.
Het amendement kiest voor een redelijke oplossing die erop gericht is alle betrokkenen ertoe aan te zetten mettertijd hun verantwoordelijkheid op te nemen. Uit studies blijkt overigens dat het publiek dat naar autoraces gaat gemiddeld tussen 25 en 35 jaar oud is. Deze mensen hebben reeds een keuze gemaakt tussen roken en niet-roken. Een of meer affiches met tabaksreclame op het circuit zullen hierop weinig of geen invloed hebben.
Een lid stipt aan dat de voorgaande spreker, uitgaande van zijn redenering, de politieke moed zou moeten hebben tegen het geheel van het voorstel te stemmen.
Wat de tekst van het amendement betreft, herinnert zij aan hetgeen bij herhaling tijdens de hoorzittingen bevestigd is. Een uitzondering op het reclameverbod voor de sponsoring van culturele en sportieve activiteiten is volkomen tegen de geest van het ontwerp en holt dit volledig uit. Dit is immers precies de meest efficiënte vorm van reclame om jongeren ertoe aan te zetten te beginnen roken.
Zij waarschuwt voorts voor de perverse gevolgen van de bepaling die stelt dat de afwijking slechts voor drie jaar wordt toegekend maar verlengbaar is. De organisatoren hebben er met het oog op deze verlenging immers alle belang bij ervoor te zorgen dat zij afhankelijk blijven van tabaksreclame.
Zij verklaart dat zij overigens begrip kan opbrengen voor de situatie van organisatoren, die inderdaad het gevaar lopen van de ene dag op de andere zonder inkomsten te vallen. Een overgangsregeling zou bijvoorbeeld kunnen bestaan in een niet-verlengbare afwijkingsperiode of in de oprichting van een fonds dat de organisatoren de mogelijkheid biedt gedurende een bepaalde periode naar nieuwe sponsors te zoeken zonder in financiële moeilijkheden te komen.
De bepaling die hier wordt voorgesteld is echter een stimulans om de sponsoring door tabaksproducenten maximaal in stand te houden.
Een senator kan zich hierbij aansluiten. Zij ziet niet hoe een regeling die tabaksreclame toelaat, de burger ertoe zou aanzetten zijn verantwoordelijkheid op te nemen.
Ook nu weer komt men met het argument aandragen dat de reclame niemand ertoe aanzet te beginnen roken. Vanuit dit oogpunt is het echter nog steeds niet duidelijk waarom de tabaksproducenten elk jaar miljarden besteden aan publiciteit.
Andere sprekers hebben er reeds terecht op gewezen dat, indien dit amendement aangenomen wordt, het ontwerp zijn zin verliest. Het feit dat de periode gedurende welke van het reclameverbod kan worden afgeweken, hernieuwbaar is, zal inderdaad voor de organisatoren een stimulans zijn om voor een aanzienlijk deel van hun inkomsten een beroep te blijven doen op tabaksreclame.
Een andere senator kan zich bij de twee vorige spreeksters aansluiten. De sector van de interactieve reclame is momenteel in volle ontwikkeling ten nadele van de meer klassieke reclame-instrumenten. Tijdens de hoorzittingen is duidelijk gebleken dat, vooral naar de groep van de jongeren toe, sponsoring en beschermheerschap, waarbij de doelgroep in direct contact wordt gebracht met het product of het merk, een stuk efficiënter zijn dan bijvoorbeeld affichering of advertenties.
Het ontwerp zal inderdaad zijn doel voorbijschieten indien precies voor deze nieuwe reclamevormen een uitzondering wordt ingebouwd.
Een lid verklaart dat hij tijdens de hoorzittingen vooral werd getroffen door het verschil in opvattingen binnen de academische wereld over de invloed van reclame op het rookgedrag.
Hij wenst in het bijzonder te herinneren aan de goed onderbouwde en genuanceerde visie die door professor Pelc werd vertolkt. Hieruit bleek ten overvloede dat er geen oorzakelijk verband is tussen tabaksreclame enerzijds en het rookgedrag anderzijds. Het verbruik van tabakswaren is ingebed in een sociale en individuele context die uitermate complex is, maar waarop kan worden ingewerkt. Het instellen van een algemeen reclameverbod is een spectaculaire maatregel, die echter aan het rookgedrag weinig of niets zal veranderen omdat hij gericht is op een product en niet op de persoon van de roker of op zijn omgeving.
Hij legt er de nadruk op dat het tot nog toe precies de verdienste van de Senaat is geweest deze dimensie van het probleem in het debat te betrekken. De Kamer van volksvertegenwoordigers is hier immers volledig aan voorbijgegaan.
Hij wijst erop dat tegenover deze twijfels over de doelmatigheid die vanuit wetenschappelijke hoek tegen het ontwerp worden geformuleerd, de economische impact van een reclameverbod staat. Het is immers met concrete cijfers bewezen dat een aantal belangrijke manifestaties, die economische activiteit en tewerkstelling aanbrengen, onmogelijk kunnen overleven zonder deze vorm van publiciteit.
Wie deze twee vaststellingen in eer en geweten tegen elkaar afweegt, kan volgens hem het voorgestelde amendement alleen maar onderschrijven.
Het lid besluit dat hij zich vanzelfsprekend bij een democratische beslissing van deze commissie zal neerleggen. Hij hoopt evenwel voor diegenen die thans pleiten voor een algemeen reclameverbod, dat zij niet door de bevolking ter verantwoording worden geroepen indien over een aantal jaren zou blijken dat op het economische vlak een hoge prijs werd betaald maar dat het tabaksgebruik nauwelijks of helemaal niet is gedaald.
Een vorige spreekster wees erop dat wie het amendement steunt, de moed zou moeten hebben tegen het ontwerp in zijn geheel te stemmen. Omgekeerd kan men echter ook stellen dat wie de logica achter het ontwerp consequent volgt, slechts tot de conclusie kan komen dat de verkoop van tabakswaren en van alle andere producten die de gezondheid kunnen schaden, volledig moet worden verboden.
Een andere spreker merkt op dat niemand betwist dat het gebruik van tabaksproducten schadelijk is voor de gezondheid. Men moet in deze aangelegenheid, wat het aspect reclame betreft, echter ook beseffen dat België geen eiland is in Europa. België is waarschijnlijk zowat het meest bekabelde land binnen de Europese Unie. Het reclameverbod op het nationale vlak zal niet kunnen verhinderen dat de Belgische consument via de buitenlandse pers en de televisie met dit soort reclame geconfronteerd wordt. Het zou voor de kabelmaatschappijen onmogelijk zijn elk televisiebeeld dat een sigarettenmerk toont, weg te knippen.
Indien ons land op dit vlak derhalve een voortrekkersrol wenst te vervullen, zou het er beter aan doen binnen Europa de discussie op gang te brengen over een algemeen verbod over heel de Unie. Het eenzijdig instellen van een reclameverbod in België zal zware economische gevolgen hebben, maar zal voor het overige niets opleveren.
Dit huis bewijst overigens hoe moeilijk het is via algemene verbodsbepalingen het gedrag van individuen te beïnvloeden. Ondanks het feit dat er in België een algemeen rookverbod in openbare plaatsen geldt, stelt men vast dat dit noch in de commissiezalen noch in de meeste andere ruimten van het gebouw wordt nageleefd.
Een lid beaamt dat individueel gedrag van een complex van factoren afhankelijk is. Indien men er werkelijk wil toe komen dat jongeren minder gaan roken, dan moet inderdaad op een reeks van factoren worden ingewerkt. Vanuit dit oogpunt is een verbod op tabaksreclame echter principieel uitermate belangrijk. Een dergelijk verbod heeft immers een zeer belangrijke signaalfunctie.
Zij kan zich dan ook aansluiten bij de bezwaren die door een aantal andere leden bij het voorliggende amendement werden geuit. Het feit dat de afwijking op het reclameverbod om de drie jaar kan worden hernieuwd, zal de organisatoren van autosportwedstrijden er niet bepaald toe aanzetten de financiering via sponsoring af te bouwen. Welke objectieve redenen rechtvaardigen overigens dat in de tekst een onderscheid gemaakt wordt tussen de sporten met motorvoertuigen en de andere sporttakken ?
Daarbij komt nog dat ons land een veelheid van « culturele evenementen » kent, die mekaar dan ook zeer dicht opvolgen in de tijd. De regel dat de sponsorings activiteiten zes weken voor het evenement van start mogen gaan, zal tot gevolg hebben dat langs deze weg vrijwel permanent tabaksreclame in het straatbeeld wordt gebracht.
Een volgende spreker merkt op dat iedereen het er wel over eens is dat roken de gezondheid schaadt en dat daarom het tabaksgebruik moet worden afgeremd. Wanneer echter de overheid maatregelen in dit verband neemt, moet zij zoals in andere beleidsdomeinen de doelmatigheid hiervan afwegen tegenover de ingezette middelen.
Uit hoorzittingen met diverse betrokken partijen is wat dit betreft alleszins een zaak duidelijk gebleken : een reclameverbod zal geen invloed hebben op het gebruik van tabaksproducten. Tabaksreclame beïnvloedt weliswaar in belangrijke mate de marktaandelen van de diverse producenten, maar heeft geen uitbreiding van de markt tot gevolg. Dit geldt ook voor andere sectoren. Zo heeft bijvoorbeeld de reclame voor wasmiddelen niet tot doel de consumenten ertoe aan te zetten om meer te wassen, maar wel om over te schakelen naar producten van een ander merk.
Indien de overheid werkelijk de wil heeft het roken aan banden te leggen, zal zij moeten overgaan tot andere maatregelen, bijvoorbeeld een gevoelige verhoging van de prijs van de sigaretten.
Een aantal andere leden hebben reeds gewezen op de negatieve gevolgen van het voorstel op het economische vlak. Belangrijke sportieve en culturele evenementen zullen niet verdwijnen, maar vermoedelijk verhuizen naar het nabije buitenland, zodat zij voor de Belgische consument bereikbaar blijven zonder dat onze economie er enig voordeel uit haalt.
Bovendien zal het ontwerp leiden tot de discriminatie van Belgische tabaksproducenten die zich op de binnenlandse markt richten tegenover hun buitenlandse concurrenten. Deze laatsten hebben immers voldoende mogelijkheden om zich via de kabel of via buitenlandse kranten en tijdschriften tot de Belgische consument te richten.
Hij besluit dat hij om deze redenen de geringe doelmatigheid tegenover de hoge kostprijs op het economische vlak inderdaad tegen het ontwerp in zijn geheel is en dit persoonlijk liefst zou willen weggestemd zien. Daar er hiervoor blijkbaar geen meerderheid kan worden gevonden, is hij evenwel bereid het voorgestelde amendement te ondersteunen. Men kan er echter niet omheen dat dit in slechts zeer beperkte mate tegemoet komt aan de bezwaren tegen het ontwerp en een reeks bureaucratische beslommeringen invoert.
Hij betreurt hoe dan ook dat de hele problematiek van het tabaksgebruik door dit ontwerp op het ideologische vlak is getrokken en dat dit ten koste moet gaan van doelmatige oplossingen die een echt afradend karakter hebben.
Een lid antwoordt op een vorige spreker, dat een algemeen Europees verbod op tabaksreclame inderdaad verkieslijk zou zijn. Waarom zou België echter in dit verband alleen een voortrekkersrol kunnen spelen door binnen de Europese Unie onderhandelingen op gang te brengen ? Ons land zou integendeel een sterk signaal aan de andere Lid-Staten kunnen geven door dit ontwerp aan te nemen.
Zij wijst erop dat de indieners van het ontwerp zich bewust waren van de eventuele moeilijkheden die een te plotse invoering van een reclameverbod zou kunnen teweegbrengen voor organisatoren van sportieve en culturele evenementen en daarom de datum van inwerkingtreding hebben vastgesteld op 1 januari 1999. Sinds de indiening van de tekst is er echter al heel wat tijd verstreken.
Zij stelt daarom voor dat de inwerkingtreding met een paar jaren wordt uitgesteld. Dit zou meteen het voorgestelde amendement overbodig maken, aangezien alle organisatoren van evenementen ruim de tijd krijgen zich aan het verbod aan te passen. Bovendien wordt een belangrijk bezwaar tegen het amendement uit de weg geruimd. Er is immers geen discriminatie meer tussen de verschillende soorten evenementen. Iedereen wordt op dezelfde wijze behandeld.
Een senator begrijpt de redenering niet die hier door de tegenstanders van een reclameverbod wordt gevolgd. Het is inderdaad zo dat het rookgedrag van een individu afhankelijk is van verschillende individuele en sociale factoren. In dit verband is het belangrijk dat ten aanzien van jongeren aan gezondheidsopvoeding wordt gedaan.
Een reclameverbod past echter volledig in een dergelijk beleid. Het is immers absurd dat de overheid belangrijke middelen gaat investeren om een mentaliteitswijziging bij jongeren teweeg te brengen, maar tegelijk de industrie de mogelijkheid biedt miljarden te investeren om het roken aan te moedigen.
Een lid beaamt dat hier op een erg onzindelijke wijze wordt geredeneerd. Zij herhaalt dat diegenen die tot nog toe hun steun hebben uitgesproken voor het voorliggende amendement, op basis van de argumenten die zij aanvoeren alleen tegen het ontwerp in zijn geheel kunnen stemmen.
Een spreker verklaart dat hij dit zal doen indien zou blijken dat het amendement, dat tot doel heeft tot een redelijke consensus te komen, op onvoldoende steun kan rekenen.
Hij is overigens van oordeel dat ook diegenen die hier een volledig reclameverbod bepleiten, niet erg consequent zijn. Ten gevolge van de milieuvervuiling, de hoge ozongehaltes, de verkeersongelukken is het autorijden minstens even schadelijk voor de volksgezondheid als het roken. Nochtans hoort men hier niemand pleiten voor een verbod op autoreclame. Heeft dit misschien te maken met het feit dat men hierdoor al te veel mensen voor het hoofd zou stoten ?
Een verantwoord beleid in beide sectoren bestaat er volgens hem in dat via een geheel van maatregelen aan een mentaliteitswijziging wordt gewerkt en dat men niet tracht zand in de ogen te strooien via spectaculaire verbodsbepalingen die alleen negatieve gevolgen hebben.
Dergelijke verbodsbepalingen hebben alleen zin wanneer ze in Europees verband worden genomen.
Het amendement nr. 35 wordt aangenomen met 7 tegen 3 stemmen, bij 3 onthoudingen.
De amendementen nrs. 6 tot 13, 15 tot 27 en 32 worden ingetrokken aangezien zij door de aanneming van het amendement nr. 35 overbodig zijn geworden.
De heer Coene dient vervolgens een amendement (nr. 34) in dat ertoe strekt de paragraaf 2bis , 3º, van het ontwerp te vervangen door een nieuwe tekst.
Hij verduidelijkt dat de huidige tekst problemen schept voor firma's en producenten waarvan de naam overeenkomt met een sigarettenmerk. Een beperkte enquête leert dat ten gevolge van de in de tekst gehanteerde criteria op zijn minst 30 firma's niet langer de mogelijkheid zouden hebben reclame te voeren voor producten die op geen enkele manier in verband staan met tabak.
Dit is in strijd met het Verdrag van Parijs over het gebruik van merknamen. Het amendement reikt een oplossing voor dit probleem aan door de minister van Volksgezondheid de mogelijkheid te bieden, op basis van een aantal duidelijke criteria reclame voor deze merken toe te staan. Via deze procedure kan worden voorkomen dat de betrokken merken worden misbruikt om onrechtstreeks toch reclame te maken voor tabak.
Dit amendement wordt eenparig aangenomen door de 13 aanwezige leden.
Artikel 3bis (nieuw)
Mevrouw Cantillon en mevrouw de Bethune dienen een amendement (nr. 36) in waarbij een verbod wordt ingesteld op de verkoop van tabaksproducten via distributieapparaten of in zelfbediening en waarbij wordt bepaald dat sigaretten moeten worden verkocht in verpakkingen van minimum twintig stuks.
Een indienster stipt aan dat het eerste deel van het amendement dicht bij de tekst staat die door de heer Coene in zijn amendement nr. 28 werd voorgesteld. De drie bepalingen, die geïnspireerd zijn door de hoorzittingen, hebben vanzelfsprekend in eerste instantie tot doel de drempel om te roken voor jongeren te verhogen.
De indiener van het amendement nr. 28 antwoordt hierop dat zijn tekst tot doel heeft een alternatief te bieden voor het reclameverbod in het ontwerp, via dwingende maatregelen die jongeren van het roken moeten afhouden.
De hier voorgestelde bepalingen zijn andermaal gekenmerkt door hun repressieve karakter, daar waar uit de hoorzittingen vooral is gebleken dat een gedrags- en mentaliteitsverandering op de meest efficiënte wijze wordt bereikt via positieve stimuli.
Bovendien is er een tegenstelling tussen de eerste twee leden van het amendement. Het tweede lid bepaalt dat bij de verkoop van sigaretten het overhandigen van het product slechts mag gebeuren na het betalen. Dit is nu net wat distributieapparaten doen, maar deze worden door het eerste lid verboden.
Het verwondert een indienster van het voorliggende amendement dat de vorige spreker, die zelf bij amendement voorstelt de verkoop van sigaretten aan jongeren te verbieden, haar tekst te repressief vindt.
Het lid repliceert dat zijn amendement gericht is op de bescherming van jongeren. Men mag ervan uitgaan dat zij niet alle consequenties van hun gedrag op dit vlak ten volle kunnen inschatten. Volwassen echter moet men trachten met argumenten te overtuigen. Ten aanzien van hen zijn dergelijke verbodsbepalingen overbodige plagerijen.
Een ander lid herinnert aan zijn bedenking bij het amendement nr. 28. Ook de hier voorgestelde bepaling heeft tot doel de verkoop van tabakswaren te regelen en niet de reclame voor deze producten. Hij vindt derhalve dat het amendement in een afzonderlijk voorstel van wet moet worden omgezet.
Hierop trekken de indiensters hun amendement in.
Artikelen 4 tot 4quinquies
De heer Coveliers dient amendementen (nr. 1 tot nr. 5) tot wijziging van artikel 4 en tot invoering van een artikel 4bis tot 4quinquies in, die ertoe strekken de straffen op de niet-naleving van de bepalingen van het ontwerp te beperken tot geldboeten.
Een lid merkt op dat de jongste jaren veel vragen worden gesteld bij de korte gevangenisstraffen, die overigens vaak niet worden uitgevoerd. Zeker in een materie als deze is een geldboete een stuk efficiënter dan een straf waarbij de overtreders in de reeds overvolle gevangenissen worden gestopt.
De amendementen nrs. 1 en 2 worden aangenomen met 9 tegen 2 stemmen bij 2 onthoudingen.
Het amendement nr. 3 wordt aangenomen met 6 tegen 3 stemmen bij 4 onthoudingen.
Het amendement nr. 4 wordt aangenomen met 9 tegen 2 stemmen bij 2 onthoudingen en het amendement nr. 5 wordt aangenomen met 10 tegen 2 stemmen bij 1 onthouding.
De heer Coene verklaart vervolgens dat zijn amendement nr. 30 wenst in te trekken aangezien dit overbodig is geworden tengevolge van de goedkeuring van het amendement nr. 1.
Mevrouw Cantillon en mevrouw de Bethune stellen bij amendement (nr. 37) voor een artikel 4sexies in te voegen, dat de mogelijkheid biedt verenigingen zonder winstoogmerk die op het terrein actief zijn, de mogelijkheid te geven in rechte op te treden.
Een indienster verduidelijkt dat uit de praktijk blijkt dat heel wat wetsbepalingen in de sfeer van de bescherming van de consument, de volksgezondheid of het leefmilieu dode letter blijven omdat de rechtstreeks betrokkenen zich niet kunnen of durven tot de rechtbank wenden. Dit kan worden voorkomen door de belangenorganisaties de mogelijkheid te geven in rechte op te treden. In een aantal domeinen wordt deze techniek overigens reeds met succes toegepast.
Een lid merkt op dat deze techniek weliswaar een aantal voordelen biedt, maar ook gevaren van rechtsmisbruik inhoudt. Het zou daarom goed zijn dat eerst een evaluatie wordt gemaakt van de praktijk in dit verband in andere sectoren, vooraleer nieuwe machtigingen in dit verband worden gegeven. Naar zijn oordeel hoort een dergelijke bepaling overigens niet thuis in een wettekst over tabaksreclame.
De indiensters trekken hierop hun amendement in.
Artikel 5
De heer Coene dient een amendement (nr. 31) in dat ertoe strekt dit artikel te doen vervallen.
Hij stipt aan dat dit artikel het koninklijk besluit van 20 december 1982 opheft. Het koninklijk besluit bevat evenwel nog een aantal bepalingen die niet door dit ontwerp worden geregeld. De tekst kan derhalve niet zonder meer worden opgeheven.
Een lid voegt hieraan toe dat het koninklijk besluit van 20 december 1982 de voorwaarden bepaalt waaronder tabaksreclame mogelijk is. Ten gevolge van de aanneming van het amendement nr. 35 is het noodzakelijk dat dit besluit van kracht blijft.
Het amendement wordt aangenomen met 9 stemmen bij 4 onthoudingen.
Artikel 6
Mevrouw Delcourt dient een amendement (nr. 38) in dat dit artikel wil vervangen.
Zij wijst erop dat artikel 6 van het ontwerp bepaalt dat de wet in werking treedt op 1 januari 1999, met uitzondering van artikel 4, dat in werking treedt op de dag van haar bekendmaking in het Belgisch Staatsblad .
De indieners van het ontwerp willen immers dat het nieuwe stelsel met straffen waarin artikel 4 voorziet, onmiddellijk wordt toegepast.
Bij overtreding van de koninklijke besluiten betreffende tabaksproducten die tussen nu en 1999 zijn of zullen worden genomen ter uitvoering van de wet van 24 januari 1977, zouden de strengere straffen dus onmiddellijk in werking treden.
Zo zou een koninklijk besluit dat affiches met tabaksreclame verbiedt, bijvoorbeeld op 31 december 1997 in werking kunnen treden. De straffen waarin artikel 4 van dit ontwerp voorziet, zullen onmiddellijk toegepast kunnen worden bij niet-naleving van dat koninklijk besluit.
Terwille van de duidelijkheid dient de strekking van de uitzondering waarin artikel 6 voorziet, evenwel nader omschreven te worden. Het stelsel met straffen waarin artikel 4 voorziet, mag echter niet worden toegepast op de bepalingen waarvoor de inwerkingtreding van andere artikelen van het wetsontwerp vereist is.
Dit amendement wordt aangenomen met 8 stemmen, bij 4 onthoudingen.
Het wetsontwerp in zijn geheel wordt aangenomen met 7 stemmen tegen 1 stem, bij 4 onthoudingen.
Dit verslag is eenparig goedgekeurd door de 9 aanwezige leden.
| De Rapporteurs,
Francy VAN DER WILDT. Andrée DELCOURT-PÊTRE. |
De Voorzitster,
Lydia MAXIMUS. |
(1) Rombouts, K., Veldman, K., Fauconnier, G., Jong geleerd is oud gedaan Een onderzoek naar de invloed van tabaksreclame op jongeren, KU Leuven, 1987.
(2) Volgens beweringen van de industrie is het percentage jongeren die roken in Frankrijk gestegen sinds het reclameverbod, van 30,5 % in 1994 naar 35 % in 1995. Het reclameverbod ging in op 1 januari 1993. Het percentage jongeren die roken (zowel dagelijks als occasioneel) bedroeg 34 % in 1992, 30,5 % in 1994, 35 % in 1995 en 34 % in 1996. Het betreft hier een enquête met steekproeven van ongeveer 1 000 personen en geen verschil tussen de verschillende enquêteresultaten is statistisch significant. Dat betekent dat het aantal rokers bij jongeren in Frankrijk noch gestegen, noch gedaald is sinds 1992. Het percentage dagelijkse rokers bij jongeren is wel gedaald, maar ook dat verschil is niet significant.
(3) Pieda, De tabaksindustrie in de Europese Gemeenschap, 1990, Edinburgh, 54 blz., 1992.
(4) Fedetab, Jaarverslag 1995, Brussel, 31 blz., 1996.
(5) Van den Panhuyzen W., Over de weldadigheid van hogere accijnzen. Een onderzoek en simulatie van de budgettaire impact en het verminderde rookgedrag uit een accijnsverhoging op tabak, VUB, Brussel, 24 blz., 1995.
(6) KPMG, De economische impact van een verbod op tabakspubliciteit, inclusief sponsoring, studie uitgevoerd in opdracht van het Informatie- en Documentatiecentrum over Tabak, Brussel, 48 blz., 1996.
(8) De Ruyter K., Dalende verkoop : tabak dreigt krantenwinkel te verstikken, De Standaard, blz. 20, 15 maart 1995.
(10) Joossens L., Raw M., Are tobacco subsidies a misuse of public funds ?, British Medical Journal, 312, blz. 832-835, 1996.
(11) Warner K. E., The importance of tobacco to a country's economy, in : Proceedings of the ninth world conference on tobacco and health, Slama K. (Editor), Plenum Press, New York.
(12) Buck D., Godfrey C., Raw M., Sutton M., Tobacco and Jobs. The impact of reducing consumption on employment in the UK, Centre for Health Economics, University of York, 54 blz., 1994.